ГОСТ 28575-90 (СТ СЭВ 6320-88)
ГОСТ 28575-90
СТ СЭВ 6320-88
УДК 620.197:620.193:006.354 Группа Т99
ГОСУДАРСТВЕННЫЙ СТАНДАРТ СОЮЗА ССР
Защита от коррозии в строительстве
Конструкции бетонные и железобетонные
Испытание паропроницаемости
защитных покрытий
Corrosion protection in construction.
Concrete and reinforced concrete constructions.
Test of protection covers from steam penetration
ОКСТУ 5870
Дата введения 1991-01-01
ИНФОРМАЦИОННЫЕ ДАННЫЕ
1. РАЗРАБОТАН И ВНЕСЕН Научно-исследовательским, проектно-конструкторским и технологическим институтом бетона и железобетона Госстроя СССР
РАЗРАБОТЧИКИ
Ф.М. Иванов, д-р техн. наук; Е.А. Гузеев, д-р техн. наук
2. УТВЕРЖДЕН И ВВЕДЕН В ДЕЙСТВИЕ Постановлением Государственного строительного комитета СССР от 10.05.89 № 74
3. Стандарт полностью соответствует СТ СЭВ 6320-88
4. Введен впервые
Настоящий стандарт распространяется на бетонные и железобетонные конструкции и устанавливает методы определения паропроницаемости лакокрасочных, мастичных и оклеечных покрытий на бетонных или железобетонных конструкциях при воздействии водяного пара.
1. Термины и определения
Паропроницаемость защитного покрытия - способность пропускать или задерживать водяной пар в результате разности парциального давления водяного пара при одинаковом атмосферном давлении на обеих сторонах защитного покрытия, характеризуемая величиной коэффициента паропроницаемости или сопротивлением проницаемости при воздействии водяного пара.
2. Сухой метод определения паропроницаемости
2.1. Сущность метода
Метод заключается в определении количества водяного пара, которое проходит через образец с защитным покрытием или без него, путем измерения массы влагопоглощающего вещества и последующего вычисления коэффициента паропроницаемости. В спорных вопросах при определении паропроницаемости этот метод испытания является арбитражным.
2.2. Отбор и подготовка образцов
2.2.1. Образцы для определения паропроницаемости вырезаются из бетонных кубов или цилиндров, подготовленных для испытания на прочность бетона или изготовленных в лабораторных условиях. Для сравнительных испытаний образцы могут быть вырезаны из строительной конструкции.
2.2.2. Размеры образцов для испытания выбирают в зависимости от способа их получения и размера зерен заполнителей по табл. 1.
Таблица 1
мм
|
Способ получения образцов |
Размер зерен |
Размеры образцов |
|
|
|
заполнителя |
Диаметр |
Толщина |
|
Вырезанные из кубов (цилиндров) или изготовленные в лабораторных условиях |
До 5 |
|
20±1,0 |
|
|
От 5 до 25 |
|
30±1,5 |
|
Вырезанные из строительных конструкций |
- |
|
30±1,5 |
2.2.3. Испытуемую поверхность образцов, получаемых из строительной конструкции, оставляют без изменений.
Поверхность образцов, получаемых из бетонных кубов или цилиндров, перед испытанием очищают от цементной пленки и шлифуют плоскопараллельно.
2.2.4. Испытание проводят на пяти образцах с защитным покрытием и на пяти образцах без покрытия. Поверхность образца обеспыливают. Нанесение защитного покрытия выполняют не ранее чем через 28 сут в соответствии с техническими требованиями для применения испытуемого покрытия.
2.2.5. Толщину образца измеряют в пяти точках с помощью штангенциркуля и определяют среднее арифметическое значение.
Толщина образца с защитным покрытием включает в себя и толщину защитного покрытия.
2.2.6. По краю нижней поверхности образца приклеивают резиновое кольцо так, чтобы испытуемая поверхность без защитного покрытия не была запачкана клеем.
2.3. Аппаратура и материалы
Для испытаний применяют:
1) стеклянные или металлические сосуды (черт. 1, табл. 2);
2) круглые
шаблоны диаметром
;
3) шкаф для кондиционирования (изменение температуры в пределах ±2°С);
4) резиновые кольца согласно диаметрам, приведенным в табл. 2;
5) штангенциркуль;
6) весы с погрешностью взвешивания ±1 мг;
7) металлические и волосяные щетки;
8) влагопоглощающее вещество - гранулированный хлористый кальций (обезвоженный) или силикагель (обезвоженный);
9) клей на основе эпоксидной смолы;
10) герметизирующую пасту, состав которой выбирается предпочтительно из следующих вариантов:
макрокристаллический воск - 60% и кристаллически чистый твердый парафин - 40%;
макрокристаллический воск - 90% и пластификатор - 10%;
твердый парафин с точкой плавления от 50 до 52°С - 80% и клейкий полиизобутилен - 20%;
пчелиный воск или парафин - 60% и канифоль - 40%.

1 - влагопоглощающее вещество; 2 - образец; 3 - резиновое кольцо;
4 - герметизирующая паста; 5 - испытуемое покрытие; 6 - сосуд
Черт. 1
Таблица 2
мм
|
|
Диаметр сосуда |
|
|
Диаметр образца |
|
|
|
50 |
50 |
40 |
|
100 |
100 |
90 |
2.4. Проведение испытания
2.4.1. В сосуд закладывают влагопоглощающее вещество по черт. 1, зазор между образцом и стенкой сосуда заполняют герметизирующей пастой. Кольцеобразный край верхней поверхности образца покрывают герметизирующей пастой до размера, соответствующего открытой нижней поверхности образца.
2.4.2.
Подготовленные к испытанию 10 сосудов с образцами взвешивают с
точностью до ±1 мг или ±10 мг в зависимости от размеров
образца и выдерживают в шкафу для кондиционирования при температуре
(20±0,5)°С и относительной влажности воздуха
(80±2)%.
2.4.3. Сосуды с образцами взвешивают каждые 24 ч и определяют количество водяного пара, прошедшего через образцы.
2.4.4. Взвешивания повторяют до тех пор, пока изменение массы за единицу времени не будет постоянным. Насыщение водой влагопоглощающего вещества не должно превышать 5% исходного количества. При насыщении, превышающем 5%, испытание образцов повторяют, причем сосуд наполняют новым количеством влагопоглощающего вещества.
2.4.5. Результаты измерений и взвешивания каждого образца записывают.
2.5. Обработка результатов испытания
2.5.1. По данным отдельных взвешиваний строят график зависимости изменения массы влагопоглощающего вещества от времени (черт. 2). Для определения коэффициента паропроницаемости используют данные взвешиваний после появления постоянного диффузионного потока, что на черт.. 2 изображено в виде прямой линии.

Черт. 2
2.5.2.
Коэффициент паропроницаемости
,
,
вычисляют для каждого образца по формуле
![]()
|
где
|
- |
количество
водяного пара, проходящего через образец за интервал времени от
|
|
|
- |
толщина образца, м; |
|
|
- |
площадь испытуемого образца,м2 ; |
|
|
- |
интервал времени между двумя взвешиваниями, с; |
|
|
- |
разность значений парциального давления водяного пара на образце, Па; |
|
|
- |
парциальное
давление водяного пара в воздухе температурой 20°С и
относительной влажностью
|
![]()
|
|
- |
парциальное
давление водяного пара в воздухе температурой 20°С и
относительной влажностью
|
![]()
![]()
2.5.3. В качестве результата испытаний определяют среднее арифметическое значение отдельных величин:
|
|
- |
среднее
значение
|
|
|
- |
среднее
значение
|
За коэффициенты
паропроницаемости принимают среднее арифметическое (
или
)
результатов четырех определений одной серии испытаний, расхождение
между которыми не превышают 5%. Если не удается получить четыре
значения, то следует повторить все испытания. Значения, отличающиеся
от среднего арифметического более чем на 5%, - исключаются.
2.5.4.
Паропроницаемость
защитного покрытия вычисляют по формуле

2.6. Протокол испытания
Протокол испытания должен содержать следующие данные:
1) наименование предприятия-изготовителя и страны;
2) наименование и марку испытуемого продукта (описание строительной конструкции, из которой были получены образцы, вид защитного покрытия);
3) размеры образцов (диаметр, толщина, испытуемая площадь);
4) технологию и условия нанесения защитного покрытия (температура, относительная влажность воздуха, продолжительность сушки);
5) условия подготовки и проведения испытаний (температура, относительная влажность воздуха);
6) измеренные значения массы влагопоглощающего вещества;
7) отдельные и средние значения результатов испытаний паропроницаемости покрытия;
8) дату и место проведения испытаний;
9) обозначение настоящего стандарта.
3. Мокрый метод испытания паропроницаемости
3.1. Сущность метода
Метод испытания заключается в определении количества водяного пара, пропускаемого образцами с защитным покрытием и без него, или проходящего через нанесенное на стеклоткань защитное покрытие и последующего расчета сопротивления паропроницаемости защитного покрытия.
3.2. Отбор и подготовка образцов
3.2.1. В качестве образцов применяют бетонные диски диаметром (100±1) мм. Толщина и изготовление образцов по п. 2.2.
Для испытания паропроницаемости защитного покрытия не на бетонном основании защитное покрытие наносят на стеклоткань толщиной 0,5 мм, размером ячеек 0,5х0,5 мм.
3.2.2. Испытание проводится согласно п. 2.2.4.
3.3. Аппаратура и материалы
Для испытания применяют:
1) обойму по черт.3;
2) шаблоны
диаметром
;
3) испарительные стаканы с крышкой;
4) резиновые прокладки;
5) металлические кольца;
6) шкаф для кондиционирования (изменение температуры в пределах ±2°С);
7) резиновые кольца согласно диаметрам по табл. 2;
8) штангенциркуль;
9) весы с погрешностью взвешивания ±1 мг;
10) клей на основе эпоксидной смолы;
11) герметизирующую пасту по п. 2.3;
12) дистиллированную воду;
13) нитрат аммония;
14) стеклоткань.

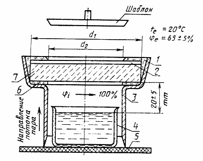
1 - герметизирующая паста; 2 - испытуемое покрытие; 3 - обойма;
4 - испытательный стакан с водой; 5 - резиновый коврик; 6 - резиновое кольцо;
7 - образец
Черт. 3
3.4. Проведение испытания
3.4.1. Подготовку бетонных образцов к испытанию проводят по пп. 2.2.1 и 2.2.2. Образцы вставляют в расширенную часть обоймы и герметизирующей пастой, как указано в п. 2.4.1, заделывают зазоры между образцами и краями обоймы по черт.3.
3.4.2. Для испытания паропроницаемости защитного покрытия, наносимого на стеклоткань, стеклоткань защемляют между двумя металлическими кольцами и вставляют в расширенную часть обоймы. Затем на стеклоткань по п. 2.2.4 наносят защитное покрытие и сушат. Зазоры между обоймой и металлическими кольцами заделывают герметизирующей пастой. При этом испытуемое защитное покрытие следует закрыть шаблоном.
3.4.3.
Подготовленные обоймы с образцами и испытательные стаканы с водой
устанавливают на резиновой подкладке в шкафу для кондиционирования
при температуре (20±0,5)°С и относительной влажности
воздуха
.
Относительную влажность воздуха регулируют с помощью насыщенного раствора нитрата аммония. Принципиальная схема комплектного устройства испытания показана на черт. 3.
3.4.4. Испытательные стаканы с водой взвешивают с закрытой крышкой с точностью до ±1 мг. Взвешивание повторяется каждые 24 ч до тех пор, пока масса не станет постоянной.
3.4.5. Через 10 дней доливают воду в испытательные стаканы и поддерживают уровень в (20±5) мм от нижней поверхности образца.
3.4.6. Испытание защитного покрытия без бетона проводят по п. 3.4.2.
Взвешивание испытательных стаканов начиначают на следующий день.
3.5. Обработка результатов испытания
3.5.1. Для определения сопротивления паропроницаемости используют данные взвешивания, полученные после установившегося постоянного диффузионного потока водяного пара. Для защитных покрытий, нанесенных на стеклоткань, рассчитывают лишь удельное сопротивление паропроницаемости согласно п. 3.5.3.
3.5.2.
Сопротивление паропроницаемости
защитного покрытия вычисляют по формуле:

|
где
|
- |
площадь
испытуемого защитного покрытия,
|
|
|
- |
среднее значение количества водяного пара, проходящего через образец с защитным покрытием за единицу времени, кг/с; |
|
|
- |
среднее значение количества водяного пара, проходящего через образец без защитного покрытия за единицу времени, кг/с; |
|
|
- |
разность парциальных давлений водяного пара на образце, Па; |
|
|
- |
парциальное
давление водяного пара в воздухе температурой 20°С и
относительной влажностью
|
|
|
- |
парциальное
давление водяного пара в воздухе температурой 20°С и
относительной влажностью
|
3.5.3.
Удельное сопротивление паропроницаемости
вычисляют для каждого из 5 образцов на стеклоткани по формуле
![]()
|
где
|
- |
продолжительность прохождения постоянного потока пара, с; |
|
|
- |
общая
масса водяного пара, проходящего через защитное покрытие за время
|
|
|
- |
толщина защитного покрытия, м. |
За
среднее значение количества водяного пара, проходящего через образец
и
,
принимают среднее арифметическое четырех параллельных определений,
расхождения между которыми не превышают 10%.
3.6. Протокол испытания
Протокол испытания должен содержать данные, указанные в п. 2.6, а также:
1)
измеренные значения массы испарившейся воды
и
;
2)
отдельные и средние значения сопротивления паропроницаемости покрытия
или
.
Приложение
Справочное
1. Для изготовления образцов для испытания водопроницаемости приемлема следующая рецептура:
портландцемент 35-400 кг;
плотный естественный заполнитель - 1400 кг;
с гранулометрическим составом, %:
|
от |
0 |
до |
0,20 |
мм |
- |
10; |
|
от |
0,21 |
до |
0,80 |
мм |
- |
20; |
|
от |
0,81 |
до |
2,00 |
мм |
- |
30; |
|
от |
2,01 |
до |
5,00 |
мм |
- |
40; |
водоцементное отношение 0,60.
2. Принципиальная схема аппаратуры для определения водопроницаемости покрытий (черт. 4).

1 - входное отверстие для воды; 2 - манометр; 3 - уплотняющая прокладка (резиновая);
4 - испытываемое покрытие; 5 - цементно-песчаный образец;
6 - металлическое кольцо; 7 - вода; 8 - к баллону со сжатым воздухом
Черт. 4
1. Термины и определения
2. Сухой метод определения паропроницаемости
Черт. 1
Черт. 2
3. Мокрый метод испытания паропроницаемости
Черт. 3
Черт. 4
