ГОСТ 20182-74 (1988)
ГОСТ 20182-74
УДК 624.01:620.17:006.354 Группа Ж39
ГОСУДАРСТВЕННЫЙ СТАНДАРТ СОЮЗА ССР
КОНСТРУКЦИИ АСБЕСТОЦЕМЕНТНЫЕ КЛЕЕНЫЕ
Метод определения прочности
клеевых соединений при сдвиге
Glued asbestos-cement constructions.
Method for determination of glued joints
shear strength
Дата введения 1975-07-01
1. УТВЕРЖДЕН И ВВЕДЕН В ДЕЙСТВИЕ Постановлением Государственного комитета Совета Министров СССР по делам строительства от 30 августа 1974 г. № 190
ПЕРЕИЗДАНИЕ. Ноябрь 1988 г.
Настоящий стандарт распространяется на клеевые соединения асбестоцемента и устанавливает метод определения прочности при сдвиге клеевых соединений плоских листов и плоских листов с профильными (швеллерами).
Применение метода предусматривается в стандартах и технических условиях на продукцию, устанавливающих технические требования к ней.
1. ОБОРУДОВАНИЕ ДЛЯ ИСПЫТАНИЯ
1.1. Для проведения испытания должны применяться:
испытательная машина по ГОСТ 7855-84 или аналогичные машины с точностью измерения величины нагрузки до 1%;
штангенциркуль по ГОСТ 166-80 с точностью измерения до 0,1 мм;
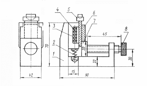
приспособление для испытаний (черт. 1).

1 - корпус; 2 - пружина; 3 - подвижная планка; 4 - ролики; 5 - съемная нажимная призма с шаровой опорой; 6 - образец; 7 - подвижная опора; 8 - прижимной винт
Черт. 1
2. ПОДГОТОВКА ОБРАЗЦОВ К ИСПЫТАНИЮ
2.1. Образцы для испытания изготавливают из асбестоцементных плоских листов по ГОСТ 18124-75, при этом влажность листов, из которых склеивают образцы, не должна превышать 6%.
Примечание. В
случае, если объемная масса асбестоцемента будет менее 1,6 г/см
,
допускается склеивание при влажности не более 10%.
2.2. Для изготовления образцов берут заготовку, которую склеивают специально или выпиливают из готовой продукции по форме и размерам, указанным на черт. 2.

1 - клеевой шов; 2 - пропил
Черт. 2
2.3. Заготовку склеивают по технологии, принятой для данного вида изделий с учетом типа клея.
2.4. Смещение узкой полосы (накладки) при склеивании заготовок не должно превышать 5 мм относительно продольной оси.
2.5. Клеевые подтеки на торцах клеевого шва должны быть зачищены до испытаний.
2.6. Время выдержки образцов от момента склеивания до испытания определяется технологическим регламентом и типом клея.
2.7. Испытание проводят на шести образцах.
3. ПРОВЕДЕНИЕ ИСПЫТАНИЙ
3.1. Подготовленный к испытанию образец устанавливают в приспособление для испытаний, указанное на черт. 1.
Перемещением подвижной опоры обеспечивают прилегание опорных граней образца к соответствующим поверхностям приспособления. Жестко зажимать образец прижимным винтом не разрешается.
3.2. Образец с приспособлением устанавливают в испытательную машину.
Нагрузку на образец передают равномерно, увеличивая ее со скоростью 10 мм/мин.
Нагрузку, при которой произошло разрушение образца, фиксируют.
3.3. Площадь
склеивания измеряют с точностью до 0,1 см
.
3.4. Обе части разрушенного образца подвергают визуальному осмотру для определения характера разрушения:
по клею;
по склеиваемому материалу;
смешанного.
Характер разрушения оценивают в процентах от площади склеивания с точностью до 5 - 10%.
4. ОБРАБОТКА РЕЗУЛЬТАТОВ ИСПЫТАНИЙ
4.1. Прочность
клеевого соединения на сдвиг
вычисляют с точностью до 1 кгс/см
по
формуле
,
где
- максимальная разрушающая нагрузка в кгс;
- площадь
склеивания в кв.см, вычисляемая с точностью до 0,1 кв.см по формуле
,
где
- длина в см;
- ширина в см.
4.2. За величину прочности клеевого соединения принимают среднее арифметическое результатов испытаний образцов, вычисляемое по формуле
,
где
- число испытанных образцов;
- значения
прочности отдельных образцов в кгс/см
.
Кроме среднего арифметического значения прочности образцов, могут определяться статистические показатели - среднее квадратичное отклонение, вариационный коэффициент, показатель точности. Определение этих показателей производится в соответствии с приложением 1 и является факультативным.
4.3. Результаты испытаний записывают в журнал (см. приложение 2).
ПРИЛОЖЕНИЕ 1
Рекомендуемое
ОПРЕДЕЛЕНИЕ СТАТИСТИЧЕСКИХ ПОКАЗАТЕЛЕЙ
1. Среднее
квадратичное отклонение
в кгс/см
,
характеризующее рассеяние экспериментальных данных, определяют по
формуле
,
где
- число испытанных образцов;
- значение
прочности каждого образца в кгс/см
;
- среднее
арифметическое значение прочности в кгс/см
.
2. Вариационный
коэффициент
в процентах определяют по величине среднего квадратичного отклонения
по формуле
![]()
3. Среднюю
ошибку
среднего арифметического определяют по формуле
![]()
4. Показатель
точности испытания
в процентах для доверительной вероятности 0,95 вычисляют по формуле
ПРИЛОЖЕНИЕ 2
Рекомендуемое
ЖУРНАЛ ИСПЫТАНИЯ КЛЕЕВЫХ СОЕДИНЕНИЙ
АСБЕСТОЦЕМЕНТА ПРИ СДВИГЕ
Тип асбестоцемента _______________ Температура воздуха в помещении ________________ °С
Kлей ___________________________ Влажность воздуха _____________________________ %
Изделие ______________________ ___ Влажность асбестоцемента _______________________ %
Режим склеивания:
1.
Расход клея, г/м
__________________________________________
2. Время открытой выдержки, мин ______________________________
3. Время закрытой выдержки, мин ______________________________
4. Температура склеивания, °С _________________________________
5. Время выдержки под давлением, ч ____________________________
6.
Величина удельного давления, кгс/см
________________________
7. Дополнительные сведения ___________________________________
Таблица испытаний
|
Номер образца |
Длина
|
Ширина
|
Площадь
склеивания |
Разрушающая нагрузка, кгс |
Показатель
прочности, кгс/см |
Среднее
значение показателя прочности, кгс/см |
Характер разрушения |
Примечание |
|
|
|
|
|
|
|
|
|
|
Дата Личная Расшифровка
подпись подписи
