ГОСТ 21.602-79 (с изм. 1 1981)
УДК 744:697:002:006.354 Группа Ж01
ГОСУДАРСТВЕННЫЙ СТАНДАРТ СОЮЗА ССР
СИСТЕМА ПРОЕКТНОЙ ДОКУМЕНТАЦИИ ДЛЯ СТРОИТЕЛЬСТВА
ОТОПЛЕНИЕ, ВЕНТИЛЯЦИЯ И КОНДИЦИОНИРОВАНИЕ ВОЗДУХА
РАБОЧИЕ ЧЕРТЕЖИ
ГОСТ 2 1.602-79
System of design documents for construction. Heating, ventilation and air conditioning. Working drawings
Постановлением Государственного комитета СССР по делам строительства от 31 июля 1979 г. № 136 срок введения установлен
с 01.01. 1981 г.
РАЗРАБОТАН
Государственным комитетом СССР по делам строительства
Государственным комитетом по гражданскому строительству и архитектуре при Госстрое ССсР
Министерством монтажных и специальных строительных работ СССР
ИСПОЛНИТЕЛИ
И. М. Голик (руководитель темы), Е. П. Агафонов, В. П. Абарыков, Н. В. Терентьева, В. Н. Семенов, А. А. Сухова, П. И. Тумаркин
ВНЕСЕН Государственным комитетом СССР по делам строительства
Начальник отдела В. А. Алексеев
УТВЕРЖДЕН И ВВЕДЕН В ДЕЙСТВИЕ Постановлением Государственного комитета СССР по делам строительства от 31 июля 1979 г. № 136
Изменение № 1 ГОСТ 21.602—79 Система проектной документации для строительства. Отопление, вентиляция и кондиционирование воздуха. Рабочие чертежи.
Постановлением Государственного комитета СССР по делам строительства от 12.09.80 № 143 срок введения установлен
с 01.01.81
Пункт 1.2 дополнить новым абзацем:
“ведомость потребности в материалах для систем”.
Раздел 2 дополнить новым пунктом ¾ 2.6:
“2.6. Ведомость потребности в материалах для систем составляют по ГОСТ 21.109 ¾ 80”.
(ИУС № 1 1981 г.)
Настоящий стандарт устанавливает состав и правила выполнения рабочих чертежей отопления, вентиляции и кондиционирования воздуха зданий и сооружений всех отраслей промышленности и народного хозяйства.
1. ОБЩИЕ ТРЕБОВАНИЯ
1.1. Рабочие чертежи отопления, вентиляции и кондиционирования воздуха выполняют в соответствии с требованиями настоящего стандарта и других стандартов СПДС.
1.2. В рабочие чертежи отопления, вентиляции и кондиционирования воздуха включают:
основной комплект рабочих чертежей марки ОВ;
чертежи общих видов нестандартных (нетиповых) конструкций систем отопления, вентиляции и кондиционирования воздуха (далее именуемых системами).
1.3. В состав основного комплекта рабочих чертежей марки ОВ включают:
общие данные;
чертежи (планы, разрезы и схемы) систем;
чертежи (планы и разрезы) установок систем.
В состав основного комплекта рабочих чертежей марки ОВ допускается включать также рабочие чертежи тепловых пунктов при диаметре ввода теплоносителя до 150 мм.
1.4. Каждой системе присваивают обозначение, состоящее из марки (табл. 1) и порядкового номера системы в пределах марки (например, П1, П2). Установкам систем присваивают те же обозначения, что и системам, в которые они входят.
Таблица 1
|
Наименование систем и установок систем |
Марка |
|
С механическим побуждением: |
|
|
приточные системы, установки систем |
П |
|
вытяжные системы, установки систем |
В |
|
воздушные завесы |
У |
|
агрегаты отопительные |
А |
|
С естественным побуждением: |
|
|
приточные системы |
ПЕ |
|
вытяжные системы |
BE |
1.5. Элементам систем отопления присваивают обозначения, состоящие из марки (табл. 2) и порядкового номера элемента в пределах марки (например, Ст1, Ст2, К1, К2).
Таблица 2
|
Наименование элемента |
Марка |
|
Стояк системы отопления |
Ст |
|
Главный стояк системы отопления |
ГСт |
|
Компенсатор |
К |
|
Горизонтальная ветвь |
ГВ |
Допускается индексация стояков систем отопления прописными буквами в пределах обозначения стояка (например, Ст2А, Ст2Б).
1.6. Лючки для замеров параметров воздуха обозначают маркой ЛП, лючки для чистки воздуховодов — маркой ЛВ.
1.7. Обозначение диаметра трубопровода или воздуховода наносят на полке линии-выноски.
В том случае, когда на полке линии-выноски наносят буквенно-цифровое обозначение трубопровода, диаметр трубопровода указывают под полкой линии-выноски (черт. 1а ).
Для трубопроводов из стальных водогазопроводных труб указывают диаметр условного прохода (черт. 1б ).
Для трубопроводов из стальных электросварных и других труб указывают наружный диаметр и толщину стенки (черт. 1в ).
В обозначении сечения прямоугольных воздуховодов (кроме вертикально расположенных), первой цифрой указывают его ширину, второй — высоту.

Черт. 1
2. ОБЩИЕ ДАННЫЕ
2.1. В состав общих данных по рабочим чертежам марки ОВ в дополнение к данным, предусмотренным ГОСТ 21.102—79, включают:
план-схему размещения установок систем;
характеристику систем;
спецификацию систем.
2.2. План-схему размещения установок систем выполняют в масштабе 1:400 или 1:800.
На план-схеме размещения установок систем наносят:
контур здания (сооружения);
координационные оси здания (сооружения) и общие размеры между крайними координационными осями;
установки систем;
ввод теплоносителя;
тепловой пункт.
Установки систем на план-схеме изображают точками диаметром 1 — 2 мм с указанием на полке линии-выноски обозначения установки и под полкой — номера листа, на котором приведен чертеж установки.
Наименование план-схемы размещения установок систем указывают сокращенно “План-схема”.
Пример оформления план-схемы размещения установок систем приведен на черт. 2.
План - схема

Черт. 2
2.3. Характеристику систем выполняют в виде таблицы по форме 1.
Форма 1
Характеристика отопительно-вентиляционных систем

Продолжение формы 1

Продолжение формы 1

При отсутствии в системах отдельных видов оборудования, соответствующие графы из таблицы исключают.
Если таблицу делят на части, то в начале каждой последующей части помещают графу “Обозначение системы”. В типовых проектах характеристику воздухонагревателей указывают для принятых проектом расчетных температур наружного воздуха.
2.4. В общих указаниях, которые входят в состав общих данных по рабочим чертежам марки ОВ, в дополнение к сведениям, предусмотренным ГОСТ 21.102—79, приводят:
основные показатели по рабочим чертежам марки ОВ, выполненные в виде таблицы по форме 2;
расчетные параметры наружного и внутреннего воздуха;
данные о теплоносителе, холодоносителе (наименование, расход, параметры);
ссылки на Строительные нормы и правила (СНиП) и другие нормативные документы, по которым произведен расчет систем отопления, вентиляции и кондиционирования воздуха;
требования к изготовлению, монтажу, окраске и тепловой изоляции воздуховодов и трубопроводов;
особые требования к установкам систем (например, взрывобезопасность, кислотостойкость).
Форма 2
Основные показатели по чертежам отопления и вентиляции

2.5. Спецификацию систем составляют по форме 1 или 2 ГОСТ 21.104— 79.
При наличии пристроенной к производственному зданию (сооружению) части или встройки (вставки), в которых размещаются вспомогательные помещения, спецификацию составляют по разделам:
производственная часть;
вспомогательная часть.
Если жилое здание имеет пристройку или встройку, в которых размещаются предприятия общественного обслуживания, то спецификацию составляют по разделам:
жилая часть;
пристроенная (встроенная) часть.
Каждый раздел делят на подразделы:
отопление (для жилых зданий — отопление ниже отметки 0,000 и отопление выше отметки 0,000);
теплоснабжение установок систем;
вентиляция или вентиляция и кондиционирование воздуха (при наличии последнего).
Элементы систем и материалы записывают по группам:
в подразделах “Отопление” и “Теплоснабжение установок систем”:
отопительное оборудование;
арматура;
другие элементы систем;
трубопроводы по каждому диаметру;
материалы;
в подразделе “Вентиляция” (“Вентиляция и кондиционирование воздуха”):
вентиляционное оборудование;
другие элементы систем;
воздуховоды по каждому диаметру (сечению);
материалы.
В спецификации принимают следующие единицы измерений:
трубопроводы и воздуховоды — м;
радиаторы — экм/секций (или блоков);
конвекторы — экм/шт.;
ребристые трубы с указанием длины трубы — экм/шт.;
регистры из гладких труб с указанием количества труб в регистре и длины регистра или обозначения (марки) — экм/шт.;
другие элементы систем — шт.;
материалы изоляционные — м 3 ;
материалы покрытий и защиты — м 2 ;
другие материалы — кг.
Пример оформления спецификации систем приведен на черт. 3.
Спецификация систем отопления и вентиляции

* Обозначение технических условий, допускается указывать наименование завода-изготовителя.
Черт. 3
3. ЧЕРТЕЖИ СИСТЕМ
3.1. Планы и разрезы систем
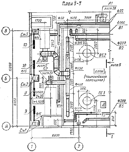
3.1.1. Планы и разрезы систем выполняют в масштабе 1:100 или 1:200, фрагменты планов и разрезов — в масштабе 1:50, узлы систем — в масштабе 1:20 или 1:50, при детальном изображении узлов — в масштабе 1:2, 1:5 или 1:10. При небольших зданиях, когда выполнение фрагментов нецелесообразно, для планов и разрезов систем принимают масштаб 1:50.
3.1.2. Планы и разрезы систем отопления, как правило, совмещают с планами и разрезами систем вентиляции и кондиционирования воздуха.
3.1.3. Дефлекторы, крышные вентиляторы и другие элементы систем, расположенные на кровле здания, как правило, изображают утолщенной штрих-пунктирной линией (наложенная проекция) на плане систем одноэтажного здания или верхнего этажа многоэтажного здания.
3.1.4. При сложном многоярусном расположении воздуховодов и других элементов систем вентиляции и кондиционирования воздуха в одном этаже, для наглядности их взаимосвязей, выполняют планы на различных уровнях в пределах этажа.
3.1.5. Трубопроводы, расположенные друг над другом, на планах систем условно изображают параллельными линиями.
3.1.6. Элементы систем отопления и теплоснабжения установок, кроме оборудования, на планах в разрезах систем указывают условными графическими обозначениями, элементы систем вентиляции и кондиционирования воздуха, а также оборудование систем отопления и теплоснабжения установок систем (например, отопительные агрегаты, насосы) — в виде упрощенных графических изображений.
Трубопровод диаметром более 100 мм на фрагментах и узлах изображают двумя линиями.
3.1.7. На планах и разрезах систем указывают:
координационные оси здания (сооружения) и расстояния между ними (для жилых зданий — расстояния между осями секций);
строительные конструкции и технологическое оборудование, имеющее местные отсосы, а также влияющее на прокладку воздуховодов;
отметки чистых полов этажей и основных площадок;
размерные привязки установок систем, воздуховодов, основных трубопроводов, технологического оборудования, неподвижных опор и компенсаторов к координационным осям или элементам конструкций;
диаметры (сечения) воздуховодов и трубопроводов;
количество секций радиаторов, количество и длину ребристых труб, количество труб в регистре и длину регистра из гладких труб, а также аналогичные сведения по другим нагревательным приборам;
обозначения стояков систем отопления.
На планах, кроме того, указывают наименования помещений (типы помещений — для жилых зданий) и категорию производств по взрывной, взрывопожарной и пожарной опасности (в прямоугольнике размером 5 ´ 8 мм), а на разрезах — отметки уровней осей трубопроводов и круглых воздуховодов, низа прямоугольных воздуховодов, опорных конструкций установок, верха выхлопных воздуховодов вытяжных систем. Допускается наименования помещений и категорию производств по взрывной, взрывопожарной и пожарной опасности приводить в экспликации помещений.
В типовых проектах зданий (сооружений) для двух и более расчетных температур наружного воздуха и (или) для двух и более этажей, номер этажа, расчетную температуру наружного воздуха, данные о нагревательных приборах, указанных на плане, приводят в таблице (черт. 4).
Для одного этажа

Для двух и более этажей

Черт. 4
При наличии на чертеже нескольких таблиц допускается наименование граф приводить только на одной из них (черт. 5).

Черт. 5
В типовых проектах зданий (сооружений) для двух и более расчетных температур наружного воздуха диаметры трубопроводов, при необходимости, указывают в таблице. При наличии на чертеже нескольких таблиц допускается наименование граф приводить только на одной из них, а также исключать отдельные графы повторяющихся показателей (черт. 6).

Черт. 6
На чертеже планов систем помещают таблицу местных отсосов от технологического оборудования по форме 3. Допускается таблицу местных отсосов приводить на отдельных листах.
Форма 3
Местные отсосы от технологического оборудования

Продолжение формы 3

3.1.8. В наименовании планов указывают отметку чистого пола этажа или номер этажа, например: “План на отм. 6,000”, “План 2 — 9 этажей”, а в наименовании разрезов — их порядковый номер, например: “Разрез 1—1”.
При выполнении двух или более планов на разных уровнях в пределах этажа в наименованиях планов указывают обозначение плоскости горизонтального разреза систем, например: “План 2—2”.
При выполнении части плана систем в наименовании указывают оси, ограничивающие эту часть плана, например: “План на отм. 0,000 между осями 1—8 и А—Д”.
Примеры оформления планов систем приведены на черт. 7 и 8, разреза — на черт. 9.

Черт. 7

Черт. 8

Черт. 9
3.2. Схемы систем
3.2.1. Схемы систем выполняют в аксонометрической фронтальной изометрической проекции в масштабе 1:100 или 1:200, узлы схем — в масштабе 1:10, 1:20 или 1:50. При небольших зданиях для схем систем принимают масштаб 1:50.
3.2.2. На схемах элементы систем показывают условными графическими обозначениями.
3.2.3. При большой протяженности и (или) сложном расположении воздуховодов и трубопроводов допускается изображать их с разрывом в виде пунктирной линии. Места разрывов воздуховодов и трубопроводов обозначают строчными буквами.
3.2.4. На схемах систем отопления указывают:
трубопроводы и их диаметры;
отметки уровня осей трубопроводов;
уклоны трубопроводов;
размеры горизонтальных участков трубопроводов (при наличии разрывов);
неподвижные опоры, компенсаторы и нетиповые крепления с указанием на полке линии-выноски обозначения элемента и под полкой обозначения документа;
запорно-регулирующую арматуру;
стояки систем отопления и их обозначения;
нагревательные приборы;
контрольно-измерительные приборы и другие элементы систем.
Примеры оформления схем систем отопления и теплоснабжения установок показаны на черт. 10 и 11.

Черт. 10

Черт. 11
3.2.5. Для жилых зданий допускается выполнять схемы систем отопления только на подземную часть здания. Для надземной части здания выполняют схемы стояков и, при необходимости, схему разводки по чердаку.
3.2.6. На листе, где изображены схемы систем отопления и теплоснабжения установок, как правило, приводят:
схемы узлов управления системами отопления и теплоснабжения установок (черт. 12);
таблицу размеров компенсаторов по форме 4;
узлы схем систем отопления и теплоснабжения установок (черт. 13).

Черт. 12
Форма 4
Размеры компенсаторов, мм


Черт. 13
В наименованиях узлов управления указывают номер узла, например: “Узел управления 1”. Допускается к схеме узла управления выполнять спецификацию узла .
На узлах схем систем отопления и теплоснабжения установок систем для запорно-регулирующей арматуры указывают на полке линии-выноски диаметр арматуры и под полкой—обозначение арматуры по каталогу. Допускается приводить обозначение запорно-регулирующей арматуры на схемах систем отопления и теплоснабжения установок.
3.2.7. На схемах систем вентиляции и кондиционирования воздуха указывают:
воздуховоды, их диаметры (сечения) и количество проходящего воздуха в м 3 /ч (черт. 14);
отметки уровня оси круглых и низа прямоугольных воздуховодов;
оборудование вентиляционных установок;
контуры технологического оборудования, имеющего местные отсосы (в сложных случаях);
лючки для замеров параметров воздуха и чистки воздуховодов, марки лючков и обозначение документа (черт. 15);
местные отсосы, их обозначения и обозначения документов.

Черт. 14

Черт. 15
Для встроенных (поставляемых комплектно с технологическим оборудованием) местных отсосов обозначение его и документа не указывают;
регулирующие устройства, воздухораспределители, нетиповые крепления (опоры) и другие элементы систем с указанием на полке линии-выноски обозначения элемента системы и под полкой — обозначения документа.
Примеры оформления схем систем вентиляции показаны на черт. 16 и 17.

Черт. 16

Черт. 17
3.2.8. В наименовании схемы системы отопления, для двух и более систем в здании, указывают номер системы.
В наименовании схемы системы теплоснабжения установок указывают обозначения установок.
В основной надписи наименование схем систем отопления и теплоснабжения установок указывают полностью, например: “Схема системы отопления 1”, “Схема системы теплоснабжения установок П1, П2, А1, А2”, над схемами — сокращенно, например: “Система отопления 1”, “Система теплоснабжения установок П1, П2, А1, А2”.
3.2.9. В наименованиях схем систем вентиляции и кондиционирования воздуха указывают обозначения систем.
В основной надписи наименования схем систем вентиляции и кондиционирования воздуха указывают полностью, например: “Схемы систем П5, В8”, над схемами — сокращенно, например: “П5”, “В8”.
4. ЧЕРТЕЖИ УСТАНОВОК СИСТЕМ
4.1. Планы и разрезы установок систем выполняют в масштабе 1:50 или 1:100, узлы установок — в масштабе 1:20, при детальном изображении узлов — в масштабе 1:2, 1:5 или 1:10.
4.2. На планах и разрезах установок систем элементы установок изображают упрощенно.
При необходимости показа способов крепления составных частей установки или их соединения между собой соответствующие элементы изображают детально.
4.3. На планах и разрезах установок систем указывают :
координационные оси здания (сооружения) и расстояния между ними;
основные размеры, отметки и привязки установок к координационным осям здания (сооружения).
4.4. Воздуховоды на планах установок изображают утолщенными штрих-пунктирными линиями, на разрезах — основными сплошными линиями.
Трубопровод обвязки воздухоохладителя изображают одной линией при диаметре трубопровода до 100 мм и двумя линиями — при диаметре более 100 мм.
4.5. На планах и разрезах, кроме элементов установок, указывают строительные конструкции и отборные устройства для установки контрольно-измерительных приборов.
Примеры оформления планов и разрезов установок систем показаны на черт. 18 и 19.

Черт. 18

Черт. 19
4.6. Элементам установок систем присваивают позиционные обозначения, состоящие из обозначения установки, указанного в п. 1.4, и порядкового номера элемента в пределах установки, например: “П1.1”, “П1.2”, “В5.1”, “В5.2”.
4.7. Спецификацию установок систем помещают, как правило, на чертеже планов установок.
Пример оформления спецификации установок систем приведен на черт. 20.
4.8. На чертежах установок систем приводят, при необходимости, технические требования к монтажу установок.
4.9. В наименованиях установок систем указывают обозначения установок.
В основной надписи наименование установок указывают полностью, например: “Установки систем П1, В1”.
Спецификация отопительно-вентиляционных установок

* Обозначение технических условий, допускается указывать наименование завода-изготовителя.
Черт. 20
5. ЧЕРТЕЖИ ОБЩИХ ВИДОВ НЕСТАНДАРТНЫХ (НЕТИПОВЫХ) КОНСТРУКЦИЙ СИСТЕМ
5.1. Чертежи общих видов нестандартных (нетиповых) конструкций систем выполняют в объеме, необходимом для разработки конструкторской документации на стадии технического задания по ГОСТ 2.103—68.
5.2. Чертеж общего вида нестандартной (нетиповой) конструкции должен содержать:
изображения конструкции (виды, разрезы, сечения), текстовые указания и надписи, необходимые для понимания устройства конструкции;
наименования составных частей конструкции (при необходимости);
размеры и другие наносимые на изображении данные;
схему, если она требуется.
5.3. Изображения нестандартной (нетиповой) конструкции выполняют с максимальными упрощениями.
5.4. Наименования составных частей нестандартной (нетиповой) конструкции на чертеже общего вида указывают на полках линий-выносок.
5.5. В текстовых указаниях, помещаемых на чертеже общего вида нестандартной (нетиповой) конструкции, приводят исходные данные, необходимые для разработки технического задания (технические требования к разрабатываемой конструкции и применяемым материалам, данные о рабочей среде, нагрузки на конструкцию, требования к изготовлению, монтажу и окраске, особые требования к конструкции — взрывобезопасность, кислотостойкость и др.).
5.6. Чертежи общих видов нестандартных (нетиповых) конструкций систем выполняют в масштабе 1:5, 1:10, 1:20 или 1:50.
5.7. В основной надписи чертежа общего вида наименование нестандартной (нетиповой) конструкции должно соответствовать принятой терминологии и быть по возможности кратким. В наименованиях нестандартных (нетиповых) конструкций указывают порядковый номер конструкции в пределах каждого вида конструкции, например: “Отсос 1”, “Отсос 2”, “Воздухораспределитель 1”.
Пример оформления чертежа общего вида нестандартной (нетиповой) конструкции приведен на черт. 21.

Черт. 21
