ГОСТ 530-95, часть 2
7.6 На поддонах изделия должны быть уложены в "елку" или "на плашок" и "на ребро" с перекрестной перевязкой. Масса одного пакета должна быть не более 0,85 т.
7.7 Пакеты кирпича, уложенные с перекрестной перевязкой, должны быть упакованы металлической лентой по ГОСТ 3560 или термоусадочной пленкой по ГОСТ 25951, или растягивающейся пленкой по ГОСТ 10354.
7.8 Изделия должны храниться пакетами на поддонах по ГОСТ 18343 раздельно по маркам и видам в сплошных одноленточных штабелях в один ярус. Допускается установка пакета друг на друга не выше двух ярусов.
7.9 Допускается хранение изделий на ровных площадках с твердым покрытием в одноленточных штабелях пакетами без поддонов.
ПРИЛОЖЕНИЕ А
(рекомендуемое)
РЕКОМЕНДУЕМЫЕ ФОРМЫ
И РАЗМЕРЫ ЭКСТРУЗИОННЫХ ИЗДЕЛИЙ

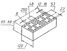
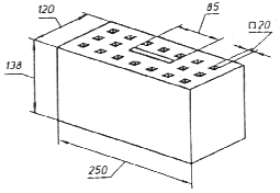
Рисунок А1 — Кирпич с 19 пустотами Рисунок А2 — Кирпич с 32 пустотами
(пустотность 13 %) (пустотность 22 %)

Рисунок А3 — Кирпич с 21 пустотами (пустотность 34 %, 45 %)

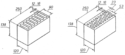
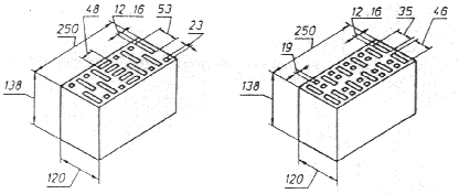
Рисунок А4 — Кирпич с 18 пустотами Рисунок А5 — Кирпич с 28 пустотами
(пустотность 29 %, 38 %) (пустотность 32 %, 42 %)

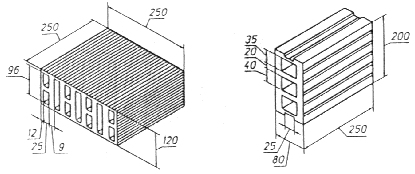
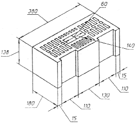
Рисунок А6 — Камень с 7 пустотами Рисунок А7 — Камень с 18 пустотами
(пустотность 25 %, 33 %) (пустотность 27 %, 36 %)

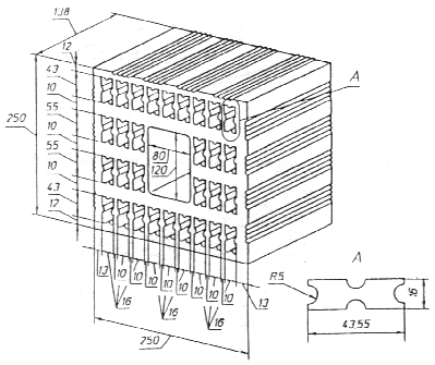
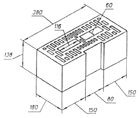
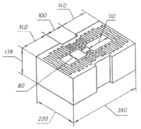
Рисунок А8 — Камень с 21 пустотами Рисунок А9 — Камень с 28 пустотами
(пустотность 34 %. 45 %) (пустотность 32 %, 42 %)
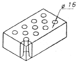
КИРПИЧ ПРЕССОВАННЫЙ

Рисунок А10 — Кирпич с 8 несквозными отверстиями
(пустотность 11 %)

Рисунок А11 — Кирпич с 3 сквозными отверстиями
(пустотность 2,25 %)

Рисунок А12 — Кирпич с 8 сквозными отверстиями
(пустотность 6 %)

Рисунок А13 — Кирпич с 11 сквозными отверстиями
(пустотность 8,2 %_

Рисунок А14 — Кирпич с 17 сквозными отверстиями
(пустотность 12,7 %)
КИРПИЧ И КАМНИ ЭКСТРУЗИОННЫЕ

Рисунок А15 — Кирпич с 6 Рисунок А16 — Кирпич с 6
горизонтальными пустотами горизонтальными пустотами

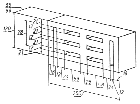
Рисунок А17 — Камень с 11 Рисунок А18 — Камень с 3
горизонтальными пустотами горизонтальными пустотами

Рисунок А19 — Камень с 30 пустотами и пустотой для захвата
при кладке (пустотность 45 %)

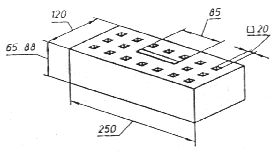
Рисунок А20 — Кирпич с 8 пустотами
(пустотность 20 %)

Рисунок А21 — Кирпич с квадратными пустотами
(пустотность 33 %)

Рисунок А22 — Камень с квадратными пустотами
(пустотность 33 %)
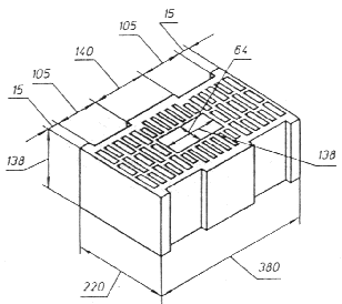
КАМНИ УКРУПНЕННЫЕ ДЛЯ КЛАДКИ
ТОЛЩИНОЙ В ОДИН КАМЕНЬ

Рисунок А23 — Камень с пустотностью 45 %

Рисунок А24 — Камень с пустотностью 55 %
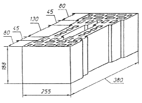
КАМНИ УКРУПНЕННЫЕ ДЛЯ КЛАДКИ
СТЕН ТОЛЩИНОЙ В ОДИН КАМЕНЬ

Рисунок А25 — Камень с пустотностью 45 %

Рисунок А26 — Камень с пустотностью 55 %

Рисунок А27 — Камень с пустотностью 55 %
ПРИЛОЖЕНИЕ Б
(информационное)
БИБЛИОГРАФИЯ
[1] Временные критерии для организации ² Ограничения облучения населения
контроля и принятия решения от природных источников ионизирующего излучения ² . М. 1991.
Утверждены Главным Государственным санитарным врачом СССР
А. И. Кондрусевым 10 июля 1991 г. № 5789—91
