Отопление и вентиляция жилых зданий (к СНиП 2.08.01-89), часть 2
в) отопление мусоросборных камер предусматривать, как правило, змеевиками из гладких труб, присоединяемыми к системе отопления по проточной схеме, с установкой запорной арматуры на обеих подводках. Расчетную температуру воздуха в мусоросборной камере принимать 15 °С;
г) неучтенные потери циркуляционного давления в системе отопления принимать равными 25 % максимальных потерь давления;
д) при установке в системах отопления подмешивающих насосов предусматривать резервный насос;
е) в системах отопления жилых зданий с числом этажей 3 и более на каждом стояке предусматривать запорную арматуру для их отключения и спускные краны со штуцером для опорожнения;
ж) прокладывать стояки в местах пересечения перекрытий с использованием гильз;
з) для стояков и подводок к отопительным приборам применять стальные обыкновенные трубы по ГОСТ 3262—75*.
Все изложенное направлено на повышение надежности систем отопления, сооружаемых в Северной строительно-климатической зоне и отражает опыт натурных обследований.
4. ВЕНТИЛЯЦИЯ
4.1. В массовом жилищном строительстве принята следующая схема вентилирования квартир: отработанный воздух удаляется непосредственно из зоны его наибольшего загрязнения, т. е. из кухни и санитарных помещений, посредством естественной вытяжной канальной вентиляции. Его замещение происходит за счет наружного воздуха, поступающего через неплотности наружных ограждений (главным образом оконного заполнения) всех помещений квартиры и нагреваемого системой отопления. Таким образом обеспечивается воздухообмен во всем ее объеме.
При посемейном заселении квартир, на которое ориентировано современное жилищное строительство, внутриквартирные двери, как правило, открыты или имеют подрезку дверного полотна, уменьшающую их аэродинамическое сопротивление в закрытом положении. Так, например, щель под дверями ванной и уборной должна быть не менее 0,02 м высотой.
Квартира рассматривается в качестве единого воздушного объема с одинаковым давлением.
Нормирование воздухообмена производят исходя из минимально необходимого по гигиеническим требованиям количества наружного воздуха на одного человека (примерно 30 м3 /ч) и к площади пола относят условно. Возрастание нормы заселения, равно как и увеличение высоты помещений, с указанным количеством воздуха не связано.
Удалять воздух непосредственно из комнат в многокомнатных квартирах не рекомендуется, так как при этом нарушается схема направленного движения воздуха в квартире.
4.2. СНиП “Жилые здания” регламентирует двоякий подход к расчетному воздухообмену: жилых комнат — 3 м3 /ч на 1 м2 пола; кухонь и санузлов — от 110 до 140 м3 /ч (в зависимости от типа кухонных плит). Первая из этих величин учитывается в тепловом балансе (см. разд. 2), вторая — при расчете вентиляционных блоков. Различие в подходе к нормированию не имеет физического обоснования. В связи с этим рекомендуется: для квартир с жилой площадью менее 37 м2 (при электроплитах) и 47 м2 (при газовых плитах) производительность вытяжной вентиляции принимать исходя из нормы санузлов и кухонь; для квартир с жилой площадью 37(47) м2 и более — по санитарной норме для жилых комнат. Приведенные площади квартир определены из условий равенства воздухообмена по санитарной норме и норме для кухонь и санузлов.
4.3. Под расчетным воздухообменом (п. 4.2) следует понимать возмещение удаляемого из квартир воздуха наружным в нормативном объеме. При оценке величины воздухообмена квартиры не следует учитывать количество воздуха, поступившего из других помещений (лестничной клетки, смежных квартир).
4.4. В соответствии с п. 4.22 СНиП 2.04.05—86 расчетными, т. е. наихудшими, для естественной вытяжной вентиляции являются условия: температура наружного воздуха +5°С, безветрие, температура внутреннего воздуха помещений +18 (+20)°С, окна открыты. При этих условиях рассчитывается пропускная способность вентблоков. При понижении температуры наружного воздуха и ветре окна закрывают, после чего располагаемое для системы вентиляции давление расходуется на преодоление сопротивления двух элементов: оконного заполнения и вытяжной вентиляционной сети. Таким образом, воздухообмен в квартире является функцией сопротивления воздухопроницанию наружных ограждений и погодных условий. С учетом изменения располагаемого давления в течение отопительного сезона (в 10—15 раз) и тенденции к максимальному сокращению воздухопроницаемости окон (для уменьшения перерасхода теплоты при низких температурах наружного воздуха) необходим переход от неорганизованной переменной инфильтрации (как во времени для одного помещения, так и для здания по высоте и ориентации фасадов относительно направления ветра) к организованному регулируемому притоку наружного воздуха с помощью специальных устройств.
Производительность вытяжной вентиляции в теплый период года не нормируется в связи с возможностью осуществления воздухообмена через открытые окна.
Потребитель должен иметь возможность изменять воздухопроницаемость окон, следуя за изменением метеорологических условий и ориентируясь при этом на свои теплоощущения, однако, известные элементы стандартных окон (форточки, узкие створки) не обеспечивают из-за сложности плавного регулирования их открывания нормируемого притока. Поступающий через них наружный воздух создает дискомфорт в рабочей зоне помещений (ощущение дутья). Указанные элементы могут использоваться для залпового проветривания, но не пригодны в качестве постоянно действующих приточных устройств, обеспечивающих нормативный воздухообмен квартир.
4.5. Для осуществления организованного притока наружного воздуха в помещениях жилых зданий рекомендуется применять регулируемые приточные устройства. Они должны отвечать следующим требованиям:
отсутствие дискомфорта по температуре и подвижности воздуха в зоне обитания;
герметичность клапана устройства в закрытом положении;
термическое сопротивление клапана приточного устройства — не менее термического сопротивления оконного заполнения;
возможность плавного регулирования во всем диапазоне — от полностью открытого до полностью закрытого положения;
эстетичность.
4.6. Приточные устройства в качестве одного из возможных вариантов рекомендуется выполнять в виде горизонтальной щели шириной 15 мм в верхней части оконной коробки с клапаном на нижнем подвесе (рис. 1). При этом поток наружного воздуха с помощью клапана и под действием конвективного потока от отопительного прибора под окном отклоняется на потолок помещения, опускаясь в зону обитания, как правило, на некотором расстоянии от окна, с параметрами, близкими к параметрам внутреннего воздуха. Длина приточного устройства на 200 мм меньше длины оконного блока (по 100 мм с каждой стороны). Посередине в щели (при ее длине более 1000 мм) выполняется проставка шириной 40 мм.


Рис. 1. Регулируемое приточное устройство
Клапан имеет уплотняющую прокладку толщиной 10 мм из пенополиуретана или пенорезины и перекрывает щель на 15 мм с каждой стороны.
Клапан оснащается простейшим запорно-регулирующим устройством с дистанционным управлением, обеспечивающим плавное регулирование его положения и запирание.
Описанные приточные устройства проверены в экспериментальном строительстве в I , II и III климатических районах и получили одобрение гигиенистов (ИОКГ им. А. Н. Сысина).
ЦНИИЭП инженерного оборудования разрабатывает рабочую документацию приточных устройств применительно к окнам различной конструкции и оказывает научно-техническую помощь при их внедрении.
4.7. Стимулом для потребительского регулирования приточных устройств является индивидуальное восприятие воздушно-теплового комфорта в пределах нормативного отпуска теплоты. Регулирование воздухообмена по температуре внутреннего воздуха предоставляет потребителю широкие возможности для поддержания желаемого уровня воздушно-теплового комфорта в зависимости от конкретного режима эксплуатации квартиры.
4.8. Вытяжная вентиляция с естественным побуждением выполняется, как правило, в соответствии со схемами, рис. 2. Преимущественной является схема, показанная справа. При этом каждая квартира соединяется со сборным вытяжным каналом посредством попутчика.

Рис. 2. Возможные схемы естественной канальной вытяжной вентиляции
Вентиляционная сеть образуется из унифицированных по высоте здания поэтажных блоков.
4.9. Выпуск воздуха в атмосферу осуществляется:
а) при холодном чердаке через вытяжные шахты, завершающие каждую вертикаль вентблоков и проходящие транзитом через чердачное помещение.
Применение сборных горизонтальных коробов на холодном чердаке неизбежно сопряжено с повышением сопротивления общего участка вентиляционной сети и, как правило, приводит к периодическим нарушениям циркуляции воздуха в системе;
б) при теплом чердаке через общую вытяжную шахту, одну на секцию дома, размещаемую в центральной части соответствующей секции чердака. При этом воздух из вентканалов всех квартир поступает в объем чердака через оголовки в виде диффузора.
При расчете и устройстве теплого чердака и сборной вытяжной шахты следует пользоваться Рекомендациями по проектированию железобетонных крыш с теплым чердаком для многоэтажных жилых зданий/ЦНИИЭП жилища.— 1986.
Выделять в оголовке обособленный канал для верхнего этажа не рекомендуется, так как при этом исключается эжекция воздуха из попутчиков верхних этажей.
4.10. При конструировании вентблоков рекомендуется:
стремиться к минимальному количеству вытяжных каналов (как правило, сборный — один, попутчики минимальной длины, но не менее 2 м);
обеспечить стабильность геометрии отдельных узлов в процессе изготовления вентблоков;
обеспечить сохранение пропускной способности всех каналов вентблока при принятых в проекте допусках на его смещение в процессе монтажа.
Применение вентблоков левого и правого исполнения нежелательно в связи с частыми нарушениями схемы вентиляции при монтаже.
4.11. Естественная вытяжная вентиляция жилого дома представляет собой сложную гидравлическую систему, расчет которой требует специальной программы для математического моделирования на ЭВМ.
Упрощенный расчет может осуществляться по методике ЦНИИЭП инженерного оборудования.
Расчет естественной вытяжной вентиляции направлен:
на определение сечения каналов и геометрии узлов их слияния, а также входов в каналы вентблоков, обеспечивающих их номинальную пропускную способность;
на определение области применения существующих или вновь разрабатываемых вентблоков в зависимости от этажности и других конструктивно-планировочных решений зданий.
4.12. Для уменьшения ошибок при выполнении вытяжной вентиляции различных зданий необходима максимальная унификация применяемых в настоящее время и разрабатываемых вновь конструкций вентблоков и сокращение их номенклатуры, что можно осуществить на основе упрощенного расчета вентблоков (см. 4.11 ).
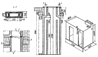
4.13. Повышение эксплуатационной надежности (предотвращение “опрокидывания” потока воздуха) системы естественной вытяжной вентиляции и одновременно сокращение материалоемкости и трудозатрат достигаются при использовании одной вертикали вытяжных каналов на квартиру путем использования объединенных вентблоков. Пример решения объединенного вентблока, совмещенного с санитарно-технической кабиной, представлен на рис. 3.

Рис. 3. Объединенный вентблок, совмещенный с сантехкабиной
1 — “колпак” с вентблоком; 2 — днище снтехкабины; 3 — прокладка уплотнительная;
4 — проволочные ограничители, 5 — междуэтажное перекрытие
Применение двух объединенных или объединенного и раздельного вентблоков в зонированных квартирах ведет, как правило, к чрезмерной интенсификации воздухообмена и поэтому нежелательно.
При применении двух вентблоков в одной вертикали квартир необходимо обеспечить одинаковые условия истечения вентиляционного воздуха в атмосферу (в частности, отметку выброса в случае самостоятельных шахт).
4.14. Применение одинаковых вентблоков по высоте здания предопределяет неравномерность удаления воздуха по вертикали квартир.
Повышение равномерности распределения расходов воздуха достигается при увеличении сопротивления входа в вентблок или обеспечении переменной по высоте здания величины сопротивления входа в вентблок. Последнее можно осуществить с помощью вентиляционных решеток с монтажной регулировкой (например, конструкции ЦНИИЭП инженерного оборудования) или специальных накладок (например, из оргалита) с отверстиями разной площади на вход в вентблок.
Расширение области применения вентблоков для зданий различной этажности и изменение их номинальной производительности (см. п. 4.2) возможны с помощью специально рассчитанных накладок.
4.15. Конструкция и технология монтажа вентиляционных блоков должны предусматривать возможность герметизации их междуэтажных стыков.
Герметичность вентиляционной сети имеет особое значение для естественной вытяжной вентиляции. Наличие неплотностей приводит не только к избыточному воздухообмену в квартирах нижних этажей многоэтажных зданий, но и к выбросам загрязненного воздуха через них из сборного канала в квартиры верхних этажей. В проектах необходимо предусматривать специальную технологию заделки междуэтажных стыков вентблоков с применением упругих прокладок.
4.16. Устойчивое удаление воздуха из квартир верхних этажей обеспечивается при правильном выборе вентблоков для зданий конкретной этажности и конструкции чердака.
Установка вытяжных вентиляторов на входе в вентблок двух верхних этажей, предусмотренная СНиПом, ухудшает воздухообмен в квартирах, так как вентиляторы не рассчитаны на постоянную работу, а в период бездействия затрудняют удаление воздуха из-за чрезмерного сопротивления.
4.17. Конструкции транзитных участков вентблоков, проходящих через холодный или открытый чердаки, а также вентиляционных шахт на кровле должны иметь термическое сопротивление не менее чем термическое сопротивление наружных стен жилых зданий в данном климатическом районе. Для уменьшения массы и габаритов указанных конструкций, предусматриваемое настоящим пунктом, термическое сопротивление может быть достигнуто за счет эффективной теплоизоляции. То же относится к вентиляционным участкам канализационных стояков и мусоропровода.
СОДЕРЖАНИЕ
ПРЕДИСЛОВИЕ
1. КОНСТРУКТИВНО-ПЛАНИРОВОЧНЫЕ РЕШЕНИЯ ЖИЛЫХ ЗДАНИЙ
2. РАСЧЕТ ТЕПЛОПОТЕРЬ
3. ОТОПЛЕНИЕ
4. ВЕНТИЛЯЦИЯ
