Проектирование бассейнов (к СНиП 2.08.02-89)
ПРОЕКТИРОВАНИЕ БАССЕЙНОВ
Справочное пособие к СНиП
Центральный научно-исследовательский и проектный институт типового и экспериментального проектирования комплексов и зданий культуры, спорта и управления им. Б. С. Мезенцева (ЦНИИЭП им. Б. С. Мезенцева) Госкомархитектуры
ПРЕДИСЛОВИЕ
Пособие предназначено для проектирования различных видов искусственных бассейнов. Рассматриваются прогрессивные функциональные решения сооружений, а также технические вопросы, относящиеся к водоподготовке, отоплению, вентиляции и освещению (искусственного и естественного).
Предназначается для архитекторов и инженерно-технических работников, занимающихся проектированием спортивных сооружений, студентов архитектурных и строительных институтов и техникумов, а также работников физической культуры, занимающихся вопросами эксплуатации спортивных сооружений.
Разработано ЦНИИЭП им. Б. С. Мезенцева - канд. техн. наук Г. В. Ясный - ответственный исполнитель, архитекторы В. П. Румянцева, К. К. Рябов, кандидаты архит. Г. И. Быкова, М. Р. Савченко, инженеры Н. А. Смирнова, В. В. Филиппов, В. А. Солдатов, А. И. Зуйков.
1. ОБЩИЕ ПОЛОЖЕНИЯ
1.1. Бассейн - сооружение, состоящее из одной или нескольких ванн, помещений и устройств для обслуживания занимающихся, зрителей, а также для технической эксплуатации. Открытый бассейн - сооружение, где ванна (ванны) расположена на открытом воздухе. Открытый бассейн сезонный - сооружение с ваннами без подогрева воды, эксплуатируемое только в теплое время года. Открытый круглогодичный бассейн - сооружение с ваннами с подогревом воды, эксплуатируемое в течение всего года.
Крытый бассейн - здание, в котором расположена ванна (ванны) с вспомогательными помещениями.
Комплексный бассейн - сооружение, включающее открытые и крытые ванны.
Трансформирующийся бассейн - сооружение, где в зависимости от времени года путем трансформации ограждающих конструкций (покрытия, стен) ванна может быть попеременно открытой или крытой.
Учебно-тренировочный бассейн предназначен для обучения плаванию, оздоровительных занятий, тренировок, а также для проведения соревнований местного значения без зрителей или в присутствии ограниченного числа зрителей (до 600 мест в крытых и до 1200 в открытых).
Демонстрационный бассейн - сооружение, рассчитанное на проведение крупных соревнований с числом мест более 600 в крытых и 1200 в открытых бассейнах.
Бассейны подразделяются на:
плескательные - для приучения к воде детей дошкольного возраста;
детские - для обучения плаванию детей младшего и среднего возраста;
учебные - для обучения плаванию детей старшего возраста и взрослых; для занятий детей младшего и среднего возраста при переходе из детской в основную ванну; для оздоровительного плавания занимающихся старшего возраста;
для плавания;
для прыжков в воду;
универсальные - для плавания, водного поло, прыжков в воду.
1.2. Состав и площади открытых плоскостных спортивных сооружений (полей, площадок), размещаемых на участке бассейна, залов для занятий различными видами спорта, помещений клубов мастеров и любителей спорта, музеев спорта, администрации ДСО и спортивных школ, а также других помещений, не предназначаемых для спортивных занятий, определяются заданием на проектирование.
1.3. Проектирование общежитий (пансионатов) для иногородних спортсменов ведется по соответствующим нормам.
2. УЧАСТКИ
2.1. На участке бассейна проезды должны иметь усовершенствованное облегченное или капитальное покрытие. Тип покрытия пешеходных дорожек произволен.
2.2. Ширина путей движения зрителей по территории бассейна принимается из расчета 1 м на 500 зрителей.
2.3. По периметру участка открытого бассейна предусматриваются ветро- и пылезащитные полосы древесных и кустарниковых насаждений шириной не менее 5 м со стороны проездов местного значения и не менее 20 м со стороны магистральных дорог с интенсивным движением. По периметру открытых ванн и групп плоскостных спортивных сооружений предусматривают полосу кустарниковых насаждений шириной 3 м. Кроме того, на свободной территории участка рекомендуется предусматривать насаждения, создающие плотные ландшафтные группы из хвойных и лиственных пород деревьев, а также обычных и цветущих кустарников.
В средней полосе по периметру открытой ванны рекомендуется высаживать деревья хвойных пород - ель колючую, пихту, кедр; кустарники - спирею, жимолость, чубушник, кизильник, снежноягодник, свидин.
2.4. На участке бассейна предусматриваются автостоянки площадью 25 м2 на машину из расчета по 6-8 машин на 100 посетителей и 100 зрителей.
2.5. На участке бассейна рекомендуется выделять хозяйственную зону с блоком складов, гаражей и других помещений с отдельным внешним въездом.
2.6. Перед входами на трибуны открытых бассейнов предусматриваются свободные площади из расчета 0,5 м2 на одного зрителя, приходящегося на данный вход, а у входов в здания крытых бассейнов из расчета 0,3 м2 .
3. ОБЪЕМНО-ПЛАНИРОВОЧНЫЕ И КОНСТРУКТИВНЫЕ РЕШЕНИЯ
3.1. Размеры и пропускную способность ванн для спортивного плавания, а также универсальных ванн, предназначенных для попеременного использования по нескольким видам, следует принимать согласно табл. 1.
Таблица 1
|
Назначение ванны |
Размеры ванны, м |
Глубина воды в глубокой части, м |
Пропускная способность, чел. |
|
|
|
длина* |
ширина |
|
в смену |
|
Спортивное |
50 |
25** |
|
120 |
|
плавание |
|
21 |
Исходя из уклона дна, |
96 |
|
|
25 |
16 |
принимаемого не менее |
48 |
|
|
|
11 |
0,01, но не более 0,045 |
32 |
|
|
|
8,5 |
|
24 |
|
|
33,33*** |
21 |
|
80 |
__________
* Отклонение в длине ванн (в том числе универсальных) допускается только в сторону увеличения в пределах до 0,03 м в ваннах длиной 50 м; 0,02 м - в ваннах 33,33 м, 0,015 м - в ваннах 25 м.
** Принимается в демонстрационных бассейнах или при достаточных обоснованиях для удовлетворения потребности в массовом оздоровительном плавании.
*** Принимается для ванн, предназначенных в основном для водного поло.
Ширина дорожки для спортивного плавания принимается 2,5 м. За крайними дорожками до стенок ванны предусматриваются свободные полосы воды шириной по 0,5 м.
Ширина дорожки для оздоровительного плавания может приниматься не менее 1,6 м с уменьшением ширины свободных полос воды до 0,25 м.
Схемы продольных профилей ванн для спортивного плавания и универсальных ванн приведены на рис. 1.
3.2. Поле для водного поло должно иметь размеры 30 ´ 20 м и глубину не менее 1,8 м. Пропускная способность - 25 чел. в смену.

Рис. 1. Схемы продольных профилей универсальных ванн и ванн для спортивного плавания
а – 25-метровая ванна для спортивного плавания с двухсторонним продольным уклоном; б - то же, с односторонним продольным уклоном; в - то же, с двухсторонним поперечным уклоном, г - 25-метровая универсальная ванна с вышкой для прыжков высотою 5 м; д - 50-метровая ванна для спортивного плавания с двухсторонним продольным уклоном, е - то же, с односторонним продольным уклоном; ж - то же, с двухсторонним поперечным уклоном; з - 50-метровая универсальная ванна с вышкой для прыжков высотою 10 м
Разметка поля для водного поло, а также размещение закладных устройств, приведены на рис. 2. Закладные устройства предусматриваются не выступающими из плоскости стенок и дна ванны.

Рис. 2. Разметка поля и размещение закладных устройств для водного поло (размеры даны в м)
1 - крепление ворот к торцевой стенке; 2 - крюки для крепления плавучей разметки границ поля; 3 - троссы; 4 - крепление ворот к продольным стенкам; 5 - закладные устройства для опускания поплавка под мяч на дно
Допускается уменьшение размеров поля до 20 ´ 8 м и глубины - до 1 м. Пропускная способность поля 15 чел. в смену.
3.3. Размеры ванн для прыжков в воду и расстановку устройств для прыжков следует принимать в соответствии с заданным составом устройств, руководствуясь требованиями, приведенными на рис. 3, табл. 2. Пропускную способность каждого устройства для прыжков принимают равной 6 чел. в смену, при этом платформы вышки, расположенные друг над другом, принимаются за одно устройство.

Рис. 3. Схема для определения размеров ванн для прыжков в воду к расстояний между устройствами для прыжков
а - продольный разрез; б - поперечный разрез; (экспликация буквенных обозначений и наименование размеров даны в табл. 2)
Таблица 2
|
Буквенные обозначения и наименование |
Доски трамплинов |
Платформы вышек |
|||||
|
размеров, приведенных на рис. 3 |
|
Высота3 ; длина; ширина4 ; м1 |
|||||
|
|
1; 5; 0,5 |
3; 5; 0,5 |
1; 4,5; 0,6 |
3; 5; 0,8 |
5; 6; 1,5 |
7,5; 6; 1,5 |
10; 6; 2 |
|
А - от оси2 назад до стенки ванны |
A- l1,5-1,8 |
А-31,5-1,8 |
А-1пл0,75 |
А-3пл1,25 |
А-51,25-1,5 |
A-7,51,5 |
A-101,5 |
|
А- А - от оси назад до края нижележащей платформы |
- |
- |
- |
- |
А-А5/10,75 |
А-А7,5/3(1) 0,75-1,5 |
A -A -10/5 (3; 1) 0,75-1,5 |
|
Б - от оси до боковой стенки ванны |
Б-12,5-3,0 |
Б-33,5 |
Б-1пл2,3 |
Б-3пл2,9 |
Б-54,25 |
Б-7,5 4,5 |
Б-10 5,25 |
|
В - между осями соседних устройств |
B- l1,9-2,4 |
B-3; В-3,11,9-2,4 |
|
|
В-5/3(1) 2,1 |
В-7,5/5(3; 1) 2,5 |
В-10/7,5 (5; 3; 1) 2,75 |
|
Г - от оси вперед до стенки ванны |
Г-19,0 |
Г-310,25 |
Г-1пл8,0 |
Г-3пл9,5 |
Г-510,25 |
Г-7,511,0 |
Г-1013,5 |
|
Д - высота от поверхности платформы (доски трамплина) до выступающих конструкций потолка или вышележащей платформы, размещенной на одной с нею вертикальной оси |
Д-15,0 |
Д-35,0 |
Д-1пл3,0 |
Д-3пл3,0 |
Д-53,0-3,4 |
Д-7,53,2-3,4 |
Д-103,4 |
|
Е - от оси назад и в стороны, на которых должна быть выдержана высота Д |
Е-12,5 |
Е-32,5 |
Е-1пл2,75 |
Е-3пл2,75 |
Е-52,75 |
Е-7,5 2,75 |
E-102,75 |
|
Ж - от оси вперед, на котором должна быть выдержана высота Д |
Ж-15,0 |
Ж-35,0 |
Ж-1пл5,0 |
Ж-3пл5,0 |
Ж-55,0 |
Ж-7,55,0 |
Ж-106,0 |
|
И - глубина воды по оси устройства для прыжков |
И-13,4-3,8 |
И-33,8-4,0 |
И-1пл3,4 |
И-3пл3,8 |
И-53,8-4,2 |
И-7,54,2-5,0 |
И-104,5-5,5 |
|
К/Л - расстояние вперед от оси и глубина воды на этом расстоянии |
К/Л-1 6/3,3-3,7 |
К/Л-3 6/3,7-3,9 |
К/Л-1пл6/3,3 |
К/Л-3пл6/3,3-3,7 |
К/Л-5 6/3,7-3,9 |
К/Л-7,58/4,0-4,4 |
К/Л-1012/4,25-4,75 |
|
М/Н - расстояние в стороны от оси и глубина воды на этом расстоянии |
М/Н-1 2,5/3,3-3,7 |
М/Н-33,25/3,7-3,9 |
М/Н-1пл2,05/3,3 |
М/Н-3пл2,65/3,3-3,7 |
М/Н-54,25/3,7-3,9 |
М/Н-7,54,5/4,0-4,4 |
M/ H-105,25/4,25-4,75 |
Примечание. Над чертой - условные обозначения; под чертой - размер.
1 В ваннах, специализированных для прыжков в воду и в универсальных ваннах длиной 50 м, предназначенных для соревнований всесоюзного и более высокого масштаба по прыжкам в воду, следует принимать наибольшие размеры из приведенных в настоящей таблице.
2 За ось, от которой ведется отсчет, принимается вертикаль, проходящая через передний край данного устройства для прыжков, по его продольной оси.
3 Допустимые отклонения высоты устройств для прыжков от поверхности воды:
± 0,1 м для трамплинов и + 0,1 м для платформы вышки.
4 При ширине платформ вышек, превышающей минимальную (указанную в настоящей таблице), требуемые расстояния “В” следует увеличивать на половину дополнительной ширины платформы (платформ).
В ваннах для прыжков и в универсальных ваннах длиной 50 и 33,33 м предусматривается, как правило, комплект устройств для прыжков, состоящий из вышки с платформами на высоте 10; 7,5; 5; 3; 1 м, двух трамплинов на высоте 3 м и двух трамплинов на высоте 1 м. Рекомендуется один из трамплинов предусматривать переменной высоты в пределах от 0,5 до 3 м. Могут предусматриваться дополнительно по одному трамплину на высоте 1 и 3 м. Платформа вышки на высоте 1 м в универсальных ваннах не предусматривается или допускается уменьшать ее длину до 1,5 м. Платформа на высоте 7,5 м предусматривается только в составе 10 м вышки.
В универсальных ваннах длиной 25 м вышки высотою 10 и 7,5 м не устраиваются. Комплект устройств для прыжков в этих ваннах определяется в зависимости от ширины ванны в соответствии с нормативными расстояниями между устройствами. Схемы расстановки устройств для прыжков в воду и стартовых тумбочек в универсальных ваннах приведены на рис. 4.

Рис. 4. Схемы расстановки устройств для прыжков в воду и стартовых тумбочек в универсальных ваннах (размеры в м)
а - в универсальной ванне 25 ´ 16 м, б - в универсальной ванне 50 ´ 21 м. Условные обозначения: В - вышка, Тр – трамплин; СТ - стартовая тумбочка
Устройства для прыжков в воду открытых ванн следует ориентировать на север или северо-восток.
У всех устройств для прыжков предусматриваются стационарные лестницы с поручнями, а у задней и боковых сторон платформ вышки перила высотой 1,2 м с отступом от переднего края на 0,8 м. Люки - выходы лестниц также должны быть огорожены. Для подъема на вышку, кроме лестниц, могут устраиваться лифты. Рабочие поверхности платформ вышки выполняются нескользкими, а передние кромки платформы - не закругляются. Длину специализированных ванн для прыжков (для использования их для занятий пловцов), по стороне, где установлены прыжковые устройства, рекомендуется принимать 25 м (рис. 5).

Рис. 5. Схема расстановки прыжковых устройств в специализированной ванне вдоль стенки длиною 25 м
Условные обозначения: В - вышка; Тр - трамплин; (размеры даны в м)
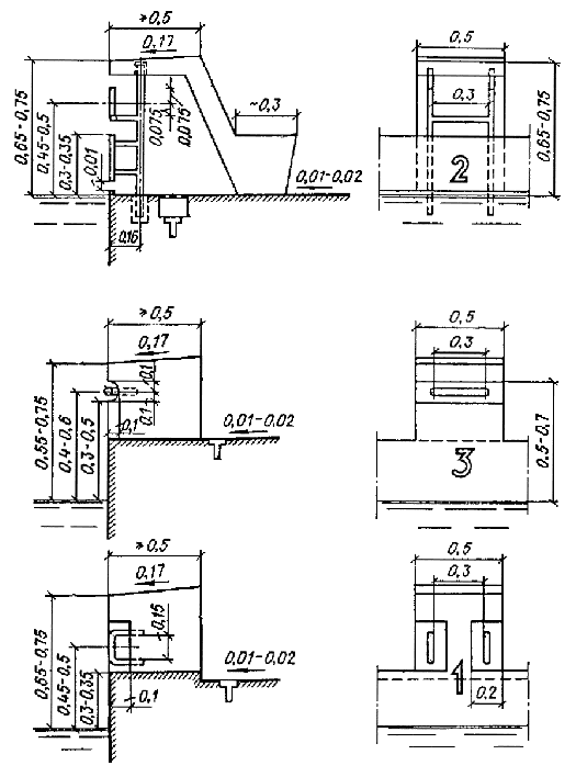
3.4. В продольных стенках ванн для спортивного плавания, а также универсальных ванн следует предусматривать переливной желоб для сброса воды. Схемы профилей продольных стенок ванн приведены на рис. 6.

Рис. 6. Схема профилей продольных стенок ванн (размеры в м)
а - вариант с “переливным” бортом, не выступающим над уровнем воды; б - вариант с “пенным корытцем” - бортом, выступающим над уровнем воды; в - вариант со ступенями для выхода из воды в специализированных ваннах для прыжков в воду; г - вариант для детских ванн с заглубленной обходной дорожкой; 1 - обходная дорожка; 2 - переливной желоб с решеткой; 3 - трап; 4 - уступ для отдыха; 5 - переливной желоб; 6 - ступени для выхода из воды; 7 - вертикаль по переднему краю ближайшего прыжкового устройства
В крытых ваннах длиною 50 и 25 м, предназначенных в основном для спортивного плавания, продольные стенки ванны рекомендуется проектировать по варианту А. В открытых ваннах круглогодичного действия профиль стенок ванн по варианту А , как правило, не применяется (за исключением бассейнов в южных районах страны).
Решетка переливного желоба при вариантах А и В устраивается заподлицо с поверхностью обходной дорожки.
Верхняя плоскость стенки при варианте Б и проступи ступеней для выхода из воды при варианте В выполняются нескользкими.
Кромка борта при варианте А и кромка переливного желоба при вариантах Б и Г , а также ребра ступеней для выхода из воды при варианте В выполняются закругленными.
В ваннах для обучения неумеющих плавать стенку рекомендуется проектировать по варианту Г , но можно применять и вариант Б ; в этом случае толщину стенки поверху допускается уменьшать с 0,5 до 0,25 м.
3.5. По обеим продольным стенкам ванн для спортивного плавания, а также универсальных ванн следует предусматривать уступ для отдыха.
Уступ для отдыха устраивается в местах, где глубина воды более 1,20 м. В крытых ваннах, специализированных для прыжков в воду, вдоль стенки, по которой расположены прыжковые устройства, устраиваются пологие ступени для выхода из воды, а уступ для отдыха под ними не предусматривается (рис. 6 вариант В ).
3.6. В ваннах для спортивного плавания по одной или обеим торцевым стенкам (при глубине воды у стенки не менее 1,8 м) следует предусматривать стартовые тумбочки высотой 0,50-0,75 м над уровнем воды.
Схемы стартовых тумбочек с поручнями и торцевых стенок ванн приведены на рис. 7. В случаях когда продольные стенки выполняются по варианту А , профиль торцевой стенки предусматривается по варианту I (см. рис. 7). В случаях когда продольные стенки выполняются по варианту Б (см. рис. 6), торцевая стенка предусматривается по варианту II или III (см. рис. 7). Уступ для отдыха по торцевым стенкам ванн не предусматривается. Торцевые стенки ванн для спортивного плавания в надводной части - на высоту не менее 0,3 м и в подводной части - на глубину не менее 0,8 м выполняются нескользкими.

Рис. 7. Схемы стартовых тумбочек с поручнями для старта в плавании на спине (размеры в м)
1 - вариант с бортом, не выступающим над уровнем воды и стартовой тумбочкой с комбинированным поручнем; 2 - вариант с бортом, выступающим над уровнем воды и стартовой тумбочкой с горизонтальным поручнем; 3 - то же, с вертикальным поручнем
Прочный и жесткий экран (стационарный или съемный), предусматриваемый при варианте I , устанавливается по всей длине стенки, заподлицо с нею и имеет нескользкую поверхность (обращенную к ванне). Стартовые тумбочки располагаются по оси каждой дорожки для спортивного плавания. В ваннах для учебно-тренировочных занятий вместо стартовых тумбочек допускается по всей длине торцевой стенки предусматривать стартовый мостик. Рабочая поверхность тумбочки (мостика) выполняется нескользкой. Ступенька предусматривается у тумбочек высотою 0,55 м и более от поверхности обходной дорожки. Диаметр сечения поручней для старта в плавании на спине 0,03-0,04 м.
3.7. Размещение закладных устройств и разметка ванны для спортивного плавания приведены на рис. 8. Для проведения оздоровительного плавания можно предусматривать дополнительные ниши с крюками для крепления поплавков разметки дорожек в ванне:

Рис. 8. Размещение закладных устройств и разметка ванны для спортивного плавания
1 - гнездо под стойку для шнура повторного старта; 2 - стойки для шнура для остановки участников при фальцстарте; 3 - стойки для шнура с флажками - указателями поворотов для пловцов на спине; 4 - уровень воды; 5 - крюки для крепления поплавков разметки дорожек; 6 - гнезда под стойку для шнура с флажками; 7 - разметка осей дорожек на дне; 8 - разметка осей дорожек на торцевых стенках (размеры в м)
50 ´ 25 м - для дорожек шириною 2,5 м, расположенных по поперечной оси ванны;
50 ´ 21 м - для 10 дорожек шириною 2 м;
25 ´ 16 м - для 8 дорожек шириною 1,9 м;
25 ´ 11 м - для 6 дорожек шириною 1,75 м;
25 ´ 8,5м - для 5 дорожек шириною 1,6 м каждая.
Закладные устройства предусматриваются не выступающими из плоскости стенок ванны и обходной дорожки. Полосы разметки осей дорожек контрастно выделяются на фоне стенок и дна; отклонение от приведенных на рисунке размеров может быть в пределах не более ± 0,05 м. При продольных стенках, не выступающих над уровнем воды (рис. 6, вариант А ), гнезда под стойки для шнуров повторного старта и с сигнальными флажками устанавливаются на обходной дорожке за переливным желобом.
3.8. Во всех ваннах следует предусматривать лестницы для выхода из воды. В ваннах для спортивного плавания длиной 50 м следует предусматривать по три, длиной 25 и 33,33 м по две лестницы с каждой продольной стороны, располагая их в нишах, не выступающих из плоскости стенок ванн. В ваннах для прыжков в воду допускается устройство, одной лестницы.
Схема лестницы для выхода из воды в ваннах для спортивного плавания и водного поло приведена на рис. 9. Ниши для лестниц могут доходить только до уступа для отдыха.

Рис. 9. Схемы лестницы для выхода из ванны
1 - уровень воды; 2 – ступени; 3 - равновысокие поручни; 4 - ниша; 5 - уступ для отдыха (размеры в м)
Лестницы располагаются не ближе 3 и не далее 5 м от торцевых стенок; в случае устройства смотровых окон или выплывов они размещаются дальше от торцевой стены, чем смотровое окно или выплыв.
3.9. В продольных стенках открытых ванн круглогодичного действия следует устраивать раздельные для мужчин и женщин выплывы (каналы с водой) из душевых. Ширина выплыва принимается 1,8 м, а глубина (за пределами здания) - не менее 0,9 м. Расстояние от выплыва до торцевой стены ванны - не менее 1 м. Над выплывами в стене здания следует предусматривать гидравлические затворы, а на обходной дорожке - переходные мостики.
3.10. В ваннах для прыжков в воду и в глубокой части универсальных ванн, предназначаемой для прыжков, уклон дна следует принимать согласно рис. 3. В остальных ваннах уклон дна к местам выпуска воды следует принимать не менее 0,01, но не более 0,045; допускаются уклоны в поперечном направлении.
3.11. По периметру ванн следует предусматривать обходную дорожку шириной не менее 1,5 у крытых и не менее 2 м у открытых ванн (считая от внешней грани стенки ванны). Вдоль обходной дорожки крытых ванн предусматриваются стационарные скамьи шириной не менее 0,3 м.
Ширина обходной дорожки у торцевой стенки ванны со стартовыми тумбочками принимается не менее 3 м; ширина обходной дорожки вдоль стенок с устройствами для прыжков принимается с учетом габаритов этих устройств и обеспечения подходов к ним, но не менее 4 м в ваннах с невыступающими над водой стенками и 3,5 м - с выступающими стенками. При расположении ванны для спортивного плавания и ванны для прыжков в воду торцами друг к другу обходную дорожку между ними принимают шириной 5 м. Ширину обходных дорожек 25-метровых ванн, размещаемых в залах длиной 30 м (в строительных осях), допускается уменьшать до 1 м - у торцевых стенок без стартовых тумбочек; до 2,2 м - у торцевых стенок со стартовыми тумбочками.
Поверхность обходной дорожки должна быть нескользкой и иметь уклон 0,01-0,02 в сторону трапов.
В залах крытых ванн поверхность обходной дорожки и скамей должна обогреваться. В пониженной части обходной дорожки у ванн для обучения неумеющих плавать (см. п. 3.19) обогрев, как правило, не предусматривается.
Схема конструкции обходной дорожки крытых ванн приведена на рис. 10. Обходные дорожки открытых ванн не обогреваются.

Рис. 10. Схема конструкции обходной дорожки крытых бассейнов
1 - керамическая плитка; 2 - цементная стяжка; 3 - гидроизоляция на цементной стяжке по слою пергамина; 4 - обогревающие трубы в слое песка; 5 - цементная стяжка; 6 , 7 - плита перекрытия
На обходных дорожках ванн для прыжков в воду и универсальных ванн в непосредственной близости к прыжковым устройствам рекомендуется размещать души для обогрева прыгунов с t = 36-40 °С из расчета 1 сетка на 10 прыгунов. Души могут располагаться в открытых кабинах или без кабин.
По внешнему периметру обходных дорожек открытых ванн следует предусматривать стационарное ограждение, исключающее доступ к ваннам посторонних лиц.
3.12. Материал покрытия обходной дорожки и скамей, стенок и дна ванн принимается поддающимся очистке и дезинфекции и устойчивым к применяемым для очистки воды и ванны химическим реагентам. Обходная дорожка, стенки и дно ванны предусматриваются водонепроницаемыми, а внутренняя поверхность ограждающих конструкций залов ванн - влагостойкой.
Внутренняя поверхность стенок и дна ванн выполняется из материалов светлых тонов. Швы между облицовочными плитками тщательно затираются.
3.13. Смотровые окна для наблюдения за движениями занимающихся под водой устраиваются, как правило, в крытых ваннах длиной 50 м и в крытых ваннах, специализированных для прыжков в воду.
Смотровые окна рекомендуется принимать высотой 0,4-0,5 м и шириной 1-2 м. Смотровые окна для наблюдения за прыгунами рекомендуется размещать на расстоянии 3-3,5 м от стенки ванны, у которой размещены устройства для прыжков, а для наблюдения за пловцами - в продольных стенах ванн не ближе 1-1,5 м от торцевой стены.
Для доступа к смотровым окнам следует предусматривать подходы шириной не менее 1,2 м и высотой не менее 1,8 м.
3.14. В бассейнах с крытыми ваннами длиной 50 м следует предусматривать возможность осмотра и ремонта стенок и дна ванн с наружной стороны из проходных (высотою 1,8 м) или полупроходных (высотою 1,2 м) боковых галерей и подполья.
3.15. Высоту залов ванн для спортивного плавания (от поверхности обходной дорожки до низа выступающих конструкций) без устройств для прыжков и мест для зрителей принимают при длине ванны 50 и 33,33 м не менее 6 м; при длине ванны 25 м - 5,4 м.
Высоту залов ванн для прыжков в воду, а также залов универсальных ванн (в пределах прыжковой части) следует принимать по табл. 2 и рис. 3. Высота залов демонстрационных бассейнов определяется, кроме того, высотой трибуны.
3.16. В бассейнах с крытыми ваннами для спортивного плавания и прыжков в воду следует предусматривать залы для подготовительных занятий, а при бассейнах с открытыми ваннами - открытые площадки. В бассейнах с крытыми ваннами для спортивного плавания размером 25 ´ 8,5 м залы для подготовительных занятий можно не предусматривать.
Размеры залов для подготовительных занятий принимаются:
18 ´ 9 м высотой 5,4 м - при ваннах длиной 25 м;
24 ´ 12 м высотой 6 м - при ваннах длиной 50 м;
24 ´ 12 м высотой 7,2 м - при ваннах для прыжков в воду и универсальных ваннах длиной 50 м для плавания и прыжков в воду.
Примерные схемы планов расстановки оборудования в залах для подготовительных занятий приведены на рис. 11, а , б , в .
Размеры открытых площадок для подготовительных занятий следует принимать из расчета 4,5 м2 на одного занимающегося, исходя из суммарной пропускной способности открытых ванн бассейна.



Рис. 11. Схематические планы расстановки оборудования в залах подготовительных занятий
а - в зале 18 ´ 9 м при ванне для плавания длиною 25 м; б - в зале 24 ´ 12 м при ванне для плавания водного поло длиною 50 м; в - в зале 24 ´ 12 м при специализированной ванне для прыжков в воду или универсальной ванне длиною 50 м
1 - стенка гимнастическая; 2 - тренажер для специальной силовой подготовки пловцов; 3 - специализированный тренажер для ног; 4 - перекладина; 5 - помост тяжелоатлетический размером 2,8 ´ 2,8 м; 6 - стеллаж для грифов штанг и гантелей; 7 - стеллаж для дисков штанг; 8 - мат гимнастический; 9 - тренажер-тумба для развития прыгучести; 10 - тренажер для развития силы рук (инерционный); 11 - тренажер типа “Эспандер грузовой”; 12 - место тренера; 13 - зеркало; 14 - тренажер универсальный (многоснарядный) типа “Змиевчанин”; “Геркулес” и т.п.; 15 - скамейка гимнастическая; 16 - щит для ватерполистов; 17 - щит для мини-баскетбола; 18 - станок хореографический; 19 - сетка-ограждение; 20 - гимнастические маты; 21 - батут (складной, массовый); 22 - “сухой” трамплин; 23 - лонжа универсальная (подвесная); 24 - канат для лазания; 25 - ковер размеров 5,3 ´ 5,3 м; 26 - козел гимнастический; 27 - костяк гимнастический эластичный; 28 - яма для батута; 29 - маты под “сухим” трамплином; 30 - брусья гимнастические
3.17. Открытые и крытые ванны для оздоровительного плавания, купания, общеразвивающих упражнений и игр в воде, а также для обучения неумеющих плавать, со вспомогательными помещениями для их обслуживания могут проектироваться в отдельно стоящих зданиях, входить в состав зданий спортивных бассейнов, а также быть пристроенными или встроенными в здания другого назначения.
Размеры и пропускную способность ванн в зависимости от вида проводимых в них занятий следует принимать по табл. 3.
Таблица 3
|
|
Размеры, м* |
Пропускная |
|||
|
Вид занятий |
|
|
глубина** |
способность, |
|
|
|
длина |
ширина |
в мелкой части |
в глубокой части |
чел. |
|
1. Оздоровительное и спортивное плавание (по дорожкам) |
25 |
16 11 8,5 |
1,2 |
1,8 |
64 48 40 |
|
2. Оздоровительное плавание (свободное)*** |
25 |
11 8,5 |
|
|
48 40 |
|
|
20 |
10 |
1,2 |
1,45 |
40 |
|
|
16,67 |
8,0 6,0 |
|
|
24 18 |
|
3. Купание, общеразвивающие упражнения и игры в воде*** |
Произвольных размеров и формы с площадью зеркала воды не менее 90 м2 |
1 |
1,25 |
Из расчета 5 м2 зеркала воды на 1 чел. |
|
___________
* При реконструкции существующих помещений допускается предусматривать длину ванн для оздоровительного плавания 12,5 м, а ширину в соответствии с шириной реконструируемого помещения.
** При проектировании ванн в полносборных конструкциях уклон дна можно не предусматривать.
