ПБ 13-407-01, часть 11
Таблица 9
(к п. 6 , 7 главы VIII )
Значения коэффициента Кд для расчета расстояний, безопасных по передаче детонации
|
Взрывчатые материалы |
Местоположение |
Взрывчатые вещества на основе аммиачной селитры без нитроэфиров и взрывчатые вещества с содержанием нитроэфиров до 40 % |
Взрывчатые вещества с содержанием нитроэфиров 40 % и более |
Тротил |
Детонаторы |
||||
|
О |
У |
О |
У |
О |
У |
О |
У |
||
|
Активный заряд |
Пассивный заряд |
||||||||
|
Взрывчатые вещества на основе аммиачной селитры с содержанием нитроэфиров до 40 % |
Открытый |
0,8 |
0,5 |
1,1 |
0,8 |
1,3 |
1,0 |
0,8 |
0,5 |
|
Углубленный |
0,5 |
0,3 |
0,8 |
0,5 |
1,0 |
0,6 |
0,5 |
0,3 |
|
|
Взрывчатые вещества с содержанием нитроэфиров 40 % и более |
Открытый |
1,6 |
1,0 |
2,3 |
1,6 |
2,5 |
2,0 |
1,6 |
1,0 |
|
Углубленный |
1,0 |
0,6 |
1,6 |
1,0 |
2,0 |
1,3 |
1,0 |
0,6 |
|
|
Тротил |
Открытый |
1,3 |
1,0 |
1,6 |
1,3 |
1,9 |
1,4 |
1,3 |
1,0 |
|
Углубленный |
1,0 |
0,6 |
1,3 |
0,9 |
1,4 |
0,8 |
1,0 |
0,7 |
|
|
Детонаторы |
Открытый |
0,4 |
0,25 |
0,75 |
0,5 |
0,7 |
0,6 |
0,4 |
0,25 |
|
Углубленный |
0,25 |
0,2 |
0,5 |
0,4 |
0,6 |
0,4 |
0,25 |
0,2 |
|
Примечания. У - углубленный заряд; О - открытый заряд.
Таблица 10
(к п. 9 главы VIII )
Значения допустимых расстояний по передаче детонации между хранилищами взрывчатых веществ r д
Расчет произведен по формуле ( 19 ) при b = 1,6 м
|
Активный заряд |
Кд |
Пассивный заряд |
Безопасные расстояния по передаче детонации, м, при вместимости хранилища (массе взрывчатых материалов), м |
|||||||
|
10 |
25 |
60 |
120 |
240 |
420 |
|||||
|
Взрывчатые вещества на основе аммиачной селитры с нитроэфирами до 40 % |
|
Взрывчатые вещества на основе аммиачной селитры с нитроэфирами до 40 % |
|
|
|
|
|
|
||
|
Открытый |
0,8 |
Открытый |
20 |
27 |
36 |
45 |
56 |
68 |
||
|
Открытый |
0,5 |
Углубленный |
12 |
17 |
22 |
28 |
35 |
43 |
||
|
Углубленный |
0,5 |
Открытый |
12 |
17 |
22 |
28 |
35 |
43 |
||
|
Углубленный |
0,3 |
Углубленный |
7 |
10 |
14 |
17 |
21 |
26 |
||
|
Взрывчатые вещества на основе аммиачной селитры с нитроэфирами до 40 % |
|
Тротил |
|
|
|
|
|
|
||
|
Открытый |
1,3 |
Открытый |
32 |
43 |
58 |
73 |
91 |
110 |
||
|
Открытый |
1,0 |
Углубленный |
25 |
33 |
44 |
56 |
70 |
85 |
||
|
Углубленный |
1,0 |
Открытый |
25 |
33 |
44 |
56 |
70 |
85 |
||
|
Углубленный |
0,6 |
Углубленный |
15 |
20 |
27 |
34 |
42 |
51 |
||
|
Тротил |
|
Взрывчатые вещества на основе аммиачной селитры с нитроэфирами до 40 % |
|
|
|
|
|
|
||
|
Открытый |
1,3 |
Открытый |
32 |
43 |
58 |
73 |
91 |
110 |
||
|
Открытый |
1,0 |
Углубленный |
25 |
33 |
44 |
56 |
70 |
85 |
||
|
Углубленный |
1,0 |
Открытый |
25 |
33 |
44 |
56 |
70 |
85 |
||
|
Углубленный |
0,6 |
Углубленный |
15 |
20 |
27 |
34 |
42 |
51 |
||
|
Тротил |
|
Тротил |
|
|
|
|
|
|
||
|
Открытый |
1,9 |
Открытый |
46 |
63 |
84 |
106 |
133 |
160 |
||
|
Открытый |
1,4 |
Углубленный |
34 |
46 |
62 |
78 |
98 |
118 |
||
|
Углубленный |
1,4 |
Открытый |
34 |
46 |
62 |
78 |
98 |
118 |
||
|
Углубленный |
0,8 |
Углубленный |
20 |
27 |
36 |
45 |
56 |
68 |
||
Таблица 11
(к пп. 8.2.4 , 11.14 главы XI )
Типовые конструкции заземлителей и значения их сопротивления растеканию тока промышленной частоты
|
Рисунки |
Тип |
Материал |
Значение сопротивления, Ом, растеканию тока промышленной частоты при различных электрических удельных сопротивлениях грунта, Ом× м |
|||
|
50 |
100 |
500 |
1000 |
|||
|
|
Вертикальный стержневой |
Сталь угловая 40´ 40´ 4 мм: |
|
|
|
|
|
l = 2 м |
19 |
38 |
190 |
380 |
||
|
l = 3 м |
14 |
28 |
140 |
280 |
||
|
Сталь круглая диаметром 10-20 мм: |
|
|
|
|
||
|
l = 2 м |
24 |
48 |
240 |
480 |
||
|
l = 3 м |
17 |
34 |
170 |
340 |
||
|
l = 5 м |
14 |
28 |
140 |
280 |
||
|
|
Горизонтальный полосовой |
Сталь полосовая 4´ 40 мм: |
|
|
|
|
|
l = 2 м |
22 |
44 |
220 |
440 |
||
|
l = 5 м |
12 |
24 |
120 |
240 |
||
|
l = 10 м |
7 |
14 |
70 |
140 |
||
|
l = 20 м |
4 |
8 |
40 |
80 |
||
|
l = 30 м |
3,2 |
6,5 |
35 |
70 |
||
|
|
Горизонтальный полосовой с вводом тока в середину |
Сталь полосовая 4´ 40 мм: |
|
|
|
|
|
l = 5 м |
9,5 |
19 |
95 |
190 |
||
|
l = 10 м |
5,85 |
12 |
60 |
120 |
||
|
l = 12 м |
5,4 |
11 |
54 |
110 |
||
|
l = 24 м |
3,1 |
6,2 |
31 |
62 |
||
|
l = 32 м |
Не применяется |
Не применяется |
24 |
48 |
||
|
l = 40 м |
Тоже |
То же |
20 |
40 |
||
|
|
Горизонтальный трехлучевой |
Сталь полосовая 4´ 40 мм: |
|
|
|
|
|
l = 6 м |
4,6 |
9 |
45 |
90 |
||
|
l = 12 м |
2,6 |
5,2 |
26 |
50 |
||
|
l = 16 м |
2 |
4 |
20 |
40 |
||
|
l = 20 м |
1,7 |
3,4 |
17 |
34 |
||
|
l = 32 м |
Не применяется |
Не применяется |
14 |
28 |
||
|
l = 40 м |
То же |
То же |
12 |
24 |
||
|
|
Комбинированный двухстержневой |
Сталь угловая 40´ 40´ 4 мм, сталь полосовая 4´ 40 мм: |
|
|
|
|
|
С = 3 м; l = 2,5 м |
7 |
14 |
70 |
140 |
||
|
С = 3 м; l = 3 м |
6 |
12 |
60 |
120 |
||
|
С = 6 м; l = 2,5 м |
5,5 |
11 |
55 |
110 |
||
|
С = 6 м; l = 3 м |
4,5 |
9,1 |
45 |
90 |
||
|
Сталь круглая диаметром 10-20 мм, сталь полосовая 4´ 40 мм: |
|
|
|
|
||
|
С = 3 м; l = 2,5 м |
7,5 |
15 |
75 |
150 |
||
|
С = 3 м; l = 3 м |
6,8 |
14 |
70 |
140 |
||
|
С = 5 м; l = 2,5 м |
6 |
12 |
60 |
120 |
||
|
С = 5 м; l = 3 м |
5,5 |
11 |
55 |
110 |
||
|
С = 3 м; l = 5 м |
5,5 |
11 |
55 |
110 |
||
|
С = 5 м; l = 5 м |
4 |
8 |
40 |
80 |
||
|
|
Комбинированный трехстержневой |
Сталь угловая 40´ 40´ 4 мм, сталь полосовая 4´ 40 мм: |
|
|
|
|
|
С = 3 м; l = 2,5 м |
4 |
8 |
40 |
80 |
||
|
С = 6 м; l = 2,5 м |
3 |
6 |
30 |
60 |
||
|
С = 7 м; l = 3 м |
2,7 |
5,4 |
27 |
55 |
||
|
Сталь круглая диаметром 10-20 мм, сталь полосовая 4´ 40 мм: |
|
|
|
|
||
|
С = 2,5 м; l = 2,5 м |
4,8 |
9,7 |
50 |
100 |
||
|
С = 2,5 м; l = 2 м |
4,4 |
8,9 |
45 |
90 |
||
|
С = 5 м; l = 2,5 м |
3,5 |
7,1 |
36 |
70 |
||
|
С = 5 м; l = 3 м |
3,3 |
6,6 |
33 |
65 |
||
|
С = 6 м; l = 5 м |
2,7 |
5,4 |
27 |
55 |
||
|
|
Комбинированный пятистержневой |
Сталь угловая 40´ 40´ 4 мм, сталь полосовая 4´ 40 мм: |
|
|
|
|
|
С = 5 м; l = 2 м |
2,2 |
4,4 |
22 |
44 |
||
|
С = 5 м; l = 3 м |
1,9 |
3,8 |
19 |
38 |
||
|
С = 7,5 м; l = 2 м |
1,8 |
3,7 |
18,5 |
37 |
||
|
С = 7,5 м; l = 3 м |
1,6 |
3,2 |
16 |
32 |
||
|
Сталь круглая диаметром 10-20 мм, сталь полосовая 4´ 40 мм: |
|
|
|
|
||
|
С = 5 м; l = 2 м |
2,4 |
4,8 |
24 |
48 |
||
|
С = 5 м; l = 3 м |
2 |
4,1 |
20,5 |
41 |
||
|
С = 7,5 м; l = 2 м |
2 |
4 |
20 |
40 |
||
|
С = 7,5 м; l = 3 м |
1,7 |
3,5 |
17,5 |
35 |
||
|
С = 5 м; l = 5 м |
1,9 |
3,8 |
19 |
38 |
||
|
С = 7,5 м; l = 5 м |
1,6 |
3,2 |
16 |
32 |
||
|
|
Комбинированный четырехстержневой |
Сталь угловая 40´ 40´ 4 мм, сталь полосовая 4´ 40 мм: С = 6 м; l = 3 м |
2 ,1 |
4,3 |
21,3 |
43 |
|
|
Горизонтальный с вводом тока в центре |
Сталь полосовая 4´ 40 мм: |
|
|
|
|
|
D = 4 м |
4,5 |
9 |
45 |
90 |
||
|
D = 6 м |
3,3 |
6 |
33 |
66 |
||
|
D = 8 м |
2,65 |
5,3 |
26,5 |
53 |
||
|
D = 10 м |
2,2 |
4,4 |
22 |
44 |
||
|
D = 12 м |
1,9 |
3,8 |
19 |
38 |
||
Таблица 12
(к пп. 8.2.5 , 11.13 главы XI )
Значения импульсного коэффициента a при разных удельных сопротивлениях грунта
|
Тип заземлителя |
Значение импульсного коэффициента при электрическом удельном сопротивлении грунта r , Ом× м |
||||
|
До 100 |
100 |
500 |
1000 |
2000 и более |
|
|
Вертикальный |
0,9 |
0,9 |
0,7 |
0,5 |
0,35 |
|
Горизонтальный |
0,9 |
0,8 |
0,6 |
0,4 |
0,3 |
|
Комбинированный |
0,9 |
0,7 |
0,5 |
0,3 |
- |
Таблица 13
(к п. 8.1.8 главы XI )
|
Вид |
Место расположения токоотвода |
|
|
снаружи здания на воздухе |
в земле |
|
|
Круглые токоотводы и перемычки диаметром, мм |
6 |
- |
|
Круглые вертикальные электроды диаметром, мм |
- |
10 |
|
Круглые горизонтальные электроды диаметром, мм* |
- |
10 |
|
Прямоугольные (из квадратной и полосовой стали): |
|
|
|
площадь сечения, мм2 |
48 |
160 |
|
толщина, мм |
4 |
4 |
|
Из угловой стали: |
|
|
|
площадь сечения, мм2 |
- |
160 |
|
толщина, мм |
- |
4 |
|
Трубы стальные с толщиной стенок, мм |
- |
3,5 |
____________
* Применяются только для углубления заземлителей и выравнивания потенциалов внутри зданий.
Приложение 2
(к главе XI )

Рис. 1 (к пп. 6.1 , 6.4 ). Отдельно стоящий стержневой молниеотвод:
l - протяженность токопровода от точки А до заземлителя; S в - наименьшее допустимое расстояние до защищаемого сооружения; S з - наименьшее допустимое расстояние от заземлителя до металлических коммуникаций; 1 - защищаемое сооружение; 2 - металлические коммуникации

Рис. 2 (к пп. 6.1 , 6.3 , 6.4 ). Отдельно стоящий тросовый молниеотвод:
L - расстояние между молниеотводами; L 1 , L 3 - протяженность токопроводов; L 2 - высота защищаемого сооружения; S в1 , S в2 - наименьшие допустимые расстояния от тросового молниеотвода соответственно в точках А и С до защищаемого сооружения; S з - наименьшее допустимое расстояние от заземления до металлических коммуникаций; 1 - защищаемое сооружение; 2 - металлические коммуникации

Рис. 3 (к пп. 6.3 , 11.14 ). Наименьшие допустимые расстояния от стержневого молниеотвода до защищаемого сооружения

Рис. 4 (к п. 6.3 ). Наименьшие допустимые расстояния от троса в середине пролета до защищаемого сооружения

Рис. 5 (к п. 6.3 ). Наименьшие допустимые расстояния от молниеотвода до защищаемого сооружения

Рис. 6 (к п. 6.8 ). Схема защиты от заноса высоких потенциалов в хранилище

Рис. 7 (к п. 7.1 ). Схема зоны зашиты одиночного стержневого молниеотвода:
1 , 2 - границы зоны защиты на уровнях земли и высоты защищаемого сооружения соответственно

Рис. 8 (к п. 7.2.1 ). Схема зоны защиты двойного стержневого молниеотвода:
1 , 2 , 3 - границы зоны защиты на уровнях земли и высоты защищаемого сооружения соответственно

Рис. 9 (к п. 7.2.2 ). Схема зоны защиты двух стержневых молниеотводов разной высоты:
1 , 2 - границы зон защиты на уровнях земли и высоты защищаемого сооружения соответственно

Рис. 10 (к п. 7.3.1 ). Схема зоны защиты (в плане) многократно стержневого молниеотвода:
L 1 , L 2 , L 3 - расстояния между молниеотводами; 1 , 2 - граница зон защиты на уровнях земли и высоты защищаемого сооружения соответственно

Рис. 11 (к п. 7.4.1 ). Схема зоны защиты одиночного тросового молниеотвода:
1 , 2 - границы зон защиты на уровне земли и высоты защищаемого сооружения соответственно; 3 - трос

Рис. 12 (к п. 7.5.1 ). Схема зоны защиты двойного тросового молниеотвода:
1 , 2 , 3 - границы зон защиты на уровнях земли и высот защищаемого сооружения соответственно; 4 - трос

Рис. 13 (к пп. 8.1.1 , 8.1.3 ). Устройство стержневых молниеотводов на деревянных опорах:
а - двух; б - одной

Рис. 14 (к п. 8.1.5 ). Конструкции молниеприемников из круглой стали (а , б ), стальной трубы (в ), полосовой стали (г ), угловой стали (д ):
1 - токоотвод

Рис. 15 (к п. 8.1.7 ). Зажим для присоединения плоского (а ) и круглого (б ) токоотводов к металлической кровле:
1 - токоотвод; 2 - кровля; 3 - свинцовая прокладка; 4 - стальная пластина; 5 - пластина с приваренным токоотводом

Рис. 16 (к п. 11.11 ). Двухлучевая (а ) и однолучевая (б ) схемы расположения электродов при измерении сопротивлений сложных заземлений и одиночных горизонтальных полос:
П - потенциальный электрод; Т - токовый электрод

Рис. 17 (к п. 11.12 ). Схема измерения сопротивления заземлителей способом трех измерений

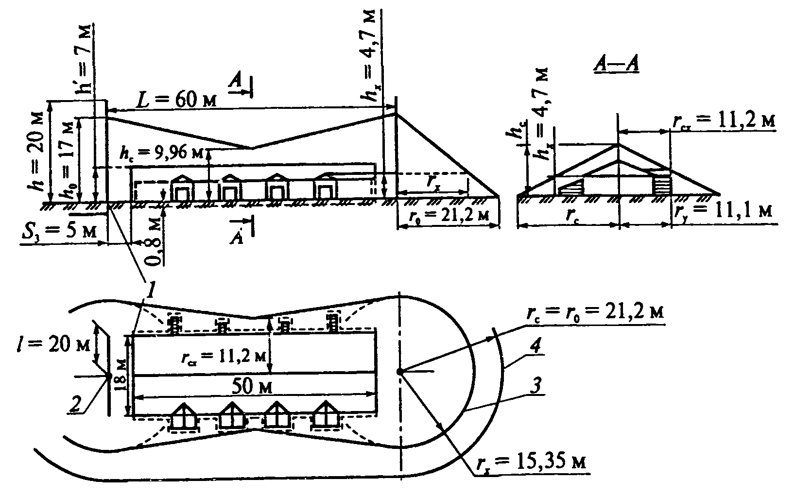
Рис. 18 (к п. 11.14 ). Схема к примеру расчета молниезащиты хранилища взрывчатых материалов:
1 , 2 - заземлители вторичного воздействия и молниеотвода соответственно; 3 , 4 - границы зон защиты на уровнях высоты защищенного сооружения и земли соответственно
Приложение 3
(к п. 9 главы I)
|
Форма ЖУРНАЛ УЧЕТА ИСПЫТАНИЙ ВЗРЫВЧАТЫХ МАТЕРИАЛОВ* ___________________________________________________________________________ [наименование склада организации (шахты, рудника, карьера и т.п.)] 1. Взрывчатые вещества
* Форма Журнала учета испытаний в зависимости от взрывчатых материалов, установленных видов испытаний может быть изменена. Продолжение
АКТ № _______ испытания взрывчатых материалов при ___________________________________________________________ (вид контроля) Испытания проведены на складе ________________________________________________________________ (наименование организации) комиссией в составе заведующего складом взрывчатых материалов _______________ взрывника (лаборанта по испытанию взрывчатых материалов) ___________________ ___________________ «___» _______ 20 __ г. 1. Паспортные данные взрывчатых материалов
3. Результаты физического обследования взрывчатых материалов. 4. Результаты испытаний на взрывчатые свойства (полноту детонации, полноту и равномерность горения и др.) ЗАКЛЮЧЕНИЕ Образец ______________________________________________ от партии № _______ (наименование взрывчатых материалов) удовлетворяет требованиям ___________________________________________________ (наименование стандарта, технических условий) Партия № _________________________________________ допускается к взрывным (наименование взрывчатых материалов) работам ____________________________________________________________________ ___________________________________________________________________________ (условия выполнения взрывных работ) Дата проведения испытаний Подписи |
Приложение 4
(к главе XI )
|
ВЕДОМОСТЬ СОСТОЯНИЯ ЗАЗЕМЛИТЕЛЕЙ МОЛНИЕЗАЩИТЫ НА СКЛАДЕ ВЗРЫВЧАТЫХ МАТЕРИАЛОВ I . Основные технические данные о заземлителях
(должность, Ф.И.О., подпись) Измерения произвел _______________________________________________________ (подпись) II . Результаты осмотра молниезащиты и измерений
(должность, Ф.И.О., подпись) _____________________________________________ (должность, Ф.И.О., подпись) |
Приложение 5
(к п. 52 главы IV )
Форма
ЖУРНАЛ РЕГИСТРАЦИИ ОТКАЗОВ ПРИ ВЗРЫВНЫХ РАБОТАХ
|
№ п/п |
Дата, смена взрывания |
Наименование места взрыва |
Всего зарядов, шт. |
Результаты взрыва |
Подпись взрывника, выявившего отказ |
Ликвидировано отказов |
Дата, смена |
Подпись взрывника, проводившего ликвидацию отказов |
Подпись лица технического надзора, руководившего ликвидацией отказов |
|
|
взорвалось зарядов |
произошло отказов |
|||||||||
|
|
|
|
|
|
|
|
|
|
|
|










___________
2.
Средства инициирования
Продолжение
Рекомендуемая
форма
2.
Результаты наружного осмотра тары и взрывчатых материалов.
Технические
данные внес __________________________________________________
Осмотр
и измерения произвели
_____________________________________________