СН 529-80, часть 2
11. ОХРАНА ТРУДА, ТЕХНИКА БЕЗОПАСНОСТИ И ПРОТИВОПОЖАРНЫЕ МЕРОПРИЯТИЯ
При производстве изделий из плотного силикатного бетона необходимо руководствоваться правилами техники безопасности в соответствии с главой СНиП по технике безопасности в строительстве.
Кроме того, при работе по защите арматуры составами, содержащими органические растворители (цементно-полистирольные, цементно-перхлорвиниловые), необходимо выполнять следующие условия:
пользоваться специальной одеждой (комбинезонами, резиновыми фартуками, перчатками, сапогами и др.), а также распираторами и защитными очками;
помещения или посты, на которых производится эта работа, должны быть оборудованы вентиляцией;
на месте производства работ с этими составами следует иметь противопожарное оборудование (огнетушители, кошму, ящики с песком и т.д.);
бидоны с составами, содержащие органические растворители, нельзя освещать спичками и другими источниками огня во избежание взрыва;
запрещается курить и вести работы, связанные с искрообразованием, в местах нанесения защитных обмазок;
мастики и растворители следует транспортировать в герметически закрытой железной таре (бочках, бидонах) согласно правилам по перевозке огнеопасных материалов.
Приложение 1
Определение содержания в песке кварца (несвязанной SiО2 )
Определение несвязанной SiО2 основано на обработке минеральной породы концентрированным раствором фосфорной кислоты удельного веса 1,78 ¾ 1,80 при температуре 250 ¾ 280 °С. При этих условиях все минеральные составляющие породы переходят в растворимое состояние, а свободный кремнезем не подвергается воздействию фосфорной кислоты и остается в осадке. Важным условием является соблюдение концентрации фосфорной кислоты - удельного веса 1,78 ¾ 1,80. Фосфорная кислота более низкого удельного веса не разлагает в должной мере глинистые материалы.
Необходимые реактивы:
кислота ортофосфорная по ГОСТ 6552¾ 58, плотностью 1,78 — 1,80;
натрий углекислый по ГОСТ 83—79, 5%-ный раствор;
кислота соляная по ГОСТ 3118—77, 5%-ный раствор;
кислота фтористоводородная по ГОСТ 10484—78, 40%-ный раствор.
Навеску 0,5 ¾ 1,0 г, предварительно высушенную при 110 ° С, помещают в платиновую чашку вместимостью 50 мл и прокаливают в муфельной печи в течение часа при температуре 500 ¾ 600 °С.
После охлаждения в чашку медленно наливают 25 мл ортофосфорной кислоты плотностью 1,78 ¾ 1,80, и содержимое чашки перемешивают платиновым шпателем, а затем помещают в термостат или муфельную печь и выдерживают при 250 ¾ 280 °С в течение 30 мин, периодически перемешивая 2-3 раза платиновым шпателем.
По охлаждении в чашку наливают 30 мл дистиллированной воды и переводят осадок в стакан вместимостью 500 мл. Осадок тщательно смывают со стенок чашки дистиллированной водой, доводят объем до 300 мл, тщательно перемешивают и оставляют на 12 ч для отстаивания мелких частиц кремнезема.
Фильтрат отделяют от осадка на воронке Бюхнера (по ГОСТ 9147-73) с помощью вакуум-насоса. На воронку укладывают двойной беззольный фильтр: один маленький по диаметру воронки, а второй несколько больше, чтобы он был загнут и касался стенок воронки.
Осадок на воронке промывают 3-4 раза 5%-ным раствором соляной кислоты и 3-4 раза горячей водой, а затем вместе с фильтром переносят в фарфоровую чашку.
Осадок в чашке обрабатывают 100 мл 5%-ного раствора соды. После окончания промывания содой производят пятикратную обработку осадка 5%-ным раствором соляной кислоты и 8-10 раз кипящей дистиллированной водой.
Промытый осадок с фильтром переносят во взвешенный платиновый тигель, озоляют при низкой температуре и прокаливают при температуре 1050 ¾ 1100 °С до постоянной массы.
Для проверки чистоты полученного кремнезема, прокаленный осадок обрабатывают 10 мл плавиковой кислоты с добавлением 4-5 капель концентрированной серной кислоты.
После отгонки SiО2 плавиковой кислотой определяют количество примесей, захваченных осадком, и вычитают их массу из массы осадка. Содержание кварца (несвязанной SiО2 ) определяют по формуле:
SiО2
несвяз
=
%,
где а ¾ масса после прокаливания, г;
А ¾ масса навески, г.
Приложение 2
Определение удельной поверхности измельченного песка в вяжущем
Удельную поверхность молотого песка определяют путем измерения скорости прохождения воздуха через слой материала на приборе ПСХ-4.
Отделение молотого песка из вяжущего производят следующим образом: берут навеску известково-песчаного вяжущего в количестве 30 г, высыпают в химический стакан, куда небольшими порциями наливают горячую 10%-ную соляную кислоту, взятую в количестве 100 мл. (содержимое перемешивают стеклянной палочкой до прекращения газовыделения.
После этого стакан нагревают на плитке с асбестовой прокладкой до кипения. Затем смесь взбалтывают и фильтруют. Измельченный песок, оставшийся на фильтровальной бумаге, промывают теплой водой до получения нейтральной реакции.
Осадок на фильтре высушивают в сушильном шкафу при температуре 110 °С до постоянной массы. Пробу из этого осадка подвергают анализу на приборе ПСХ-4, снабженном соответствующей инструкцией.
Приложение 3
Определение содержания в вяжущем зерен активных CaO+MgO (CaOсво б ) крупнее 0,2 мм
Усредненную пробу вяжущего массой 100 г просеивают через сито №02.
В остатке определяют содержание активных CaO+MgO по ГОСТ 22688-77 (CaOсво б по ТУ 21-31-34-80), Расчет содержания в вяжущем активных CaO+MgO (CaOсво б ) крупнее 0,2 мм производят по формуле
где h ¾ содержание активных CaO+MgO (CaOсво б ) крупнее 0,2 мм, %;
N ¾ остаток вяжущего на сите № 02, %;
A ¾ содержание активных CaO+MgO (CaOсво б ) в остатке на сите № 02,%.
Приложение 4
Определение степени гидратации извести в вяжущем по тепловыделению
Определение степени гидратации извести в вяжущем по тепловыделению производят по установленным ранее для разных составов вяжущего эталонным кривым зависимости
b = f (D t ),
где b ¾ степень гидратации извести в вяжущем, %;
D t ¾ разница между максимальной температурой гидратации вяжущего и исходной температурой суспензии вяжущего, °С.
Для построения эталонных кривых следует использовать известково-кремнеземистое вяжущее трех составов с содержанием активной СаО порядка 25, 30 и 35% с применением извести и песка конкретного предприятия. Для определения степени гидратации извести берут навеску вяжущего и воды по 20 г и готовят суспензию в сосуде Дьюара. Начальные температуры вяжущего и воды должны быть равными 20° С. Колбу сосуда закрывают пробкой с плотно вставленным термометром на 100 °С и оставляют в покое. Отсчет температуры прекращают после начала ее снижения, фиксируют максимальную температуру гидратации извести — t ° Смакс . Рассчитывают D t = t ° Смакс - t °Снач .
Одновременно определяют степень гидратации извести по аналитическому методу (прил. 5).
По экспериментальным данным строят эталонные кривые зависимости D t от степени гидратации извести для каждого из исследуемых составов (рис.1).

Рис. 1. Эталонные кривые зависимости тепловыделения (D t , ° С) и степени гидратации извести в вяжущем (b , %)
1 ¾ активный СаО в вяжущем ¾ 25%; 2 ¾ активный СаО в вяжущем ¾ 30%; 3 ¾ активный СаО в вяжущем ¾ 35%
Описываемый метод не отличается большой точностью и применяется в качестве экспресс-метода во время контроля свойств вяжущего в процессе его приготовления. Определяя во время помола содержание активной СаО в вяжущем и величину D t , корректируют в нужном направлении дозировку компонентов вяжущего (песка, извести и воды) для получения вяжущего заданного состава и степени гидратации извести.
Приложение 5
Определение степени гидратации извести в вяжущем аналитическим методом
Фарфоровый тигель, предварительно высушенный в термостате при 120 ° С в течение 30 мин, охлаждают в эксикаторе 20 мин и взвешивают на аналитических весах вместе с тонкой стеклянной палочкой длиной 1-4 см.
Навеску вяжущего 3 г высыпают в тигель и взвешивают вместе с палочкой на аналитических весах. Во взвешенную пробу вливают 3 мл дистиллированной воды, перемешивают стеклянной палочкой, которую оставляют в тигеле, высушивают пробу в термостате в течение 1 ч при 120 ° С, первые 30 мин тигель накрывают крышкой. Затем охлаждают пробу в эксикаторе в течение 20 мин и взвешивают. Для проверки полноты высушивания дополнительно сушат пробу в течение 30 мин. После получении постоянной массы определяют степень гидратации и вяжущем:
где b ¾ количество гидратной извести, т.е. извести, находящейся в виде Са(ОН)2 , по отношению к общему содержанию активной СаО в вяжущем, %;
Р ¾ навеска исследуемого материала, г;
D Р ¾ изменение массы материала при высушивании, г;
А ¾ содержание активной СаО в вяжущем, %.
Приложение 6
Определение степени гидратации извести в вяжущим методом прокаливания
Определение степени гидратации извести в вяжущем производят путем определения в нем связанной воды и активной окиси кальция. Для определения связанной воды пробу вяжущего предварительно высушивают в сушильном шкафу при температуре 105 — 110° С в течение 2 ч и охлаждают в эксикаторе с поглотителем влаги (прокаленных хлористый кальций, натронная известь).
В предварительно прокаленный и взвешенный платиновый или фарфоровый тигель, отвешивают 1-2 г высушенной пробы вяжущего и помещают на 2 ч в муфельную печь, нагретую до температуры 520± 10° С. Тигель с навеской охлаждают в герметически закрытом эксикаторе с поглотителем влаги, а затем взвешивают.
Содержание гидратной воды определяют по формуле
где W ¾ содержание гидратной воды, г, на 1 г вяжущего;
а ¾ навеска вяжущего, г;
b ¾ навеска вяжущего после прокаливания, г.
Определение общего содержания активной окиси кальция в вяжущим осуществляют по сахаратному способу в соответствии с ГОСТ 2268-77. Степень гидратации извести в вяжущем рассчитывают по формуле
где b ¾ степень гидратации извести в вяжущем, %;
А ¾ содержание активной СаО, %;
0,32 ¾ количество воды на гидратацию 1 г СаО;
W ¾ содержание гидратной воды, г.
Приложение 7
Определение содержания свободной окиси кальция в известково-белито-песчаных вяжущих
Применяемые реактивы и растворы:
сахароза по ГОСТ 5833-75, 10%-ный раствор,
фенолфталеин по ГОСТ 5850—72, 1%-ный спиртовой раствор,
соляная кислота по ГОСТ 31 18—77, 1н. титрованный раствор.
Навеску вяжущего около 2 г помещают в коническую колбу вместимостью 250 мл, добавляют 100 мл раствора сахарозы, плотно закрывают пробкой и энергично взбалтывают в течение 15 мин.
Для улучшения перемешивания в колбу предварительно помещают 3 ¾ 5 стеклянных бус или оплавленных стеклянных палочек длиной 5 ¾ 7 мм.
Содержимое колбы фильтруют на воронке Бюхнера с применением вакуум-насоса. Стенки колбы и остаток на фильтре промывают 10%-ным раствором сахарозы из промывалки по 3 ¾ 4 раза (примерное количество раствора сахарозы для промывки ¾ 100 мл). В фильтрат добавляют 2 ¾ 3 капли фенолфталеина и титруют 1н. раствором соляной кислоты. Титрование производят по каплям до исчезновения розовой окраски. Количество свободной окиси кальция в процентах вычисляют по формуле
,
где V ¾ объем 1н. раствора соляной кислоты, пошедшей на титрование мл.;
ТСаО ¾ титр 1н. раствора соляной кислоты, выраженный в г СаО;
G ¾ масса навески вяжущего, г.
Приложение 8
Подбор состава бетона
1. Бетонные смеси готовят по первому способу (см. разд. 3).
Исходными данными для назначения состава бетона являются: требуемая марка бетона, требуемая удобоукладываемость смеси, характеристика исходных материалов, давление пара и продолжительность изотермической выдержки.
В основу описываемого способа подбора состава силикатного бетона заложена взаимосвязь между прочностью бетона и вяжущеводным отношением:
,
где R — прочность бетона;
B ¾ вяжущее;
W ¾ вода.
Вначале определяют свойства исходных материалов. Если они соответствуют требованиям, приведенным в настоящей Инструкции, подбор состава бетона ограничивается изготовлением образцов-кубов из бетонных смесей разного состава без изготовления крупноразмерных изделий требуемой номенклатуры.
Учитывая, что состав вяжущего и тонкость измельчения его компонентов при принятом режиме автоклавной обработки определяют реакционную способность измельченной смеси, в целях выбора наиболее рационального состава силикатного бетона с меньшим расходом цементирующего вещества, при подборе состава бетона варьируют составами вяжущего, отличающимися соотношением в них СаО:SiO2 .
В первых опытах по подбору состава бетонов марок от М 150 до М 500 следует использовать вяжущее с содержанием активной СаО 35± 3% и тонкостью измельчения по удельной поверхности молотого песка для марок М 150 - 200 в пределах 1000 ¾ 1300 см2 /г, для более высоких марок — 1500 — 2200 см2 /г; степень гидратации извести в вяжущем в пределах 60 ¾ 80%. В экспериментах по подбору состава бетона необходимо соблюдать следующие условия:
удобоукладываемость смесей назначать с учетом принятых на производстве средств уплотнения и типа формуемого изделия, его конфигурации, степени армирования и пр.;
уплотнение бетонных смесей производить теми же средствами, которые приняты при изготовлении изделий на предприятии (например, на виброплощадке с теми же динамическими параметрами вибрации); продолжительность уплотнения смесей назначать с учетом достижения максимальной объемной массы бетона (60-90 с);
формовать образцы тех же размеров, какие будут приняты на производстве при контроле прочности бетона;
гидротермальную обработку образцов производить по режиму, принятому на производстве или заложенному в проекте,
Зависимость между прочностью бетона и В /W на определенном участке представляет собой прямую, поэтому для ее построения достаточно иметь две точки. Однако в целях контроля для построения такой зависимости необходимо иметь три точки.
В соответствии с этим на основе вяжущего изготовляют образцы из бетонных смесей трех составов. При постоянстве показателей жесткости смесей они будут отличаться по расходу вяжущего и его составляющих, а также по значениям В /W.
Для удобства расчетов при проведении экспериментов задаются различными значениями содержания активной СаО в бетонной смеси с тем, чтобы получить разные прочности бетона ¾ например 4,0; 5,5 и 7,0%; величину В /W определяют фактическую по выявленным в опыте расходам вяжущего и воды.
При расчете сухих компонентов бетонной смеси на 1 замес следует исходить из того, что суммарное количество вяжущего и песка-заполнителя на 1 л бетонной смеси (с учетом возможных потерь при изготовлении образцов) составит 2,4 кг. Тогда для изготовлении трех образцов-близнецов с общим объемом, V потребуется
В + П = 2,4 V ,
где V — объем трех образцов, л;
В ¾ расход вяжущего на 1 замес, кг;
П ¾ расход песка на 1 замес, кг.
Для каждого состава бетонной смеси расход вяжущего на 1 замес определяется по формуле
,
где aб — принятое содержание активной СаО в бетоне;
aв — содержание активной СаО (свободной СаО) в используемом вяжущем
Расход песка на 1 замес: П = 2,4 В .
Количество воды затворения подбирают из условия получения бетона требуемой жесткости, контролируемой показателем жесткости (см. прил. 9). Ориентировочно содержание воды в бетонной смеси, уплотняемой вибрацией, в зависимости от свойств материалов и консистенции бетонкой смеси изменяется в пределах 8 — 12% от веса сухих компонентов.
Для вычисления расхода материалов на 1 м3 бетона при изготовлении образцов определяется объемная масса уплотненной бетонной смеси. Для этого необходимо взвесить форму без смеси, а затем ту же форму ¾ с уплотненной бетонной смесью.
Объемная масса уплотненной бетонной смеси g б.см определяется следующим образом:
g
б.см
=
,
где Q1 ¾ масса формы без смеси, кг;
Q 2 ¾ масса формы с уплотненной бетонной смесью, кг;
V — объем формы, л.
Расход материалов, кг/м3 , бетона составит:
вяжущего
×
1000;
песка-заполнителя
×
1000;
воды
×
1000.
Величины В , П и W расход вяжущего, песка и воды на 1 замес.
Через сутки после окончания автоклавной обработки образцы освобождают от форм, взвешивают и определяют объемную массу отвердевшего бетона и предел прочности его при сжатии.
По полученным значениям прочности бетона в пересчете на марку (R б ), расхода вяжущего (В ) и величины вяжуще-водного отношения (В /W ) строят графики зависимостей:
R б = f (В /W ); В = f (В /W ).
На основании построенных графиков, представляющих собой отрезки прямых, не проходящих через начало координат, для бетона требуемой марки определяют величины В /W и В и рассчитывают содержание активной CаО в бетонной смеси.
В случае, если бетон требуемой марки не получен на основе исследуемого вяжущего, следует либо изменить его состав (уменьшить в нем содержание активной), либо повысить дисперсность молотого песка в нем (в пределах, указанных в табл. 1).
Таблица 1
|
Содержание |
Содержание |
Влажность |
|
Состав смеси по весу, кг* |
Вес, кг
|
||||
|
активной СаО в вяжущем, % |
активной СаО в бетонной смеси |
бетонной смеси |
В W |
вяжущее |
песок |
вода |
формы |
формы с бетоном |
бетона в объеме формы |
|
1 |
2 |
3 |
4 |
5 |
6 |
7 |
8 |
9 |
10 |
|
36,6 |
4,0 |
7,6 |
1,43 |
0,79 230 |
6,41 1873 |
0,55 162 |
7,555 |
14,350 |
6,795 |
|
36,6 |
5,5 |
8,0 |
1,88 |
1,08 315 |
6,12 1782 |
0,575 168 |
10,300 |
17,100 |
6,800 |
|
36,6 |
7,0 |
8,4 |
2,27 |
1,375 402 |
5,82 1720 |
0,605 178 |
7,960 |
14,870 |
6,910 |
Продолжение табл. 1
|
|
Бетонные образцы |
||||||
|
Объемная масса |
Размеры, см |
|
Объемная |
Предел прочности при сжатии, МПа |
|||
|
сырца, кг/м3 |
a |
b |
h |
Вес, кг |
масса, кг/м3 |
фактический |
в пересчете на кубы с ребром 15 см |
|
11 |
12 |
13 |
14 |
15 |
16 |
17 |
18 |
|
|
10,1 |
10 |
10,1 |
2115 |
2070 |
37,8 |
|
|
2265 |
10 |
10 |
10 |
2100 |
2100 |
39,2 |
|
|
|
10 |
10 |
10 |
2095 |
2095 |
35,2 |
|
|
|
|
|
|
Сред. |
2090 |
37,4 |
34,0 |
|
|
9,9 |
10 |
10 |
2115 |
2140 |
51,3 |
|
|
2265 |
10 |
10 |
10 |
2125 |
2125 |
46,8 4 |
|
|
|
10 |
10 |
10 |
2130 |
2130 |
47, |
|
|
|
|
|
|
Сред. |
2130 |
48,2 |
43,8 |
|
|
10,1 |
10 |
10 |
2175 |
2130 |
56,2 |
|
|
2300 |
10 |
10 |
10 |
2150 |
2150 |
61,7 |
|
|
|
10 |
10 |
10 |
140 |
2140 |
16,6 |
|
|
|
|
|
|
Сред. |
2140 |
58,5 |
53,2 |
*Над чертой ¾ расход материала на 1 замес, под чертой ¾ на 1 м3 бетона.
Поясним предложенное конкретным примером.
Для изготовления панелей внутренних стен толщиной 16 см требуется применять силикатный бетон марки М 300 с показателем жесткости 20 с.
Для приготовления вяжущего используют известь с содержанием в ней активной окиси кальция 80 %. Основные показатели свойств песка, применяемого в качестве компонента вяжущего:
песок очень мелкий, Мк ¾ 1,11;
содержание SiO 2несвяз ¾ 94,8%;
органические примеси ¾ светлее эталона;
отмучиваемые пылевидные, глинистые и илистые примеси - 0,5%.
Свойства песка заполнителя:
содержание SiO 2несвяз ¾ 56,8%;
модуль крупности ¾ 3,l;
содержание отмучиваемых примесей ¾ 2,7%.
Таким образом, песок как компонент вяжущего и как заполнитель удовлетворяет нормативным требованиям.
Применение разных песков для приготовления вяжущего и в качестве заполнителя обусловлено тем, что последний, вследствие большой крупности, нецелесообразно подвергать измельчению, если имеются карьеры более мелкого песка, тем более с повышенным содержанием SiO 2несвяз .
Учитывая требования к прочности бетона (марка М300) и свойства сырья (высокое содержание кварца в песке-компоненте вяжущего, крупный песок-заполнитель хорошей гранулометрии) принимают состав вяжущего по содержанию активной СаО, близкий к верхнему пределу ¾ 38%, а степень измельчения вяжущего по удельной поверхности молотого песка, равной 1500 см2 /г.
В рассматриваемом примере фактическое содержание активной СаО в вяжущем составило 36,6%, а удельная поверхность молотого песка ¾ 1500 см2 /г.
На основе исследуемых материалов (вяжущего и песка) были приготовлены бетонные смеси с содержанием активной СаО 4; 5,5 и 7% с одинаковым показателем жесткости — 20 с. Уплотнение смесей осуществлялось вибрацией при частоте колебаний 2800 в мин и амплитуде 0,7 — 0,8 мм. Изготовляли кубы с ребром 10 см. Автоклавирование производили при 1,0 МПа с изотермической выдержкой 4 ч.

Рис. 2. Зависимость прочности бетона от вяжуще-водного отношения (В /W )
Результаты опытов по подбору состава бетона приведены в табл. 1 и на рис. 2, где по оси абсцисс отложена величина R б , равная прочности бетона в кубах с ребром 10 см, умноженной на коэффициент 0,91 в соответствии с ГОСТ 10180-78. Опыты показали, что даже при самом меньшем значении B /W для состава бетона с содержанием активной СаО ¾ 4% получен бетон с прочностью 340 кгс/см2 , т.е. выше требуемой.
По данным рис. 2 находим, что бетон марки М 300 получается при величине B /W равной 1,28 и расходе вяжущего на 1 м3 бетона - 200 кг/м3 , из них извести 200× 36,6/80 = 92 кг/м3 и молотого песка 200 92 = 108 кг/м3 .
Расход воды на кубометр бетона составляет 200/1,23 = 156 л, а суммарное количество сухих компонентов:
g сырца W = 2260 156 = 2104 кг.
Содержание извести в бетоне рекомендуемого состава:
aб
.см
=
=
3,5%; принимаем минимально допускаемое ¾
4%.
В рассматриваемом примере бетон марки М300 получен при небольшом расходе вяжущего и содержании извести в бетонной смеси вследствие использования благоприятного сырья, характеристика которого была приведена выше.
Подобранный состав бетона проверяется испытанием контрольных образцов, изготовляемых одновременно с крупными изделиями, и в случае надобности корректируется. При необходимости установления оптимальной продолжительности выдержки изделий при постоянном давлении, опыты по подбору состава бетона проводятся при автоклавировании образцов с разными сроками изотермического периода.
Влияние состава бетонной смеси на прочность бетона во многом зависит от свойств сырья, в частности от содержания кварца в песке-компоненте вяжущего и песке заполнителе и пр. не исключено, что в некоторых случаях изменения в составе бетонной смеси в пределах, приведенных в рассмотренном выше примере, могут практически не отразиться на прочности бетона. В таком случае, естественно, выбирается состав бетона, обеспечивающий получение требуемой марки при минимальном расходе вяжущего.
2. Бетонные смеси готовят по второму способу (см. разд. 3).
Для расчета расхода материалов на 1 м3 бетонной смеси исходными данными являются:
марка бетона;
объемная масса бетона, кг/м;
содержание активных СаО+Мg О в бетонной смеси (aсм ), %;
масса 1 м3 бетона (Рб ), кг;
содержание тонкомолотого кварцевого песка (П м ), %;
величина водотвердого отношения (В /Т ).
Кроме того, устанавливают количество извести по содержанию активной СаО+Мg О (aи ),%.
Потребность в активной СаО+Мg О извести, кг, рассчитывается по формуле
Потребность в валовой извести определяется по формуле
кг.
Потребность в молотом песке определяется по формуле
кг.
Затраты воды на гидратацию извести рассчитываются по формуле
кг.
Состав вяжущего и бетонной смеси назначается с учетом требуемой прочности бетона, руководствуясь данными приведенными в табл. 2.
Таблица 2
|
Марка бетона, М |
Содержание в бетонной смеси, % |
|
|
|
активной СаО |
молотого песка |
|
150 |
5 ¾ 6 |
5 ¾ 6 |
|
200 |
6,5 ¾ 7 |
6 ¾ 8 |
|
300 |
7 ¾ 8 |
8 ¾ 10 |
Расход гидратированного вяжущего на приготовление 1 м3 бетона рассчитывается по формуле рвяж = Ив + Рм + Вг , кг. Масса сухого карьерного песка определяется по формуле
= g
б
(рвяж
+ Вмех
) кг,
где Вмех
¾
свободная влага, содержащаяся в бетоне, кг, определяется по формуле
Вмех
=
где W б ¾ остаточная влажность бетона через сутки после автоклавирования, %.
Масса карьерного песка естественной влажности рассчитывается по формуле
кг,
По данным расчета приготовляют бетонные смеси и формуют лабораторные образцы при принятом значении В/Т и В/Т ± 0,02. После уплотнения определяют объемную массу сырого бетона, рассчитывают объемную массу автоклавированного бетона.
При недостаточном уплотнении бетонной смеси производят повторную формовку, увеличивая величину В/Т на 0,01 до получения бетона удовлетворительной плотности. Через сутки после автоклавирования образцы испытывают на прочность при сжатии. При соответствии прочности бетона требованиям проекта бетонная смесь принимается в производство. В случае меньшей прочности бетона состав бетонной смеси корректируют за счет изменения содержания извести, молотого песка и воды. В первую очередь изменяют В/Т, затем повышают содержание молотого песка и содержание активных СаО+Мg О, т.е. расход вяжущего.
Пример расчета состава бетонной смеси
Проектируемая марка бетона ¾ 200.
Объемная масса бетона g б = 1950 кг/м3 .
Содержание активных СаО+Мg О в извести ¾ 75%.
Ориентировочная величина В/Т в пределах 0,10 ¾ 0,14.
Содержание в бетонной смеси активных CaOMgO и содержание молотого песка принимаем ориентировочно по табл. 2: Асм = 6,5%, Пм = 6%.
Равновесная влажность бетона Вмех = 5%
Определяет потребность в активной СаО+Мg О:
кг
Определяем вес извести по валу:
кг.
Определяем потребность в сухом молотом песке:
кг.
Определяем вес карьерного песка, расходуемого на приготовление вяжущего при W п = 3%:
кг.
Вес вяжущего, расходуемого на изготовление 1 м бетона:
рвяж
=
Ив
+
=
169 + 121 = 290 кг.
Общие затраты воды на гидратацию вяжущего:
=
0,32×
127 = 41 кг.
Потребность в дополнительной воде на реакцию гидратации:
=
(
рм
)
= 41 (121 117) = 41
4 = 37 кг.
Вес вяжущего после завершения процесса гидратации извести:
=
рвяж
+
=
290 + 37 = 327 кг.
Вес сухого песка-заполнителя:
= g
б
(
+
Вмех
) = 1950 (327 +
×
5)
= 1950 424 =
= 1526 кг.
Вес песка-заполнителя при W п = 3%.
кг.
Вес воды в карьерном песке-заполнителе:
Вкар
=
=
1572 1526 = 46 кг
Общая потребность в формовочной воде при В/Т ¾ 0,10; 0,12; 0,14:
Вобщ
= Рсух
В
/Т =
(
+
)
В/Т =
1852 В
/Т
;
Вобщ.1 = 1852 × 0,10 = 185 л;
Вобщ.2 = 1852 × 0,12 = 222 л;
Вобщ.3 = 1852 × 0,14 = 259 л;
Расход компонентов бетонной смеси на 1м3 бетона:
известь воздушная, кг 169;
песок молотый, сухой, кг 117;
вода на гидратацию
активных СаО+Мg О, л 41;
песок-заполнитель (сухой), кг 1526;
0,10 185;
0,12 222;
0,14 259.
Приложение 9
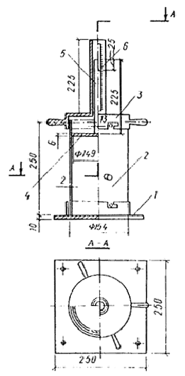
Способ определения жесткости бетонных смесей и устройство для его осуществления
1. Жесткость бетонной смеси Ж характеризуется временем вибрации с, необходимым для полного уплотнения бетонной смеси, уложенной в цилиндре прибора для определения жесткости (рис. 3).
2. Уплотнение бетонной смеси в приборе производят на лабораторной виброплощадке, которая с установленным на ней прибором без бетонной смеси должна обеспечивать вертикально направленные колебания с частотой 2800 ¾ 3000 в 1 мин и амплитудой 0,5 мм.

Рис. 3. Прибор для определения жесткости известково-песчаной бетонной смеси
1 ¾ плита; 2 ¾ цилиндр; 3 ¾ крышка; 4 ¾ диск; 5 ¾ штанга;
6 ¾ стрелка
3. Виброплощадка должна иметь устройства, обеспечивающие при испытании бетонной смеси жесткое крепление прибора к поверхности стола виброплощадки.
4. Цилиндр прибора изготовляют из листовой стали. Внутренняя сторона цилиндра должна иметь гладкую поверхность, степень шероховатости которой не должна быть более 40 мк.
5. Общая масса диска 4 и штанги 5 со стрелкой-указателем 6 прибора должна составлять 1750± 50 г.
6. Определение жесткости бетонной смеси производят следующим образом:
вначале очищают и протирают влажной тканью все соприкасающиеся с бетонной смесью поверхности прибора;
прибор устанавливают на виброплощадку и жестко закрепляют опорную плиту 1, на которой крепят цилиндр 2;
цилиндр заполняют бетонной смесью путем свободного засыпания ее кельмой с высоты 1 ¾ 5 см; избыток смеси срезают металлической линейкой вровень с верхними краями цилиндра;
на уложенную в цилиндре смесь устанавливают диск прибора 4 со штангой 5, проходящей через крышку 3, затем крышку закрепляют на цилиндре. После этого одновременно включают виброплощадку и секундомер и наблюдают за уплотнением смеси в цилиндре по перемещению стрелки-указателя 6 в прорези вертикальной части крышки прибора;
бетонную смесь вибрируют в цилиндре до полного ее уплотнения, которое определяется прекращением перемещения стрелки-указателя. В момент полного уплотнения смеси выключают виброплощадку и секундомер. Полученное время, с, от начала до конца уплотнения характеризует жесткость бетонной смеси.
жесткость бетонной смеси вычисляют с точностью до 1 с как среднее арифметическое результатов двух определений жесткости из одной пробы смеси, отличающихся между собой не более чем на 20%; при большем расхождении результатов определения повторяют.
