СП 40-103-98
СП 40-103-98
СВОД ПРАВИЛ ПО ПРОЕКТИРОВАНИЮ И СТРОИТЕЛЬСТВУ
ПРОЕКТИРОВАНИЕ И МОНТАЖ ТРУБОПРОВОДОВ СИСТЕМ ХОЛОДНОГО И ГОРЯЧЕГО ВНУТРЕННЕГО ВОДОСНАБЖЕНИЯ С ИСПОЛЬЗОВАНИЕМ МЕТАЛЛОПОЛИМЕРНЫХ ТРУБ
DESIGN AND INSTALLATION OF PIPELINES FOR INTERNAL GOLD AND HOT WATER SUPPLI SYSTEMS USING METALPOLIMERIC PIPES
ПРЕДИСЛОВИЕ
1 РАЗРАБОТАН Научно-исследовательским институтом московского строительства (НИИмосстрой) Российской Федерации и техническим комитетом в составе: МНИИТЭП, ГПК СантехНИИпроект, НИИсантехники, НИКИМТ, ЗАО «Гента», ТОО НПП «ВладВЭД»
2 ОДОБРЕН для применения:
Госстроем России, письмо № 13-362 от 26.06.98;
Межгосударственной научно-технической комиссией по стандартизации, техническому нормированию и сертификации в строительстве (МНТКС), протокол от 20.05.98
3 Настоящий Свод правил представляет собой аутентичный текст Межгосударственного свода правил МСП 4.01-102-98 «Проектирование и монтаж трубопроводов систем холодного и горячего внутреннего водоснабжения с использованием металлополимерных труб»
СОДЕРЖАНИЕ
Введение
1 Область применения
2 Проектирование внутреннего водопровода зданий из металлополимерныхтруб
3 Монтаж внутреннего водопровода зданий из металлополимерных труб
4 Испытания трубопроводов из металлополимерных труб
5 Эксплуатация
6 Транспортирование и xpaн ение металлополимерных труб
7 Требования техники безопасности
Приложение А Технические характеристики металлополимерных труб
Приложение Б Сортамент соединительных деталей и фитингов
ВВЕДЕНИЕ
Свод правил по проектированию и монтажу систем внутреннего холодного и горячего водоснабжения водопровода зданий из металлополимерных труб содержит дополнительные требования, рекомендации и справочные материалы к действующим нормативным документам.
В Своде правил приведены требования и рекомендации по гидравлическому расчету и подбору металлополимерных труб и фасонных деталей к ним, по конструктивным решениям прокладки труб в помещениях, приведены также сортаменты труб известных поставщиков и производителей.
При разработке Свода правил использованы положения действующих нормативных документов, материалы заводов-изготовителей, в том числе зарубежных.
По мере накопления опыта проектирования, строительства и эксплуатации систем водоснабжения из металлополимерных труб и фасонных деталей в Свод правил будут внесены необходимые изменения и дополнения.
В разработке настоящего Свода правил принимали участие: А.В. Сладков, Н.В. Митрофанова (НИИМосстрой), В.А. Глухарев (Госстрой России), Л.П. Домарацкая, Т.Ф. Фатеева, В.И. Терехин (НИКИМТ), С.И. Прижижецкий (МНИИТЭП), Ю.Н. Саргин (СантехНИИпроект), В.Э. Дорофеев (ТОО НПП «ВладВЭД»), А.Г. Гонтуар (АО «Каучук»), А.В. Чурдалев (ЗАО «Гента»).
Замечания и предложения по совершенствованию Свода правил следует направлять в ГП ЦНС.
1 ОБЛАСТЬ ПРИМЕНЕНИЯ
1.1 Настоящий Свод правил распространяется на проектирование, монтаж и ремонт строящихся и реконструируемых систем внутреннего холодного и горячего водоснабжения из металлополимерных труб (далее — трубы).
Металлополимерные трубы предназначены для систем внутреннего хозяйственно-питьевого водопровода с давлением до 1 МПа и температурой воды до 75 °С.
Запрещается применение металлополимерных труб для противопожарного водопровода.
1.2 При проектировании и монтаже необходимо применять трубы, имеющие гигиенический сертификат и сертификат соответствия, выданный государственными органами
2 ПРОЕКТИРОВАНИЕ ВНУТРЕННЕГО ВОДОПРОВОДА ЗДАНИЙ ИЗ МЕТАЛЛОПОЛИМЕРНЫХ ТРУБ
2.1 При проектировании систем внутреннего холодного и горячего водоснабжения из металлополимерных труб следует руководствоваться требованиями свода правил «Проектирование и монтаж трубопроводов систем водоснабжения и канализации с использованием труб из полимерных материалов. Общие положения», настоящего Свода правил и других нормативных документов.
2.2 При проектировании внутреннего водопровода рекомендуется применять трубы для стояков диаметром более 20 мм. Поэтажное присоединение к стоякам следует выполнять, как правило, из труб наружным диаметром 14 и 16 мм через распределительные коллекторы (рисунок 1, приложение Б, поз. 26 таблицы Б.2).
2.3 Распределительный коллектор может иметь два отводящих штуцера или более и устанавливается в квартире, на ответвлении от подающего стояка из стальных или металлополимерных труб после (шарового) вентиля, механического фильтра, водосчетчика.
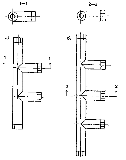
2.4 Допускается прокладка водопроводных металлополимерных труб в санитарно-технических кабинах в качестве стояков преимущественно с использованием междуэтажных вставок из этих труб (рисунки 2—4).

а - с односторонним прямым расположением 2 отводящих штуцеров;
б - с односторонним прямым расположением 3 отводящих штуцеров.
Рисунок 1 - Стальной распределительный коллектор

1 — подающий стояк из МПТ 2025; 2 — междуэтажная вставка из стальной трубы, 3 — подвижное крепление; 4 — латунный тройник, 5 — вентиль; б — фильтр; 7 — поквартирный регулятор давления; 8 — водосчетчик; 9 — распределительный коллектор; 10, 12 — 14 — подводки из МПТ 1216 соответственно к смесителю кухонной мойки, к смывному бачку унитаза, к смесителям ванны и умывальника, биде; 11 — соединительная деталь; 15 — неподвижное крепление, 16 — стальная гильза; 17 — междуэтажное перекрытие
Рисунок 2 — Схема этажестояка из МПТ холодного водопровода с распределительным коллектором в сборе с подводками из МПТ

1 — подающий стояк из МПТ 2025, 2 — междуэтажная вставка из стальной трубы, 3 — подвижное крепление, 4 — латунный тройник, 5 — вентиль; 6 — фильтр, 7 — поквартирный регулятор давления, 8 — водосчетчик, 9 — распределительный коллектор; 10— 12— подводки из МПТ 1216 соответственно к смесителям кухонной мойки, ванны и умывальника, биде; 13 — неподвижное крепление, 14 — стальная гильза, 15 — междуэтажное перекрытие
Рисунок 3 — Схема этажестояка из МПТ горячего водопровода с распределительным коллектором в сборе с подводками из МПТ

1 — междуэтажная вставка из МПТ 2025; 2 — латунный тройник, 3 — вентиль; 4 — неподвижное крепление; 5 — подвижное крепление; б — гильза, 7 — междуэтажное перекрытие
Рисунок 4 — Этажестояк с междуэтажной вставкой из МПТ
Таблица 1
|
Деталь |
Схематическое изображение детали |
Значение коэффи циента |
|
Угольник 90° |
|
2,0 |
|
Тройник |
|
1,5 |
|
Крестовина |
|
3,0 |
|
Отступ |
|
0,5 |
|
Обход |
|
1,0 |
|
Внезапное изменение сечения: расширение |
|
1,0 |
|
сужение |
|
0,5 |
2.5 Удельные потери напора по длине и скорость течения воды в зависимости от расхода воды в трубопроводах различных типов труб приведены в приложении А.
2.6 Коэффициенты местного сопротивления соединительных деталей для водопровода из металлополимерных труб следует принимать по таблице 1.
2.7 Компенсация температурных удлинений должна осуществляться, как правило, за счет самокомпенсации отдельных участков трубопровода: поворотов, изгибов, прокладки труб «змейкой». Это достигается правильной расстановкой неподвижных креплений, делящих трубопровод на независимые участки, деформация которых воспринимается поворотами трубопровода.
2.8 При расстановке неподвижных креплений следует учитывать, что перемещение трубы в плоскости, перпендикулярной стене, ограничивается расстоянием от поверхности трубы до стены. Расстояние от неподвижных опор до стены должно быть не менее 2 диаметров трубопровода.
2.9 Установку компенсаторов следует предусматривать при невозможности компенсации удлинений за счет поворотов трубопроводов.
2.10 Удлинение участка трубопровода (мм) при максимальной температуре воды в трубопроводе следует определять по формуле
D l = 0,025· L · D t , (1)
где L - длина участка трубопровода, м;
t - разность температуры при монтаже и эксплуатации, °С.
2.11 Расчет компенсирующей способности П-образного, Г-образного и петлеобразного компенсаторов следует определять по формуле
,
(2)
где Lк - длина участка компенсатора, восприни мающего температурные изменения длины трубопровода, мм;
d н - наружный диаметр трубы, мм;
D l - температурное изменение длины расчетного участка трубопровода, мм.
Примеры устройства компенсаторов из металлополимерных труб представлены на рисунке 5.
2.12 Петлеобразный компенсатор следует применять при величине температурного удлинения трубопровода D l ³ 0,4d .
2.13 Расстояние между скользящими креплениями следует принимать согласно таблице 2.

а)

б)

в)
Рисунок 5 — Устройство компенсаторов П-образного (а), Г-образного (б), петлеобразного (в)
Таблица 2
В миллиметрах
|
Наружный диаметр |
Расстояние между скользящими креплениями |
|
|
МПТ |
при горизонтальной прокладке |
при вертикальной прокладке |
|
До 16 |
500 1000* |
1000 2000* |
|
20 |
500 1000* |
1000 2000* |
|
25 |
750 1000* |
1200 2000* |
|
32 |
— 1000* |
— 2400* |
|
40 |
— 1000* |
— 2400* |
|
50 |
— 1000* |
— 3000 |
|
* Для труб «МЕТАПОЛ» |
||
2.14 Принимая во внимание диэлектрические свойства металлополимерных труб, ванны и душевые поддоны должны быть заземлены согласно соответствующим требованиям нормативных документов.
2.15 Для обеспечения срока службы трубопроводов горячей воды из труб не менее 25 лет и холодной воды не менее 50 лет необходимо поддерживать нормативные режимы эксплуатации (давление и температуру) с помощью приборов автоматического регулирования.
2.16 В комплекте с определенными типами труб необходимо применять соединительные детали, строго соответствующие по конструкции данному типу труб (приложение Б).
3 МОНТАЖ ВНУТРЕННЕГО ВОДОПРОВОДА ЗДАНИЙ ИЗ МЕТАЛЛОПОЛИМЕРНЫХ ТРУБ
3.1 Монтаж трубопроводов водопровода должен осуществляться по монтажному проекту, выполненному строительно-монтажной или проектной организацией.
3.2 Работы по монтажу труб должны выполняться специально обученным техническим персоналом, имеющим соответствующее удостоверение и овладевшим особенностью работы и технологией обработки данных труб.
3.3 Монтаж трубопроводов должен осуществляться при температуре окружающей среды не менее 5 °С.
3.4 Бухты труб, хранившиеся или транспортировавшиеся на монтаж (заготовительный участок) при температуре ниже 0 °С, должны быть перед раскаткой выдержаны в течение 24 часов при температуре не ниже 10 °С. В процессе размотки бухт и монтажа трубопроводов необходимо следить, чтобы маркировка на трубах находилась на одной образующей поверхности трубы. Прокладку трубы следует вести без натяга, свободные концы закрывать заглушками во избежание попадания грязи и мусора в трубу.
3.5 Перед прокладкой труб в помещении необходимо установить средства крепления, закончить все электрогазосварочные работы, а при открытой прокладке труб — и отделочные работы.
3.6 Металлополимерные трубы предпочтительно прокладывать скрыто в бороздах, каналах и шахтах, при этом должен быть обеспечен доступ к разъемным соединениям и арматуре путем устройства дверок и съемных щитов, на поверхности которых не должно быть острых выступов.
3.7 В случае замоноличивания горизонтальных трубопроводов, для предотвращения образования воздушных пробок в трубах, их следует прокладывать с подъемом более 0,003 в сторону водоразборной арматуры. Замоноличенный водопровод целесообразно прокладывать в кожухе (например, труба в трубе).
3.8 Борозды или каналы следует закрывать после проведения гидравлических испытаний трубопроводов.
3.9 До замоноличивания трубопроводов необходимо выполнить исполнительную схему монтажа данного участка и провести гидравлические испытания.
3.10 Для прохода через строительные конструкции необходимо предусматривать футляры, выполненные из пластмассовых труб (рисунок 6). Внутренний диаметр футляра должен быть на 5— 10 мм больше наружного диаметра прокладываемой трубы. Зазор между трубой и футляром необходимо заделать мягким водонепроницаемым материалом, допускающим перемещение трубы вдоль продольной оси.

Рисунок 6 — Установка футляров для прохода труб через перекрытия, стены и перегородки
3.11 Между металлополимерными трубопроводами горячей и холодной воды расстояние в свету должно быть не менее 25 мм (с учетом толщины теплоизоляции). При пересечении трубопроводов расстояние между ними должно быть не менее 30 мм. Трубопроводы холодной воды следует прокладывать ниже трубопроводов горячего водоснабжения и отопления.
3.12 Трубопроводы систем горячего водоснабжения, а при необходимости и холодного водоснабжения, следует теплоизолировать в соответствии с проектом.
3.13 Повороты трубопроводов следует осуществлять с применением стандартных угольников и специальных деталей согласно приложению Б или путем изгиба трубы вручную или специальным инструментом. Радиус изгиба должен быть не менее пяти наружных диаметров трубы. При изгибах следует пользоваться дорном в виде спиральной пружины. При изгибании не допускаются сплющивание и залом трубы. Овальность труб должна быть не более 10%.
3.14 Соединение металлополимерных труб со стальными трубами, запорно-регулирующей и водоразборной арматурой выполняется на резьбе с помощью специальных соединительных деталей (приложение Б). Допускается присоединение подводок из труб к стальным соединительным частям (рисунок 7).



1 — подводка из металлополимерной трубы, 2 — соединительная деталь, 3 — муфта стандартная; 4 — патрубок из стальной трубы; 5 — угольник стандартный, 6 — шайба упорная; 7 — шайба декоративная, 8 — арматура водоразборная, 9 — крепление; 10 — дюбель
Рисунок 7 — Узлы присоединения подводок к водоразборной арматуре
3.15 Подготовительные операции
До начала монтажа трубопроводов необходимо выполнить следующие подготовительные операции:
- отобрать трубы и соединительные детали из числа прошедших входной контроль;
- разметить трубу в соответствии с проектом или по месту с учетом припуска на последующую обработку;
- разрезать трубу согласно разметке специальными ножницами, не допуская смятия трубы и образования заусенцев. Отклонение плоскости реза не должно превышать 5°.
3.15.1 Сборка соединений с заершенными штуцерами:
- перед установкой специальных соединительных деталей с заершенными штуцерами необходимо обработать внутреннюю поверхность трубы на глубину заершенного конца штуцера разверткой;
- установка заершенного штуцера на трубу осуществляется с помощью пресс-пистолета, при этом не допускается разрушение стенки трубы;
- накидную гайку следует наворачивать на наружную резьбу штуцера, не доводя до упора 1—2 мм.
13.15.2 Сборка соединений с обжимной гайкой состоит из следующих операций:
- для изгиба трубы с r < 5 d н (наружный диаметр) необходимо применять пружину;
- выпрямить лишние искривления трубы;
- специальными ножницами обрезать трубу под углом 90° к оси трубы;
- обработать поверхность трубы калиброванной разверткой (сначала снять внутреннюю фаску, затем обработать наружную поверхность);
- надеть на трубу латунную обжимную гайку;
- вручную запрессовать соединительный элемент до упора на глубину для труб наружным диаметром, мм: 16 — 8 мм; 20 — 10 мм, 25 — 12 мм.
Соединение трубы с фасонными деталями, имеющими наружную резьбу, осуществляется по сопрягаемым поверхностям деталей без уплотнения резьбовой гайки.
Для присоединения труб к деталям, имеющим внутреннюю резьбу, необходимо использовать ниппель с уплотнением резьбовой части.
Для присоединения к приборам, имеющим внутреннюю резьбу, можно применять соединение с обжимной гайкой и обжимным кольцом с уплотнением резьбовой части.
3.15.3 Сборка соединений типа «МЕТАПОЛ»:
- специальными ножницами отрезать трубу необходимой длины под углом 90° к оси трубы;
- надеть гайку и контргайку на трубу, сдвинуть их на 100—120 мм от края к середине трубозаготовки;
- разверткой-вальцевателем обработать конец трубы (рисунок 7);
- вставить фитинг типа «МЕТАПОЛ» в трубозаготовку до упора;
- завернуть гайку на фитинг вручную с доверткой гаечным ключом.
3.16 Сборка соединительной детали с арматурой или металлическими частями трубопровода выполняется при ослабленной накидной гайке.
3.17 Уплотнение резьбовых соединений со стальными трубопроводами и арматурой осуществляется лентой ФУМ или льняной прядью.
3.18 Для закрепления труб следует применять изделия согласно каталогам изготовителей или иные опоры, применяемые для пластмассовых труб. Возможные варианты крепления труб представлены на рисунке 8.
3.19 Запорно-регулирующую и водоразборную арматуру следует закреплять с помощью самостоятельных неподвижных креплений для устранения передачи усилий на трубопровод в процессе эксплуатации.
3.20 Минимальное расстояние от осей отводов и тройников до креплений следует принимать с учетом температурного изменения длины трубы, при этом соединительные детали должны располагаться на расстоянии не менее 50 мм от креплений.
3.21 До проведения монтажных работ трубы, соединительные детали, арматура и средства крепления должны быть подвергнуты входному контролю.
3.22 Входной контроль предусматривает проверку наличия сопроводительной документации, включая гигиенический сертификат и сертификат соответствия (техническое свидетельство), осмотр труб и деталей для установления маркировки, а также трещин, сколов, рисок и других механических повреждений, выборочный контроль наружного диаметра и толщины стенок труб, выборочные испытания по определению разрушающей нагрузки кольцевых образцов.
3.23 Трубы должны иметь маркировку, указывающую диаметр и ее назначение. На поверхности труб не должно быть механических повреждений и заломов. Трубы не должны быть скручены или сплющены.
3.24 На штуцерах и накидных гайках соединительных деталей резьба должна быть нарезана в соответствии с ГОСТ 6357, класс точности В. Резьба должна быть чистой, без заусенцев, рваных или смятых ниток.
3.25 Средства крепления трубы должны иметь поверхность, исключающую возможность механического повреждения труб. Крепления не должны иметь острых кромок и заусенцев.
Размеры хомутов должны соответствовать диаметрам труб. Металлические крепления должны иметь мягкие прокладки и антикоррозийное покрытие.



Рисунок 8 — Крепление магистральных трубопроводов
4 ИСПЫТАНИЯ ТРУБОПРОВОДОВ ИЗ МЕТАЛЛОПОЛИМЕРНЫХ ТРУБ
4.1 Режимы и последовательность гидростатических (гидравлических) или манометрических (пневматических) испытаний трубопроводов приведены в соответствующих нормативных документах.
4.2 Системы внутреннего холодного и горячего водоснабжения по окончании их монтажа должны быть промыты водой до выхода ее без механических взвесей в течение времени, указанного в технической документации на данный тип труб.
Промывка систем хозяйственно-питьевого водоснабжения считается законченной после выхода воды, удовлетворяющей требованиям ГОСТ 2874.
4.3 Системы внутреннего холодного и горячего водоснабжения, смонтированные с применением металлополимерных труб, должны быть испытаны при положительной температуре окружающей среды гидростатическим методом.
4.4 Приемка систем водоснабжения в эксплуатацию производится в соответствии с действующими правилами. При этом должен осуществляться предварительный визуальный контроль всех смонтированных труб. Не допускаются перегибы труб, радиусы изгиба, кроме указанных, продольное скручивание, механические повреждения, соприкосновения со стальными трубопроводами горячего водоснабжения.
5 ЭКСПЛУАТАЦИЯ
5.1 Слесари-сантехники, производящие ремонт должны быть обучены особенностям работы с металлополимерными трубами и технологией их обработки иметь соответствующую документацию на право проведения монтажных работ.
5.2 При замене труб во время ремонта не допускается устанавливать трубы меньшего диаметра.
5.3 В случае повреждения участка трубопровода необходимо вырезать поврежденный участок. Замена производится с помощью отрезка трубы необходимой длины, соединяемого с трубопроводом с помощью разъемных соединительных деталей для данного типа труб.
5.4 Течи в разъемных соединениях устраняются подвертыванием гаек или заменой уплотнителя.
5.5 Не допускается термическое или механическое повреждение труб при проведении сварочных или иных огневых работ. При проведении таких работ в местах возможного повреждения труб необходимо ставить ограждения.
5.6 Для очистки наружной поверхности следует применять материал, исключающий механические повреждения.
5.7 Не следует допускать замораживания систем водопровода. В случае замерзания системы наличие пробок в трубе можно определить по местному увеличению диаметра (расширению) трубы или по слою инея и льда на поверхности. Прогревать трубу следует теплым воздухом или горячей водой. Категорически запрещается использовать открытое пламя и обстукивать трубу молотком.
При первой возможности следует заменить поврежденный участок трубы.
5.8 При ослаблении заделки между трубой и футляром, проходящим через строительные конструкции, необходимо ее уплотнить льняной прядью либо другим мягким материалом.
5.8 При ремонте систем с заменой трубопроводов водоразборные и циркуляционные стояки, проходящие в бороздах, вертикальных каналах и шахтах санитарно-технических кабин, необходимо теплоизолировать.
6 ТРАНСПОРТИРОВАНИЕ И ХРАНЕНИЕ МЕТАЛЛОПОЛИМЕРНЫХ ТРУБ
6.1 Транспортирование, погрузка и разгрузка металлополимерных труб должны осуществляться при температуре наружного воздуха не ниже -20 °С.
6.2 Металлополимерные трубы перевозят любым видом транспорта в соответствии с требованиями перевозки грузов, действующими на данном виде транспорта. При железнодорожных перевозках трубы перевозят в крытых вагонах.
6.3 При погрузочно-разгрузочных работах, транспортировании, хранении трубы необходимо оберегать от механических повреждений.
Запрещается сбрасывать трубы с транспортных средств. При разгрузке труб подъемно-транспортными средствами запрещается применять металлические троссы и захваты без амортизирующих прокладок.
6.4 Хранить металлополимерные трубы следует в закрытом помещении на расстоянии не менее 1 м от нагревательных приборов, а в условиях строительной площадки — в закрытом помещении или под навесом, оберегая от прямых солнечных лучей, попадания масел, жиров и нефтепродуктов.
6.5 Металлополимерные трубы следует хранить в горизонтальном положении на стеллажах. Высота штабеля не должна превышать 2 м.
7 ТРЕБОВАНИЯ ТЕХНИКИ БЕЗОПАСНОСТИ
7.1 При производстве работ по монтажу внутреннего водопровода зданий из металлополимерных труб необходимо соблюдать требования техники безопасности в строительстве.
7.2 Металлополимерные трубы в процессе эксплуатации и монтажа не выделяют в окружающую среду токсичных веществ и не оказывают вредного воздействия на организм человека при непосредственном контакте. Работа с ними не требует особых мер предосторожности.
7.3 Средства пожаротушения: песок, кошма, распыленная вода и пена.
7.4 Монтаж труб должен проводиться после окончания сварочных работ металлоконструкций.
7.5 При выполнении работ по сборке и монтажу водопровода необходимо пользоваться исправным инструментом, соблюдая условия его эксплуатации.
Гаечные ключи должны соответствовать размерам гаек. Губки ключей должны быть параллельными и не иметь трещин и забоин.
Газовые ключи не должны иметь зазубрин и сбитой насечки.
7.6 Рабочее место слесаря-сантехника должно быть достаточно освещено.
Напряжение переносных светильников не должно превышать 42 В.
Ручной переносной светильник должен иметь металлическую сетку для защиты лампы, устройство для его подвески и шланговый провод с вилкой.
Освещенность должна быть равномерной, без слепящего действия на работающих.
7.7 Гидравлические испытания систем следует проводить в присутствии мастера или производителя работ. Слесари, проводящие испытания, должны находиться в безопасных местах на случай выбивания заглушек и аварий.
ПРИЛОЖЕНИЕ А
ТЕХНИЧЕСКИЕ ХАРАКТЕРИСТИКИ МЕТАЛЛОПОЛИМЕРНЫХ ТРУБ
Таблица А. 1 — Сортамент и масса металлополимерных труб
В миллиметрах
|
№ |
Нормативно |
Номинальный диаметр |
Толщина стенки |
Толщина алюминиевой |
Теоретическая масса |
|
|
п.п. |
техническая документация |
внутренний с допуском |
наружный с допуском |
с допуском |
фольги с допуском |
1 м длины, кг |
|
1 |
ТУ 2248-001-07629379—96, |
|
16+0,3 |
|
|
0,095 |
|
|
ТУ 2248-004-07629379—97 |
|
25+0,3 |
|
0,2±0,01 |
0,2 |
|
2 |
ТУ 2248-001-29325094—97 |
10+0,2 |
14+0,15 |
|
0,2±0,02 |
0,092 |
|
|
|
12+0,2 |
16+0,15 |
|
0,2±0,02 |
0,105 |
|
|
|
14+0,2 |
18+0,15 |
|
0,24±0,02 |
0,128 |
|
|
|
|
20+0,15 |
|
0,24±0,02 |
0,150 |
|
|
|
|
25+0,20 |
|
0,30±0,02 |
0,204 |
|
3 |
Трубы «Метапол» |
12 |
16,0+0,3 |
2,25±0,2 |
0,5±0,04 |
0,125 |
|
|
|
15 |
20,0±0,3 |
2,50±0,2 |
0,5±0,04 |
0,185 |
|
|
|
20 |
26,0±0,3 |
3,00±0,2 |
0,7±0,04 |
0,300 |
|
|
|
26 |
32,3±0,3 |
3,20±0,2 |
0,7±0,04 |
0,390 |
|
|
|
32 |
40,3±0,3 |
3,90±0,2 |
0,7±0,04 |
0,550 |
|
|
|
40 |
48,0±0,3 |
4,00±0,3 |
0,8±0,04 |
0,755 |
|
|
|
50 |
60,0±0,3 |
4,50±0,3 |
0,8±0,04 |
0,985 |
|
|
|
60 |
76,0±0,3 |
5,20±0,3 |
1,0±0,04 |
1,480 |
Таблица А. 2 — Основные физико-механические показатели металлополимерных труб
|
№ |
Показатели |
Единица |
Значение |
|
п.п. |
|
измерения |
|
|
1 |
Коэффициент теплопроводности |
Вт/м · К |
0,45 |
|
2 |
Коэффициент линейного расширения |
1/°С |
2,5 · 10-5 |
|
3 |
Коэффициент эквивалентной равномерно-зернистой шероховатости |
мм |
0,01 |
|
4 |
Прочность кольцевых образцов при разрыве в поперечном |
|
|
|
|
направлении, не менее для труб размерами, мм: |
Н |
|
|
|
10—14 |
|
2100 |
|
|
12—16 |
|
2400 |
|
|
14—18 |
|
2400 |
|
|
16—20 |
|
2400 |
|
|
20—25 |
|
2400 |
|
5 |
Изменение длины после прогрева при температуре(120— 3) °С в течение (60+1) мин |
% не более |
1 |
|
6 |
Стойкость при постоянном внутреннем давлении |
|
|
|
|
(без разрушений) при температуре, °С: |
МПа |
|
|
|
20 — в течение 1 ч |
|
4,5 |
|
|
95 » » 1 ч |
|
1,8 |
|
|
95 » » 100 ч |
|
1,6 |
|
|
95 » » 1000 ч |
|
1,4 |
Таблица А.3 — Таблица для гидравлических расчетов водопровода холодной (10 °С) воды из металлополимерных труб по ТУ 2248-001-07629379—96
|
Q , л/с |
d =16 мм |
d = 2 5 мм |
||
|
|
V, м/с |
1000 i |
V, м/с |
1000 i |
|
0,02 |
0,18 |
7,72 |
0,06 |
0,66 |
|
0,04 |
0,35 |
23,43 |
0,13 |
2,25 |
|
0.06 |
0,53 |
47,79 |
0,19 |
4,21 |
|
0,08 |
0,71 |
79,6 |
0,26 |
7,21 |
|
0,1 |
0,89 |
117,62 |
0,32 |
10,44 |
|
0,14 |
1,24 |
213,41 |
0,45 |
18,49 |
|
0,18 |
1,59 |
331,74 |
0,58 |
28,73 |
|
0,3 |
2,65 |
831,9 |
0,96 |
69,58 |
|
0,5 |
4,42 |
2114,86 |
1,6 |
175,59 |
|
0,7 |
|
|
2,24 |
320,7 |
|
0,9 |
|
|
2,88 |
506,00 |
|
1,2 |
|
|
3,84 |
859,88 |
|
1,6 |
|
|
5,12 |
1463,98 |


















