ВСН 35-77, часть 2
Воздушная прослойка под нижним слоем кровельного ковра должна быть соединена с наружным воздухом на карнизах и в местах примыкания кровли к выступающим над крышей элементам.
2.29. Для защиты кровель от действия солнечной радиации в III и IV климатических районах на месте строительства следует устраивать дополнительный слой из гравия, втопленного в горячую битумную мастику слоем 2 мм. Гравий по ГОСТ 82 68—74 для защитного слоя кровель должен быть сухим, обеспыленным, иметь зерна размером 5—10 мм.
2.30. Для защиты панелей бесчердачных крыш от увлажнения во время транспортировки и монтажа их верхнюю поверхность и боковые грани следует покрывать на заводе мастичными или окрасочными составами.
2.31. Гидроизоляционные мастичные и окрасочные составы для железобетонных кровельных панелей (безрулонных кровель) следует применять при наличии на них технических условий.
Гидроизоляционный слой для кровельных панелей и водосборных лотков должен быть прочным и эластичным во всем интервале эксплуатационных температур, обладать высокой степенью адгезии, стойкостью к ультрафиолетовому облучению и морозостойкостью. Мастичные и окрасочные составы следует наносить на заводах-изготовителях.
При применении гидроизоляции из мастичных и окрасочных составов, указанных в приложении, следует руководствоваться указаниями главы СНиП по противопожарным нормам проектирования зданий и сооружений.
Детали
2. 32. Для повышения эксплуатационной надежности кровель из рулонных материалов следует максимально уменьшить число мест пересечений их трубами, шахтами и другими устройствами.
Места примыкания кровли из рулонных материалов к стенам, вытяжным шахтам и деформационным швам должны быть усилены тремя дополнительными слоями рубероида (верхний слой должен иметь крупнозернистую посыпку).

Рис. 2. Схема примыкания кровли из рулонных материалов к стене
высотой более 450 мм
1 — основная кровля; 2 ¾ три дополнительных слоя кровли с верхним слоем из рубероида с крупнозернистой посыпкой; 3 — защитный слой; 4 — защитный фартук
из оцинкованной кровельной стали; 5 — герметизирующая мастика; 6 — оси крепежных элементов (для закрепления кровли и защитных фартуков); 7 ¾ воздушная прослойка, сообщающаяся с наружным воздухом
2.33. При заведении кровли на вертикальные конструкции — стены, шахты и другие элементы здания — неровная поверхность их должна быть оштукатурена цементно-песчаным раствором.
2.34. При примыкании к стенам, возвышающимся над крышей не более чем на 450 мм, кровлю следует заводить на верхнюю грань стены; при большей высоте — закреплять к вертикальным поверхностям в соответствии со схемами, приведенными на рис. 2 и 3.
Верхний край дополнительных слоев ковра должен быть закреплен и защищен от затекания атмосферных осадков оцинкованной кровельной сталью или парапетными плитками.

Рис. 3. Схема крепления края кровли из рулонных материалов
к вертикальной поверхности
1 — оси крепежных элементов; 2 — защитный фартук из оцинкованной кровельной стали; 3 — скользящая полоса рулонного материала; 4 — три дополн ит ел ьных слоя кровли; 5 — основная кровля
В местах примыкании панелей крыш к вертикальной плоскости под кровлю необходимо укладывать скользящую прокладку из рулонного материала. Верхнюю кромку ее следует приклеивать на вертикальном участке и в середине наклонной плоскости бортового камня.
2.35. В ендовах необходимо предусматривать усиление по низу основного кровельного ковра двумя слоями рулонных кровельных материалов, которые должны быть заведены на поверхность ската (от ребра ендовы) не менее чем на 750 мм.
2.36. Конек кровли должен быть усилен на ширину 0,25 м с каждой стороны одним слоем рулонного кровельного материала.
2.37. На карнизных участках кровли при наружном водоотводе необходимо предусматривать два дополнительных слоя рулонного материала шириной не менее 400 мм и слив из оцинкованной кровельной стали. На участках карнизов, выходящих за пределы наружной грани стен, уклон следует принимать не менее чем на примыкающую к карнизу плоскость кровли.
2.38. Деформационные швы должны проходить через все слои крыши и совпадать со швами в стенах и междуэтажных перекрытиях. Конструкция швов должна обеспечивать водонепроницаемость крыши при деформациях здания. Схема деформационного шва с бортами из сборных железобетонных деталей приведена на рис. 4.

Рис. 4. Схема деформационного шва
1 — основная кровля из рулонных материалов; 2 — защитный слой; 3 — три дополнительных слоя кровли; 4 — несгораемый минераловатный утеплитель; 5 —
полосы из стали 4Х40 мм через 600 мм; 6 — фартук из оцинкованной стали;
7 — оси крепежных элементов
2.39. Проектируемая конструкция крыши должна исключать возможность накопления температурных деформаций крыши по длине здания. С этой целью перпендикулярные продольным фасадам здания швы между неутепленными кровельными панелями следует проектировать незаполненными. Швы между утепленными панелями покрытия следует проектировать заполненными. Нижнюю часть шва на высоту 100 мм необходимо заполнять цементно-песчаным раствором, образующим шпонку, обеспечивающую равенство прогибов смежных панелей. Верхнюю часть шва следует заполнять легкосжимаемым теплоизоляционным материалом.
2. 40. Для исключения разрыва кроили из рулонных материалов над швом между панелями шириной более 1,5 м необходимо укладывать насухо полоску из рулонного материала шириной 250 мм с приклейкой кромки материала с одной стороны на ширину 50 мм.
2.41. Для крепления стоек антенн и опорных гильз радиостоек в стенах машинных помещений лифтов, выходов на крышу или вентиляционных шахт необходимо предусматривать закладные детали с хомутами. Для крепления предохранительных поясов рабочих и трубопроводов для подачи битумных мистик на крышу в тех же стенах необходимо предусматривать закладные детали с крюками.
В крышах с кровельными панелями и гидроизоляцией мастичными или окрасочными составами при отсутствии конструкций, выступающих над крышей, растяжки антенн следует крепить к монтажным петлям или закладным деталям с крюками, замоноличенными в ребрах кровельных панелей.
В крышах с кровлей из рулонных материалов телевизионную антенну с тремя растяжками допускается крепить к свободно уложенным железобетонным блокам.
2.42. Карнизы при наружном водостоке следует проектировать консольным выпуском панелей покрытия или кровельных панелей за плоскость наружной стены.
2.43. Решетчатое ограждение крыши следует проектировать с приподнятым нижним поясом для обеспечения сдувания снега с крыши.
2.44. Для пропуска через кровлю из рулонных материалов труб, стояков вытяжной вентиляции из канализации и мусоропровода на кровельные панели и бесчердачные крыши следует устанавливать стальные патрубки с фланцами. Эти места должны быть усилены двумя слоями кровельного ковра и защищены зонтом из оцинкованной стали, закрепляемым к трубе обжимным хомутом.

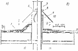
Рис. 5. Схема пропуска труб через кровлю из рулонных материалов
а — с устройством переходного бортика; б — с применением прямоугольного стального патрубка; 1 — основная кровля; 2 — защитный слой; 3 — два дополнительных слоя кровли; 4 — переходной бортик; 5 — ось крепежного элемента; 6 — герметизирующая мастика; 7 — труба; 8 — зажимной хомут; 9 — просмоленная пакля; 10 — зонт из оцинкованной кровельной стали; I 1 — прямоугольный стальной патрубок с фланцем; 12 — круглый стальной патрубок с фланцем;
13 — гильза из кровельной стали
Схема пропуска труб через кровлю из рулонных материалов приведена на рис. 5. Место примыкания кровли к патрубку должно быть защищено мастикой изол. Зазор между трубой и патрубком следует заполнять просмоленной паклей или герметиком.
2.45. Сопряжение кровельных панелей со стояками вытяжной вентиляции из канализации и мусоропровода в крышах с кровельными панелями и гидроизоляцией мастичными или окрасочными составами следует проектировать с защитой места пропуска стояка металлическим зонтом или фартуком из оцинкованной кровельной стали с обжимными кольцами (рис. 6). На чердаке стояки вытяжной вентиляции должны быть утеплены. Высота стояков над поверхностью кровельных панелей должна быть не менее 1000 мм.

Рис. 6 . Схема сопряжения кровельной панели с гидроизоляцией
мастичными или окрасочными составами со стояком вытяжной
вентиляции из канализации
1 — кровельная панель; 2 — ось крепежного элемента; 3 — стояк вытяжной вентиляции из канализации; 4 — защитный фартук из оцинкованной кровельной стали; 5 — утепление стояка; 6 — панель чердачного перекрытия; 7 — компенсационный раструб;
8 — эластичная заделка; 9 — гидроизоляционная мастика
2.46. Для заделки сопряжений панелей со стояками вытяжной вентиляции из канализации и другими деталями необходимо применять герметики — пороизол в виде полос или жгутов по ГОСТ 19177—73, а также материалы на основе пенополиуретана, которые следует защищать несгораемыми материалами.
Прокладки следует вводить в швы в сжатом на 50 % состоянии и на приклеивающей мастике.
Свойства пороизола и приклеивающей мастики должны удовлетворять требованиям главы СНиП на кровельные, гидроизоляционные и пароизоляционные материалы на органических вяжущих.
При заделке швов следует руководствоваться требованиями Указаний но герметизации стыков при монтаже строительных конструкций.
2.47. В крышах с кровельными панелями и гидроизоляцией мастичными или окрасочными составами стыки кровельных панелей с водосборными лотками следует проектировать с перекрытием продольного ребра лотка ребром кровельной панели.
Сопряжение кровельных панелей с вентиляционными шахтами следует проектировать с защитой стыка фартуком из кровельной оцинкованной стали, который необходимо пристреливать дюбелями к стенам вентиляционных шахт с прокладкой полосы технической резины между стеной шахты и фартуком (рис. 7, а ) или защитой «замком» (рис. 7, б ) , которая обеспечивается применением оголовка вентиляционной шахты в виде объемного элемента.

Рис. 7. Схема сопряжения кровельной панели с гидроизоляцией мастичными или окрасочными составами с вентиляционными шахтами
а — с фартуком из оцинкованной кровельной стали; б —«замком»; 1 — крышка; 2 — оголовок; 3 — фартук из оцинкованной кровельной стали; 4 — прокладка из технической резины; 5 ¾ кровельная панель; 6 ¾ вентиляционная шахта
3. ВОДООТВОД
3.1. Сборные железобетонные крыши следует проектировать, как правило, с внутренним водоотводом в соответствии с требованиями главы СНиП по проектированию внутреннего водопровода и канализации зданий.
В зданиях высотой до 5 этажей включительно допускается устройство наружного водоотвода. Наружный неорганизованный водоотвод допускается при отступе здания от красной линии не менее чем на 1,5 м от проекции свеса кровли. При этом обязательно устройство козырьков над входами, а также над балконами верхних этажей.
3.2. Наружный водоотвод должен состоять из желобов, водосточных труб и деталей к ним, соответствующих ГОСТ 7 623—75. Трубы должны быть навешены на стену отвесно на расстоянии 200 мм от нее. Отмет наружных водосточных труб должен быть выше верха тротуара ( или отмостки) не менее чем на 200 мм.
Расстояние между наружными водосточными трубами должно быть не более 20 м; площадь поперечного сечения водосточных труб необходимо принимать из расчета 1 ,5 см2 поперечного сечения трубы, на 1 м2 площади крыши.
3.3. Расчет системы внутреннего водоотвода, установку ревизий и прочисток следует производить в соответствии с требованиями глав СНиП по проектированию внутреннего водопровода и канализации зданий.
3.4. Водосточные воронки следует устанавливать в водосборных лотках или ендовах. Расстояние между водосточными воронками следует назначать в соответствии с требованиями главы СНиП по проектированию внутреннего водопровода и канализации зданий.
3.5. Сопряжение воронки с крышей должно быть жестким и водонепроницаемым, а сопряжение воронки со стояком — подвижным, осуществляемым при помощи компенсационных раструбов с последующей эластичной заделкой. В кровле из рулонных материалов в местах примыкания водосточной воронки должны быть предусмотрены два дополнительных слоя (рис. 8).

Рис. 8. Схема установки водосточной воронки на крыше с кровлей
из рулонных материалов
1 — основная кровля; 2 — защитный слой; 3 — два дополнительных слоя кровли из мастик, армированных стеклосеткой или стеклотканью; 4 — струевыпрямитель колпака водосточной воронки; 5 — зажимной хомут; 6 — чаша водосточной воронки
Схема установки водосточной воронки на крыше с железобетонными кровельными панелями и гидроизоляцией мастичными или окрасочными составами представлена на рис. 9.

Рис. 9. Схема установки водосточной воронки на крыше с железобетонной кровельной панелью и гидроизоляцией мастичными
или окрасочными составами
1 — водосборный лоток; 2 — водосточная воронка; 3 — закладная деталь;
4 — водосточный стояк; 5 — распорный стержень
3.6. Во избежание обмерзания водосточных воронок и водосточных труб следует предусматривать утепление труб в пределах чердака.
3.7. При отсутствии сетей дождевой и общесплавной канализации отвод дождевых и талых вод из систем внутренних водостоков следует принимать на отмостку или в железобетонные отводные лотки с обеспечением мероприятий по предотвращению попадания дождевых и талых вод на тротуары и подъезды к зданиям. Длина лотка, считая от наружной грани стены, должна быть не менее 2,5 м, ширина от 300 до 350 мм, уклон, равный уклону планировки от здания. При этом должны быть предусмотрены мероприятия, исключающие размыв поверхности земли в зоне расположения лотков.

Рис. 10. Внутренний водоотвод с открытым выпуском воды
1 — водосточный стояк; 2 — отводная трубка в канализацию; 3 ¾ канализационный стояк; 4 ¾ гидравлический затвор; 5 ¾ открытый выпуск
Открытый выпуск необходимо устраивать на южной стороне здания. Оголовки выпусков следует делать из чугунных или стальных труб на высоте не менее 200 мм от поверхности отмостки или лотка и на расстоянии не менее 150 мм от наружной грани стены.
В подвальном или цокольном этаже здания у водосточного стояка должен быть аварийный выпуск воды в систему канализации на случай замерзания открытого выпуска зимой (рис. 10). В подвале должна быть обеспечена положительная температура.
ПРИЛОЖЕНИЕ
ГИДРОИЗОЛЯЦИОННЫЕ МАСТИЧНЫЕ И ОКРАСОЧНЫЕ
СОСТАВЫ
Состав I
Битумно-полимерная эмульсия ЭГИК (ТУ МГН-24-РСФСР-1 -68)
Несгораемая битумно-полимерная
эмульсия ЭГИК имеет следующий
состав по весу, %:
Водная быстрораспадающаяся
эмульсия .......... ................................ 80
Латекс с содержанием до 30 %
сухого вещества ....... ....................... 20
Быстрораспадающаяся битумно-поли-
мерная эмульсия имеет следующий
состав, %:
Нефтяные дорожные битумы ма-
рок БНД-40/60 и БНД-60/90 по
ГОСТ 11954— 66 ....... ...................... 45¾ 50
Вода ......... ....................................... 45¾ 50
Поливинилацетатная эмульсия . ..... 1 ,5— 1,6
Поверхностно-активное веще-
ство — эмульгатор ...... ................... 2—3
Эмульгатор применяется в виде вод-
ного раствора в следующих соотно-
шениях по весу, %:
Вода водопроводная ..... ................. 95,3—95,4
Асидол-мылонафт .... ...................... 2—2,4
Жидкое стекло по ГОСТ 13007—
67 . .................................................... 0 ,8¾ 1 ,1
Едкий натр технический по ГОСТ
22 63—71 .... .................................... 0,8¾ 1,2
Удельный вес вводимых в эмульсию жидкого стекла и едкого натра должен быть равен 1 ,4 г/см3 .
Быстрораспадающаяся битумно-полимерная эмульсия поставляется на завод железобетонных конструкций в готовом виде в автогудронаторах и сливается в закрытую емкость.
Эмульсию следует хранить при температуре не ниже +10° С. Продолжительность хранения не более одного месяца. Через трое суток хранения эмульсию необходимо перемешивать.
Вторым компонентом эмульсии ЭГИК является латекс.
Для приготовления эмульсии ЭГИК могут быть использованы как бутадиенстирольные (дивинилстирольные) латексы, так и хлоропреновые.
Приготовление битумно-полимерной эмульсии ЭГИК должно производиться в смесителях, обеспечивающих рабочее давление от 2 ,5 до 3 атм.
Процесс приготовления эмульсии ЭГИК состоит из следующих операций: отвешивается быстрораспадающаяся битумно-полимерная эмульсия, процеживается через сито с отверстиями от 1,5 до 2 мм и заливается в емкость смесителя установки; в ту же емкость постепенно наливается латекс; смесь тщательно перемешивается в течение 10 мин до однородного цвета и получения гомогенной массы. При перемешивании не должно образовываться сгустков и расслоений.
В процессе нанесения эмульсии ЭГИК на кровельные элементы необходимо применять коагулятор — 5 %-ный водный раствор хлористого кальция по ГОСТ 450—70 в количестве 0,15—0,20 % объема эмульсии.
Эмульсия ЭГИК наносится в камере, снабженной приточно-вытяжной вентиляцией с пятикратным обменом воздуха в течение часа и емкостью для слива некачественной смеси эмульсии с коагулятором.
Кровельные элементы в камере нанесения должны быть установлены с уклоном не менее 15 % к горизонту, что обеспечивает более быстрое выделение воды при взаимодействии эмульсин с коагулятором.
Емкость с эмульсией и баллон с водным раствором хлористого кальция должны быть соединены системой трубопроводов и шлангом с пистолетом распылителем, который имеет три канала: по двум подается эмульсия и коагулятор, по третьему — сжатый воздух для распыления и смешения эмульсии с коагулятором. Подача компонентов регулируется кранами.
Эмульсия наносится двумя слоями: первый слой толщиной от 2 до 3 мм (в сыром состоянии), второй — толщиной от 4 до 5 мм после 20 мин выдержки первого слоя. Общая толщина слоя в сыром состоянии от 6 до 8 мм.
Норма расхода эмульсии 6—8 л на 1 м2 изолируемой поверхности, что соответствует общей толщине слоя в сформировавшемся состоянии 3— 4 мм.
Для полного формирования гидроизоляционного покрытия на бетонных поверхностях с начальной температурой 45— 60 ° С с последующим обдувом горячим воздухом изделия необходимо выдерживать не менее 4 ч, а при температуре 18— 20 ° С без обдува горячим воздухом — не менее 48 ч.
Состав II
Мастика кровельная хлорсульфополиэтиленовая ХСПЭ
(ТУ 8 4-257-71)
Сгораемые лак и эмаль на основе ХСПЭ используются в трещиностойких защитных покрытиях несущих и ограждающих железобетонных строительных конструкций.
Пленки, полученные на основе ХСПЭ, весьма эластичны, стойки к истиранию, солнечным лучам, химикатам и озонированию. Они пригодны для работы в пределах рабочих температур от – 60 до – 130 ° С.
В качестве грунтовки применяется лак на основе хлорсульфированного полиэтилена (ХСПЭ), представляющий собой раствор сухого ХСПЭ по ВТУ 5 9¾ 67 о органическом растворителе (ксилоле, толуоле).
Лак ХСПЭ наносится на очищенную сухую поверхность кистью, валиком или краскораспылителем. Время высыхания при температуре 18—20 ° С не более 3 0 мин.
Лак ХСПЭ следует хранить в плотно закрытой таре в неотапливаемом помещении при температуре не выше 20 и не ниже 0 ° С. Срок хранения 1 год.
За основные покровные слои применяются 2—3 слоя эмали ХСПЭ.
Эмаль ХСПЭ изготавливают на основе лака ХСПЭ и различных пигментов (титановых белил, железного сурика и др.). Рабочая вязкость эмали 50— 60 с. На грунтовку эмаль наносится валиком, краскораспылителем или кистью. Время высыхания при температуре 18— 20 ° С не более 3 ч. Окончательная выдержка всего покрытия до эксплуатации не менее 10 сут.
Лак и эмаль ХСПЭ следует готовить на заводах строительных красок и в готовом виде доставлять на заводы железобетонных конструкций.
Состав III
Мастика битумно-бутилкаучуковая (холодная) для
устройства безрулонной кровли и гидроизоляции «Вента»
(ТУ 21-27-39-77)
Сгораемая битумно-бутилкаучуковая мастика представляет собой многокомпонентную однородную жидкую мастику, состоящую из нефтяного битума, бутилкаучука, вулканизирующего компонента, активатора вулканизации, антисептика, наполнителя и растворителя.
Мастика выпускается одной марки — МББ-Х-120. Для приготовления мастики используются отходы производства бутилкаучука (концентрированный раствор бутилкаучука или кусковой бутилкаучук).
Битумно-бутилкаучуковую мастику получают перед ее употреблением смешиванием в равных количествах двух составов мастики «А» и « Б». Состав «Б» отличается от состава «А» тем, что в него входит вулканизирующий компонент, а в состав «А» ¾ активатор вулканизации. Перемешивание составов производится без подогрева.
Температура составов мастики «А» и «Б», а также температура мастики в процессе изготовления не должна превышать 35 ° С.
Битумно-бутилкаучуковая мастика должна свободно наноситься скребком по ровной поверхности слоем до 1 мм.
Расход мастики на каждый слой не должен превышать 1 кг на 1 м2 крыши. Каждый последующий слой считается достаточно высохшим, если он не прилипает при ходьбе. Расход мастики на 1 м2 крыши составляет от 1,2 до 3 кг.
Состав IV
Краска БТ-177 (ГОСТ 5631--70). Сгор аем ый гидроизоляционный
окрасочный состав:
грунтовка ¾ лак БТ-577 (один слой);
гидроизоляция — краска БТ-177 (два слоя для кровельных панелей и три слоя для водосборных лотков).
Битумный лак БТ-577 представляет собой раствор сплава битума с высыхающим маслом в летучих органических растворителях, наносится в качестве грунтовки на очищенную сухую поверхность кистью, валиком или краскораспылителем.
Время высыхания при температуре 18— 23 ° С — 2 ч.
Краска БТ-177 представляет собой суспензию алюминиевой пудры в лаке БТ-577 (20 % алюминиевой пудры, 80 % лака БТ-577). Готовится непосредственно перед употреблением.
На грунтовку краска БТ-177 наносится кистью, валиком или краскораспылителем. Время высыхания при температуре 18— 23 ° С не более 16 ч.
Расход при однослойном нанесении на 1 м2 крыши, ч:
лак БТ-577 ....... .................... 80 ;
краска БТ-177 .... ................. .. 81.
