ГОСТ 16289-86 (1996)
ГОСТ 16289-86
УДК 691.11.028.2: 006.354 Группа Ж32
ГОСУДАРСТВЕННЫЙ СТАНДАРТ СОЮЗА ССР
ОКНА И БАЛКОННЫЕ ДВЕРИ ДЕРЕВЯННЫЕ С ТРОЙНЫМ
ОСТЕКЛЕНИЕМ ДЛЯ ЖИЛЫХ И ОБЩЕСТВЕННЫХ ЗДАНИЙ
Типы, конструкция и размеры
Wooden windows and balcony doors of triple glazing
for dwelling and public buildings.
Types, structure and dimensions
ОКП 53 6133
Дата введения 1987-01-01
ИНФОРМАЦИОННЫЕ ДАННЫЕ
1. РАЗРАБОТАН И ВНЕСЕН Государственным комитетом по гражданскому строительству и архитектуре при Госстрое СССР
РАЗРАБОТЧИКИ
И.В.Строков (руководитель темы); Б.А.Филозофович; И.С.Посельская; Г.Г.Коваленко; Н.Н.Цаплев, канд. техн. наук; А.В.Ткаченко; Г.В.Левушкин; Н.В.Шведов
2. УТВЕРЖДЕН И ВВЕДЕН В ДЕЙСТВИЕ постановлением Государственного комитета СССР по делам строительства от 14.11.85 N 192
3. ВЗАМЕН ГОСТ 16289-80
4. ССЫЛОЧНЫЕ НОРМАТИВНО-ТЕХНИЧЕСКИЕ ДОКУМЕНТЫ
|
Обозначение НТД, на который дана ссылка |
Номер пункта, приложения |
Обозначение НТД, на который дана ссылка |
Номер пункта, приложения |
|
ГОСТ 111-90 |
2.7 |
ГОСТ 5088-94 |
2.6, приложение 3 |
|
ГОСТ 538-88 |
Приложение 3 |
ГОСТ 5090-80 |
2.5, приложение 3 |
|
ГОСТ 1145-80 |
Приложение 6 |
ГОСТ 5091-78 |
Приложение 3 |
|
ГОСТ 2697-83 |
2.2 |
ГОСТ 8242-88 |
2.2 |
|
ГОСТ 4598-86 |
2.2 |
ГОСТ 10174-90 |
2.8 |
|
ГОСТ 5087-80 |
Приложение 3 |
ГОСТ 23166-78 |
2.1, приложение 3 |
5. ПЕРЕИЗДАНИЕ
6. ВНЕСЕНА поправка к ГОСТ 16289-86, опубликованная в ИУС N 8 1997 г.
Настоящий стандарт распространяется на деревянные окна и балконные двери с тройным остеклением, предназначаемые для жилых и общественных зданий, а также для вспомогательных зданий и помещений предприятий различных отраслей народного хозяйства.
1. ОСНОВНЫЕ РАЗМЕРЫ И МАРКИ
1.1. Окна и балконные двери изготовляют по настоящему стандарту с раздельноспаренными переплетами и дверными полотнами.
1.2. Габаритные размеры окон и балконных дверей и размеры проемов для них должны соответствовать: для жилых зданий - указанным на черт.1 и в приложении 1; для общественных зданий - указанным на черт.2 и в приложении 2.
Окна и балконные двери, приведенные на черт.1, допускается применять и для общественных зданий.
1.3. Окна размерами 9-13,5; 12-13,5; 15-13,5; 18-13,5 и 21-13,5 модулей (модуль М=100 мм) для заполнения проемов в стенах из немодульного кирпича лицевой кладки по требованию потребителя должны изготовлять шириной на 80 мм больше указанной на черт.1 за счет увеличения ширины широких створок, а окно размерами 15-6 модулей - шириной на 70 мм меньше указанной на черт.1, при этом маркировку изменяют соответственно на 9-14; 12-14; 15-14; 18-14; 21-14 и 15-5.
1.4. По требованию потребителей одностворные окна и балконные двери, в т.ч. с форточными створками и фрамугами, должны изготовляться также и левыми, а многостворные окна с несимметричным рисунком - в негативном изображении.
1.5. Устанавливают следующую структуру условного обозначения (марки) окон и балконных дверей:
|
Х |
Х |
Х |
- |
Х |
Х |
Х |
|
|
|||||||
|
|
|
|
|
|
|
|
Обозначение настоящего стандарта |
||||||||
|
|
|
|
|
|
|
|
Буквы, означающие: А, В и Г - варианты рисунков одного размера; Н - окно в негативном изображении; Л - левое окно или левую балконную дверь |
||||||||
|
|
|
|
|
|
|
|
Ширина проема, дм |
||||||||
|
|
|
|
|
|
|
|
Высота проема, дм |
||||||||
|
|
|
|
|
|
|
|
Тип изделия: РС - с раздельноспаренными переплетами и дверными полотнами |
||||||||
|
|
|
|
|
|
|
|
Вид изделия: О - окно; Б - балконная дверь |
||||||||
Примеры условных обозначений
Окно правое типа РС для проема высотой 15 и шириной 9 дм:
ОРС15-9 ГОСТ 16289-86
То же, левое:
ОРС15-9Л ГОСТ 16289-86
Окно типа РС для проема высотой 15 и шириной 13,5 дм, с форточной створкой:
ОРС15-13,5 ГОСТ 16289-86
То же, для проема высотой 18 и шириной 18 дм, с несимметричным рисунком (вариант В):
ОРС18-18В ГОСТ 16289-86
То же, в негативном изображении:
ОРС18-18ВН ГОСТ 16289-86
Дверь балконная правая типа РС для проема высотой 22 и шириной 7,5 дм:
БРС22-7,5 ГОСТ 16289-86
То же, левая:
БРС22-7,5 Л ГОСТ 16289-86
Типы и габаритные размеры окон и балконных дверей
жилых зданий

Черт.1
Типы и габаритные размеры окон и балконных дверей
общественных зданий

Черт.2
Примечания к черт.1 и 2.
1. Схемы изделий изображены со стороны фасада.
2. Цифры над схемами изделий означают размеры проемов в модулях.
2. ТРЕБОВАНИЯ К КОНСТРУКЦИИ
2.1. Окна и балконные двери должны изготовляться в соответствии с требованиями ГОСТ 23166 и настоящего стандарта по рабочим чертежам, утвержденным в установленном порядке.
2.2. Конструкция, форма, основные размеры и марки окон и балконных дверей для жилых зданий должны соответствовать указанным на черт.3-6, размеры сечений - на черт.7-15; для общественных зданий на черт.16-22, размеры сечений - на черт.23-32.
Конструкция, форма, основные размеры и марки окон
и балконных дверей жилых зданий

Черт.3
2.3. Размеры на общих видах окон и балконных дверей даны в свету, по наружным сторонам створок, форточек, фрамуг и полотен дверей и по наружным сторонам коробок.
На чертежах, приведенных в настоящем стандарте, указаны размеры для неокрашенных деталей и изделий в миллиметрах.
2.4. Для отвода дождевой воды в нижних брусках коробок и в горизонтальных импостах под широкими створками, фрамугами и полотнами сверлят отверстия диаметром 10 мм, располагаемые на расстоянии 50 мм от вертикальных брусков коробок и импостов, а под форточными и узкими створками - одно отверстие посередине створок.

Черт.4
2.5. Наружные створки окон и наружные полотна балконных дверей должны быть оснащены врезными завертками со съемными ручками, а фрамуги - фрамужными приборами по ГОСТ 5090.
2.6. Наружные створки окон и наружные полотна балконных дверей должны быть навешены на врезные петли с вынимающимися стержнями по ГОСТ 5088.
Внутренние створки окон высотой более 1400 мм и шириной более 600 мм, высотой более 1000 мм и шириной более 900 мм, а также полотна балконных дверей должны быть навешены на три петли.
2.7. Для остекления окон и балконных дверей жилых зданий следует применять стекло по ГОСТ 111 толщиной 2,5-3 мм, а для общественных зданий - толщиной 3-4 мм.
Толщину стекла уточняют в проекте с учетом ветровых нагрузок и шумовых воздействий в районе строительства и указывают в заказе на изделия.
2.8. Места расположения уплотняющих пенополиуретановых прокладок по ГОСТ 10174 в притворах окон и балконных дверей указаны на чертежах сечений.
2.9. По требованию потребителей по периметру коробок окон и балконных дверей на торцевых и боковых поверхностях допускаются продольные пазы различного профиля, заполняемые деревянными вкладышами и обрамляемые наличниками при соединении изделий друг с другом.
2.10. Для обеспечения возможности оборудования окон и балконных дверей общественных зданий фрамужными приборами рычажного типа допускается увеличивать толщину верхних и вертикальных брусков коробок и импостов на 20 мм без изменения габаритов изделий.
2.11. По согласованию изготовителя с потребителем допускается изготовление балконных дверей высотой 28 модулей с фрамугами в отдельных коробках. В этом случае высоту глухой части полотен или остекленной части фрамуг уменьшают на 50 мм.
2.12. Расположение приборов в окнах и балконных дверях (примеры) приведено в приложении 3; спецификация стекол для окон и балконных дверей жилых зданий приведена в приложении 4, спецификация стекол для окон и балконных дверей общественных зданий - в приложении 5; фрамужный соединитель и ручка-упор приведены в приложении 6.

Черт.5

Черт.6
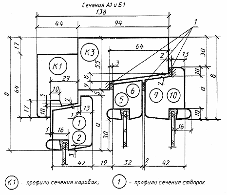
Сечения по притворам окон и балконных дверей
жилых зданий

|
Сечения |
а |
б |
в |
Детали |
||
|
А1 |
55 |
115 |
85 |
1 |
5 |
9 |
|
Б1 |
65 |
125 |
95 |
2 |
6 |
10 |
Примечание. Допускается размеры раскладки по стеклу уменьшать на 1 мм.
Черт.7

1 - уплотняющие прокладки; 2 - отверстие диаметром 10 мм для отвода воды
Черт.8
|
Сечение |
а |
б |
в |
Деталь |
||
|
А2 |
55 |
110 |
90 |
3 |
7 |
11 |
|
Б2 |
65 |
120 |
100 |
4 |
8 |
12 |
Примечание. Вариант отлива из алюминия см. черт.10.

|
Сечение |
а |
б |
в |
Деталь |
||
|
А3 |
55 |
125 |
85 |
1 |
5 |
9 |
|
Б3 |
65 |
135 |
95 |
2 |
6 |
10 |
Черт.9

|
Сечение |
а |
б |
в |
Деталь |
|||||
|
А4 |
55 |
165 |
115 |
1 |
5 |
9 |
3 |
7 |
11 |
|
Б4 |
65 |
185 |
135 |
2 |
6 |
10 |
4 |
8 |
12 |
Черт.10

|
Сечение |
а |
б |
в |
Деталь |
||
|
А5 |
55 |
190 |
130 |
1 |
5 |
9 |
|
Б5 |
65 |
210 |
150 |
2 |
6 |
10 |
Черт.11

Черт.12

1 - твердая ДВП толщиной 3,2-4 мм по ГОСТ 4598; 2 - мягкая ДВП толщиной 8 мм по ГОСТ 4598; 3 - пергамин по ГОСТ 2697; 4 - обшивка типа О-2 по ГОСТ 8242; 5 - раскладка
Черт.13

Черт.14

Черт.15
Конструкция, форма, основные размеры и марки окон
и балконных дверей общественных зданий

Черт.16

Черт.17

Черт.18

Черт.19

Черт.20

Черт.21

Черт.22
Сечения по притворам окон и балконных дверей
общественных зданий

1 - уплотняющие прокладки
Черт.23

1 - уплотняющие прокладки; 2 - отверстие диаметром 10 мм для отвода воды
Черт.24

Черт.25

|
Сечение |
а |
б |
в |
г |
Деталь |
|
В4 |
210 |
5 |
30 |
124 |
К14 |
|
В5 |
220 |
15 |
40 |
134 |
К15 |
Примечание. Петля для сечения В5.
Черт.26

Черт.27

Примечание. Заполнение полотен см. черт.29.
Черт.28

1 - твердая ДВП марки Т группы А толщиной 3,2-4 мм по ГОСТ 4598; 2 - мягкая ДВП толщиной 8 мм по ГОСТ 4598; 3 - пергамин по ГОСТ 2697; 4 - обшивка типа О-2 по ГОСТ 8242; 5 - раскладка
Черт.29

Черт.30

Черт.31

Черт.32
1 -нащельник
ПРИЛОЖЕНИЕ 1
Справочное
ГАБАРИТЫ ПРОЕМОВ ОКОН И БАЛКОННЫХ ДВЕРЕЙ
В НАРУЖНЫХ СТЕНАХ ЖИЛЫХ ЗДАНИЙ

Примечание. Размеры ширины проемов указаны для стен из панелей и модульного кирпича.
ПРИЛОЖЕНИЕ 2
Справочное
ГАБАРИТЫ ПРОЕМОВ ОКОН И БАЛКОННЫХ ДВЕРЕЙ
В НАРУЖНЫХ СТЕНАХ ОБЩЕСТВЕННЫХ ЗДАНИЙ

Примечание. Размеры ширины проемов указаны для стен из панелей и модульного кирпича.
ПРИЛОЖЕНИЕ 3
Рекомендуемое
РАСПОЛОЖЕНИЕ ПРИБОРОВ В ОКНАХ И
БАЛКОННЫХ ДВЕРЯХ
(примеры)

1 - петля ПВ1-100Л для внутренних створок, ПВ2-100-1 для наружных створок; 2 - петля ПВ3-1 для спаривания; 3 - петля ПВ1-80П для внутренних створок, ПВ2-75-1 для наружных створок; 4 - завертка ЗР2-1 для внутренних створок; ЭР2-2 для наружных створок со съемной ручкой; 5 - стяжка СТ
Черт.1

1 - петля ПВ1-100П для внутренних, ПВ2-100-1 для наружных створок; 2 - петля ПВ3-1 для спаривания; 3 - петля ПВ2-100-2 для наружных и внутренних фрамуг; 4 - завертка ЗР2-1 для внутренних створок; ЭР2-2 для наружных створок со съемной ручкой; 5 - прибор фрамужный ПФ2; 6 - петля ПВ3-2 для спаривания; 7 - фрамужный соединитель; 8 - стяжка СТ; 9 - ручка РС80; 10 - фиксатор ФК1
Черт.2
Примечания к черт.1 и 2:
1. Приборы для окон и балконных дверей должны соответствовать ГОСТ 538, ГОСТ 5087, ГОСТ 5088, ГОСТ 5090 и ГОСТ 5091.
2. Наружные створки должны навешиваться на петли типов ПВ2 с вынимающимися стержнями.
3. Завертки показаны в открытом положении.
4. Ручки РС80 устанавливают на наружных створках с внешней стороны здания на высоте 1000 мм от порога.
5. Фрамужный прибор показан условно.
6. Стяжки СТ располагают на створках со стороны помещения.
7. Угольники устанавливают в соответствии с п.2.13 ГОСТ 23166.
8. Фиксаторы устанавливают на узкие створки окон жилых и общественных зданий.
ПРИЛОЖЕНИЕ 4
Справочное
СПЕЦИФИКАЦИЯ СТЕКОЛ ДЛЯ ОКОН И
БАЛКОННЫХ ДВЕРЕЙ ЖИЛЫХ ЗДАНИЙ
|
Размер, мм |
||||||
|
Марка |
внутренний |
наружный |
||||
|
Высота |
Ширина |
Количество |
Высота |
Ширина |
Количество |
|
|
ОРС6-9 |
400 |
715 |
2 |
|
635 |
1 |
|
ОРС6-12 |
400 |
585 |
2 |
350 |
515 |
1 |
|
|
|
315 |
|
|
245 |
|
|
ОРС9-9 |
700 |
715 |
2 |
650 |
635 |
1 |
|
ОРС9-12 |
700 |
585 |
2 |
650 |
515 |
1 |
|
|
|
315 |
|
|
245 |
|
|
ОРС9-13,5 |
700 |
735 |
2 |
650 |
665 |
1 |
|
|
|
315 |
|
|
245 |
|
|
ОРС9-15 |
700 |
885 |
2 |
650 |
815 |
1 |
|
|
|
315 |
|
|
245 |
|
|
ОРС12-9 |
535 |
715 |
2 |
485 |
635 |
1 |
|
|
365 |
|
|
315 |
|
|
|
|
1000 |
585 |
|
950 |
515 |
|
|
ОРС12-12 |
535 |
315 |
2 |
485 |
245 |
1 |
|
|
365 |
|
|
315 |
|
|
|
|
1000 |
735 |
|
950 |
665 |
|
|
ОРС12-13,5 |
535 |
315 |
2 |
485 |
245 |
1 |
|
|
365 |
|
|
315 |
|
|
|
|
1000 |
885 |
|
950 |
815 |
|
|
ОРС12-15 |
535 |
315 |
2 |
485 |
245 |
1 |
|
|
365 |
|
|
315 |
|
|
|
ОРС15-6 |
835 |
415 |
2 |
785 |
335 |
1 |
|
|
365 |
|
|
315 |
|
|
|
ОРС15-9 |
835 |
715 |
2 |
785 |
635 |
1 |
|
|
365 |
|
|
315 |
|
|
|
ОРС15-9А |
1300 |
715 |
2 |
1250 |
635 |
1 |
|
1300 |
585 |
|
1250 |
515 |
|
|
|
ОРС15-12 |
835 |
315 |
2 |
785 |
245 |
1 |
|
|
365 |
|
|
315 |
|
|
|
|
1300 |
735 |
|
1250 |
665 |
|
|
ОРС15-13,5 |
835 |
315 |
2 |
785 |
245 |
1 |
|
|
365 |
|
|
315 |
|
|
|
|
1300 |
755 |
2 |
1250 |
685 |
1 |
|
ОРС15-18 |
|
315 |
|
|
245 |
|
|
|
835 |
315 |
2 |
785 |
245 |
1 |
|
|
365 |
|
|
315 |
|
|
|
|
1300 |
685 |
4 |
1250 |
615 |
2 |
|
ОРС15-21 |
835 |
315 |
2 |
785 |
245 |
1 |
|
|
365 |
|
|
315 |
|
|
|
ОРС18-9 |
995 |
695 |
2 |
945 |
615 |
1 |
|
|
465 |
|
|
415 |
|
|
|
ОРС18-9А |
1580 |
695 |
2 |
1530 |
615 |
1 |
|
|
1580 |
695 |
|
1530 |
625 |
|
|
ОРС18-13,5 |
995 |
315 |
2 |
945 |
245 |
1 |
|
|
465 |
|
|
415 |
|
|
|
|
1300 |
885 |
|
1250 |
815 |
|
|
ОРС15-15 |
835 |
315 |
2 |
785 |
245 |
1 |
|
|
365 |
|
|
315 |
|
|
|
|
1580 |
845 |
|
1530 |
775 |
|
|
ОРС18-15 |
995 |
315 |
2 |
945 |
245 |
1 |
|
|
465 |
|
|
415 |
|
|
|
БРС22-7,5 |
1300 |
545 |
2 |
1250 |
465 |
1 |
|
БРС22-9 |
1300 |
695 |
2 |
1250 |
615 |
1 |
|
БРС24-7,5 |
1580 |
545 |
2 |
1530 |
465 |
1 |
|
БРС24-9 |
1580 |
695 |
2 |
1530 |
615 |
1 |
ПРИЛОЖЕНИЕ 5
Справочное
СПЕЦИФИКАЦИЯ СТЕКОЛ ДЛЯ ОКОН
И БАЛКОННЫХ ДВЕРЕЙ ОБЩЕСТВЕННЫХ ЗДАНИЙ
|
Размер, мм |
||||||
|
Марка |
внутренний |
наружный |
||||
|
Высота |
Ширина |
Количество |
Высота |
Ширина |
Количество |
|
|
ОРС12-9В |
9 80 |
695 |
2 |
930 |
615 |
1 |
|
ОРС12-12В |
9 80 |
995 |
2 |
930 |
915 |
1 |
|
ОРС12-13,5В |
9 80 |
1145 |
2 |
930 |
1065 |
1 |
|
ОРС12-15В |
9 80 |
775 |
2 |
930 |
705 |
1 |
|
|
385 |
|
|
315 |
||
|
ОРС12-18В |
9 80 |
995 |
2 |
930 |
925 |
1 |
|
|
|
465 |
|
|
395 |
|
|
ОРС12-21В |
980 |
1195 |
2 |
930 |
1125 |
1 |
|
|
|
565 |
|
|
495 |
|
|
ОРС18-9В |
1050 |
695 |
2 |
1000 |
615 |
1 |
|
|
395 |
|
|
335 |
|
|
|
ОРС18-12В |
1050 |
995 |
2 |
1000 |
915 |
1 |
|
|
395 |
|
|
335 |
|
|
|
ОРС18-13,5В |
1050 |
1145 |
2 |
1000 |
1065 |
1 |
|
|
395 |
|
|
335 |
|
|
|
|
1580 |
385 |
|
1530 |
315 |
|
|
ОРС18-15В |
1050 |
775 |
2 |
1000 |
705 |
1 |
|
|
395 |
|
|
335 |
|
|
|
|
1580 |
465 |
|
1530 |
395 |
|
|
ОРС18-18В |
1050 |
995 |
2 |
1000 |
925 |
1 |
|
|
395 |
|
|
335 |
|
|
|
|
1580 |
565 |
|
1530 |
495 |
|
|
ОРС18-21В |
1050 |
1195 |
2 |
1000 |
1125 |
1 |
|
|
395 |
|
|
335 |
|
|
|
|
1580 |
|
|
1530 |
|
|
|
ОРС18-24В |
1050 |
1030 |
2 |
1000 |
960 |
1 |
|
|
395 |
|
|
335 |
|
|
|
ОРС18-9Г |
1580 |
695 |
2 |
1530 |
615 |
1 |
|
|
1580 |
|
|
1530 |
|
|
|
ОРС18-27В |
1050 |
1180 |
2 |
1000 |
1110 |
1 |
|
|
395 |
|
|
335 |
|
|
|
ОРС18-12Г |
1580 |
995 |
2 |
1530 |
915 |
1 |
|
ОРС18-13,5Г |
1580 |
1145 |
2 |
1530 |
1065 |
1 |
|
ОРС18-15Г |
1580 |
775 |
2 |
1530 |
705 |
1 |
|
|
|
385 |
|
|
315 |
|
|
ОРС18-18Г |
1580 |
995 |
2 |
1530 |
925 |
1 |
|
|
|
465 |
|
|
395 |
|
|
ОРС18-21Г |
1580 |
1195 |
2 |
1530 |
1125 |
1 |
|
|
|
565 |
|
|
495 |
|
|
ОРС18-24Г |
1580 |
1030 |
4 |
1530 |
960 |
2 |
|
ОРС18-27Г |
1580 |
1175 |
2 |
1530 |
1105 |
1 |
|
|
|
525 |
4 |
|
455 |
2 |
|
ОРС21-9В |
1350 |
695 |
2 |
1300 |
615 |
1 |
|
|
395 |
|
|
335 |
|
|
|
ОРС21-12В |
1350 |
995 |
2 |
1300 |
915 |
1 |
|
|
395 |
|
|
335 |
|
|
|
ОРС21-13,5В |
1350 |
1145 |
2 |
1300 |
1065 |
1 |
|
|
395 |
|
|
335 |
|
|
|
|
1880 |
385 |
|
1830 |
315 |
|
|
ОРС21-15В |
1350 |
775 |
2 |
1300 |
705 |
1 |
|
|
395 |
|
|
335 |
|
|
|
|
1880 |
465 |
|
1830 |
395 |
|
|
ОРС21-18В |
1350 |
995 |
2 |
1300 |
925 |
1 |
|
|
395 |
|
|
335 |
|
|
|
ОРС21-9Г |
1880 |
695 |
2 |
1830 |
615 |
1 |
|
|
1880 |
565 |
|
1830 |
495 |
|
|
ОРС21-21В |
1350 |
1195 |
2 |
1300 |
1125 |
1 |
|
|
395 |
|
|
335 |
|
|
|
|
1880 |
|
|
1830 |
|
|
|
ОРС21-24В |
1350 |
1030 |
2 |
1300 |
960 |
1 |
|
|
395 |
|
|
335 |
|
|
|
|
1880 |
|
|
1830 |
|
|
|
ОРС21-27В |
1350 |
1180 |
2 |
1300 |
1110 |
1 |
|
|
395 |
|
|
335 |
|
|
|
ОРС21-12Г |
1880 |
995 |
2 |
1830 |
915 |
1 |
|
ОРС21-13,5Г |
1880 |
1145 |
2 |
1830 |
1065 |
1 |
|
ОРС21-15Г |
1880 |
775 |
2 |
1830 |
705 |
1 |
|
|
|
385 |
|
|
315 |
|
|
ОРС21-18Г |
1880 |
995 |
2 |
1830 |
925 |
1 |
|
|
|
465 |
|
|
395 |
|
|
ОРС21-21Г |
1880 |
1195 |
2 |
1830 |
1125 |
1 |
|
|
|
565 |
|
|
495 |
|
|
ОРС21-24Г |
1880 |
1030 |
4 |
1830 |
960 |
2 |
|
ОРС21-27Г |
1880 |
1175 |
2 |
1830 |
1105 |
1 |
|
|
|
525 |
4 |
|
455 |
2 |
|
БРС28-9 |
1350 |
695 |
2 |
1300 |
615 |
1 |
|
|
395 |
|
|
335 |
|
|
|
БРС28-12 |
1350 |
995 |
2 |
1300 |
915 |
1 |
|
|
395 |
|
|
335 |
|
|
|
|
1350 |
|
|
1300 |
735 |
|
|
БРС28-18 |
|
750 |
4 |
|
685 |
1 |
|
|
395 |
|
|
335 |
735 |
|
|
|
|
|
|
|
685 |
|
