ГОСТ 20054-82 (1992), часть 2
----------------
* Параметры, указанные в этой строке, являются предпочтительными при изготовлении труб методом радиального прессования.
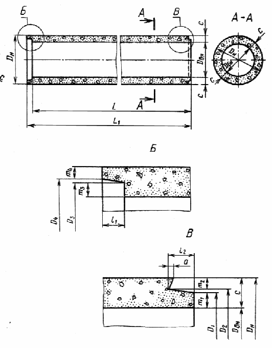
Трубы типа ТБПС.
Разрез по продольной оси трубы

Черт. 3
Трубы типа ТБФ.
Разрез по продольной оси трубы

Черт. 4
Таблица 3
(левая часть)
Параметры труб типа ТБПС
|
Диаметр условного прохода трубы, |
Типоразмер трубы
|
Проектная марка бетона по прочности на осевое растяжение |
Размеры труб, мм
|
|||||||
|
|
|
при группе по несущей способности |
|
|
|
|
|
|
|
|
|
|
|
1
|
2
|
|
|
|
|
|
|
|
|
|
|
Р20
|
Р30
|
|
790
|
975
|
763 |
|
|
|
|
600
|
ТБПC 60.20
|
Р25*
|
Р35*
|
600
|
770
|
950
|
(758)
|
730
|
756
|
723
|
|
|
|
Р30
|
-
|
|
750
|
935
|
|
|
|
|
|
|
|
Р20
|
Р30
|
|
1040
|
1245
|
985 |
|
|
|
|
800
|
ТБПC 80.20
|
Р25*
|
Р40*
|
800
|
1010
|
1210
|
(980)
|
950
|
976
|
943
|
|
|
|
Р30
|
-
|
|
990
|
1195
|
|
|
|
|
|
|
|
Р20
|
Р30
|
|
1290
|
1525
|
|
|
|
|
|
1000 |
ТБПC 100.20 |
Р25*
|
Р40*
|
1000 |
1250
|
1480
|
1215 (1210) |
1180 |
1206 |
1173 |
|
|
|
Р30
|
-
|
|
1230
|
1465
|
|
|
|
|
|
|
|
Р35
|
-
|
|
1210
|
1445
|
|
|
|
|
----------------
* Параметры, указанные в этой строке, являются предпочтительными при изготовлении труб методом радиального прессования.
Таблица 3
(правая часть)
Параметры труб типа ТБПС
|
Диаметруслов-ного прохода |
Типоразмер трубы |
Проектная марка бетона по прочности на осевое растяжение |
Размеры трубы, мм
|
Объембетона, |
Спра- вочнаямасса трубы, |
|||||||||
|
трубы,
|
|
при группе по несущей способности |
|
|
|
|
|
|
|
|
|
|
т
|
|
|
|
|
1
|
2
|
|
|
|
|
|
|
|
|
|
|
|
|
|
|
Р20
|
Р30
|
|
|
560
|
95
|
|
|
|
195
|
|
0,525
|
1,26
|
|
600
|
ТБПC 60.20
|
Р25*
|
Р35*
|
2155
|
2000
|
540
|
85
|
140
|
10
|
155
|
190
|
40
|
0,468
|
1,12
|
|
|
|
Р30
|
-
|
|
|
520
|
75
|
|
|
|
185
|
|
0,414
|
0,99
|
|
|
|
Р20
|
Р30
|
|
|
730
|
120
|
|
|
|
210
|
|
0,874
|
2,10
|
|
800
|
ТБПC 80.20
|
Р25*
|
Р40*
|
2165
|
2000
|
700
|
105
|
185
|
15
|
165
|
200
|
50
|
0,763
|
1,83
|
|
|
|
Р30
|
-
|
|
|
680
|
95
|
|
|
|
200
|
|
0,696
|
1,67
|
|
|
|
Р20
|
Р30
|
|
|
920
|
145
|
|
|
|
235
|
|
1,350
|
3,24
|
|
1000
|
ТБПC 100.20 |
Р25*
|
Р40*
|
2175
|
2000
|
880
|
125
|
225
|
20
|
175
|
225
|
60
|
1,150
|
2,76
|
|
|
|
Р30
|
-
|
|
|
860
|
115
|
|
|
|
220
|
|
1,070
|
2,56
|
|
|
|
Р35
|
-
|
|
|
840
|
105
|
|
|
|
220
|
|
0,984
|
2,36
|
----------------
* Параметры, указанные в этой строке, являются предпочтительными при изготовлении труб методом радиального прессования.
Таблица 4
(левая часть)
Параметры труб типа ТБФ
|
Диаметр условного прохода трубы, |
Типоразмер трубы
|
Проектная марка бетона по прочности на осевое растяжение при группе |
Размеры трубы, м
|
|||||||||
|
|
|
по несущей способности |
|
|
|
|
|
|
|
|
|
|
|
|
|
1
|
2
|
|
|
|
|
|
|
|
|
|
|
|
|
Р20
|
Р30
|
|
410
|
|
372
|
|
376
|
|
|
55
|
|
300
|
ТБФ 30.15
|
Р25*
|
Р35*
|
300
|
400
|
332
|
362
|
340
|
366
|
1525
|
1500
|
50
|
|
|
|
Р30
|
Р40
|
|
390
|
|
352
|
|
356
|
|
|
45
|
|
|
|
Р20
|
Р30
|
|
550
|
|
510
|
|
510
|
|
|
75
|
|
400
|
ТБФ 40.15
|
Р25*
|
Р35*
|
400
|
530
|
440
|
490
|
448
|
490
|
1525
|
1500
|
65
|
|
|
|
Р30
|
-
|
|
510
|
|
470
|
|
470
|
|
|
55
|
|
|
|
Р20
|
Р25
|
|
670
|
|
624
|
|
624
|
|
|
85
|
|
500
|
ТБФ 50.20
|
Р25*
|
Р35*
|
500
|
650
|
554
|
604
|
562
|
604
|
2030
|
2000
|
75
|
|
|
|
Р30
|
-
|
|
630
|
|
584
|
|
584
|
|
|
65
|
|
|
|
Р20
|
Р30
|
|
790
|
|
730
|
|
730
|
|
|
95
|
|
600
|
ТБФ 60.20
|
Р25*
|
Р35*
|
600
|
770
|
660
|
710
|
668
|
710
|
2035
|
2000
|
85
|
|
|
|
Р30
|
-
|
|
750
|
|
690
|
|
690
|
|
|
75
|
|
|
|
Р20
|
Р30
|
|
1040
|
|
960
|
|
960
|
|
|
120
|
|
800
|
ТБФ 80.20
|
Р25*
|
Р40*
|
800
|
1010
|
874
|
930
|
882
|
930
|
2055
|
2000
|
105
|
|
|
|
Р30
|
-
|
|
990
|
|
910
|
|
910
|
|
|
95
|
----------------
* Параметры, указанные в этой строке, являются предпочтительными при изготовлении труб методом радиального прессования.
Таблица 4
(правая часть)
Параметры труб типа ТБФ
|
Диаметр условного прохода трубы, |
Типоразмер трубы
|
Проектная марка бетона по прочности на осевое растяжение |
Размеры трубы, мм
|
Объембетона, |
Справочная масса |
|||||||
|
|
|
при группе по несущей способности |
|
|
|
|
|
|
|
|
трубы, т
|
|
|
|
|
1
|
2
|
|
|
|
|
|
|
|
|
|
|
|
|
Р20
|
Р30
|
|
|
|
|
|
|
|
0,092
|
0,22
|
|
300
|
ТБФ 30.15
|
Р25*
|
Р35*
|
20
|
17
|
25
|
16
|
19
|
45
|
5
|
0,082
|
0,20
|
|
|
|
Р30
|
Р40
|
|
|
|
|
|
|
|
0,073
|
0,17
|
|
|
|
Р20
|
Р30
|
|
|
|
|
|
|
|
0,167
|
0,40
|
|
400
|
ТБФ 40.15
|
Р25*
|
Р35*
|
24
|
20
|
25
|
20
|
20
|
45
|
5
|
0,142
|
0,34
|
|
|
|
Р30
|
-
|
|
|
|
|
|
|
|
0,118
|
0,28
|
|
|
|
Р20
|
Р25
|
|
|
|
|
|
|
|
0,310
|
0,74
|
|
500
|
ТБФ 50.20
|
Р25*
|
Р35*
|
31
|
23
|
30
|
27
|
23
|
55
|
10
|
0,271
|
0,65
|
|
|
|
Р30
|
-
|
|
|
|
|
|
|
|
0,230
|
0,55
|
|
|
|
Р20
|
Р30
|
|
|
|
|
|
|
|
0,414
|
0,99
|
|
600
|
ТБФ 60.20
|
Р25*
|
Р35*
|
34
|
30
|
35
|
30
|
30
|
60
|
10
|
0,364
|
0,87
|
|
|
|
Р30
|
-
|
|
|
|
|
|
|
|
0,320
|
0,77
|
|
|
|
Р20
|
Р30
|
|
|
|
|
|
|
|
0,690
|
1,66
|
|
800
|
ТБФ 80.20
|
Р25*
|
Р40*
|
41
|
40
|
55
|
37
|
40
|
80
|
10
|
0,596
|
1,43
|
|
|
|
Р30
|
-
|
|
|
|
|
|
|
|
0,534
|
1,28
|
----------------
* Параметры, указанные в этой строке, являются предпочтительными при изготовлении труб методом радиального прессования.
Трубы типа ТБПФ.
Разрез по продольной оси трубы

Черт. 5
Таблица 5
(левая часть)
Параметры труб типа ТБПФ
|
Диаметр условного прохода трубы, |
Типоразмер трубы
|
Проектная марка бетона по прочности на осевое растяжение при группе по |
Размеры труб, мм
|
|||||||||
|
|
|
несущей способности |
|
|
|
|
|
|
|
|
|
|
|
|
|
1
|
2
|
|
|
|
|
|
|
|
|
|
|
|
|
Р20
|
Р30
|
|
1290
|
|
1190
|
|
1190
|
|
|
145
|
|
1000
|
ТБПФ 100.20
|
Р25*
|
Р40*
|
1000
|
1250
|
1090
|
1150
|
1100
|
1150
|
2100
|
2000
|
125
|
|
|
|
Р30
|
-
|
|
1230
|
|
1130
|
|
1130
|
|
|
115
|
|
|
|
Р35
|
-
|
|
1210
|
|
1110
|
|
1110
|
|
|
105
|
