СНиП II-26-76, часть 3
Приложение З (рекомендуемое). Покрытия (крыши) с кровлей из штучных материалов и волнистых листов
Приложение З
(рекомендуемое)
Таблица З.1 - Схемы крыши
|
Схема утепленной крыши |
|
|
|
1 - сборная или
монолитная железобетонная плита; 2 - обшивка из гипсокартона или
прессованного хризотилцементного листа и т.п.; 2' - каркас под обшивку; 3
- пароизоляция; 4 - плитный утеплитель; 5 - ветрозащитный слой; 6 -
двухканальный вентиляционный зазор; 7 - контробрешетка; 8 - обрешетка; 9
- металлический волнистый лист (профнастил); 10 - волнистый
хризотилцементный или цементноволокнистый лист; 11 - битумный волнистый
лист; 12 - металлочерепица или композитная черепица; 13 - гидрозащитная
пленка (таблица З.1); 14 - битумная черепица; 15 - сплошной настил; 16 -
стропило; 16' - стропило из термопрофиля; 16" - деревянный брус; 17 -
цементно-песчаная или керамическая черепица; 18 - дополнительная
теплоизоляция; 19 - ветро-гидрозащитная пленка (таблица З.2); 20 -
одноканальный вентиляционный зазор; 21 - металлическая зубчатая
пластина, приклеенная битумом; 22 - битум; 23 - битумный рулонный
материал, прибитый к сплошному настилу; 24 - теплоизоляция из пеностекла
с коэффициентом паропроницаемости равным 0 мг/(м·ч·Па); 25 - несущий
профилированный настил; 26 - рулонный битумный или битумно-полимерный
материал; 27 - затирка из цементно-песчаного раствора |
Окончание таблицы З.1
|
Схема неутепленной крыши |
|
|
|
1 - контробрешетка;
2 - обрешетка; 3 - сплошной настил; 4 - металлический волнистый лист
(профнастил); 5 - волнистый хризотилцементный или цементно-волокнистый
лист; 6 - битумный волнистый лист; 7 - металлочерепица или композитная
черепица; 8 - гидрозащитная пленка (таблица З.2); 9 - битумная черепица;
10 - стропило; 11 - стропило из легких стальных тонкостенных
конструкций; 12 - вентиляционный канал |
Таблица З.2 - Показатели диффузионных (подкровельных) пленок
|
Наименование показателя, ед. измерения |
Ветро-гидрозащитная пленка (укладывается по утеплителю с одним вентиляционным зазором) |
Гидрозащитная пленка (укладывается только с двумя вентиляционными зазорами) |
|
1. Паропроницаемость, г/м |
|
- |
|
2. Разрывная нагрузка при растяжении (вдоль и поперек полотнища материала), Н/5см |
|
|
|
3. Водонепроницаемость, м водяного столба |
|
|
|
4. Рабочая температура, °С |
-40...+100 |
-40...+80 |
|
5. Стойкость к ультрафиолетовым лучам, мес |
|
|
Приложение И (рекомендуемое). Примеры решения деталей кровли из цементно-песчаной черепицы
Приложение И
(рекомендуемое)
Рисунок И.1 - Карниз крыши с двумя вентиляционными зазорами
|
|
|
|
1 - черепица; 2 - обрешетка; 3 - контробрешетка; 4 - гидрозащитная
пленка; 5 - утеплитель; 5а - ветрозащитный слой (из стеклохолста); 6 -
карнизная доска; 7 - капельник; 8 - крепление желоба; 9 - водосточный
желоб; 10 - подшивка карниза; 11 - трубки ограждения и снегозадержания;
12 - стойка ограждения; 13 - укосина; 14 - опорный кронштейн; 15 - доска
крепления; 16 - вентиляционная лента; 17 - фартук свеса; 18 -
пароизоляция; 19 - внутренняя обшивка; 20 - гидроизоляция; 21 -
П-образная металлическая скоба; 22 - мауэрлат
Рисунок И.1 - Карниз крыши с двумя вентиляционными зазорами
Рисунок И.2 - Конек крыши с одним вентиляционным зазором и конек кровли с чердаком и вентиляционным элементом в гидрозащитной пленке
|
|
|
|
1 - черепица; 2 - обрешетка; 3 - контробрешетка; 4 - ветрогидрозащитная
пленка; 4а - гидрозащитная пленка; 5 - утеплитель; 6 - пароизоляция; 7 -
коньковая черепица; 8 - аэроэлемент конька; 9 - коньковый брусок; 10 -
зажим коньковой черепицы; 11 - крепление конькового бруска; 12 -
коньковый прогон; 13 - внутренняя обшивка; 14 - вентиляционный элемент;
15 - болтовое соединение; 16 - столб; 17 - ригель; 18 - приклейка
пароизоляции
Рисунок И.2 - Конек крыши с одним вентиляционным зазором (а) и конек кровли с чердаком и вентиляционным элементом в гидрозащитной пленке (б)
Рисунок И.3 - Водоотводящий желоб на черепичной кровле неутепленной и утепленной крыши
|
|
|
|
1 - черепица; 2 - обрешетка; 3 - контробрешетка; 4 - гидрозащитная
пленка; 5 - алюминиевый окрашенный желобок; 6 - сплошной дощатый настил
ендовы; 7 - поролоновая полоса; 8 - скоба крепления желоба; 9 -
оцинкованный гвоздь; 10 - утеплитель с покровным (ветрозащитным) слоем;
11 - пароизоляция; 12 - внутренняя обшивка
Рисунок И.3 - Водоотводящий желоб на черепичной кровле неутепленной (а) и утепленной крыши (б)
Рисунок И.4 - Сопряжение крыши с трубой и стеной


1 - черепица; 2 - обрешетка; 3 - контробрешетка; 4 - ветрогидрозащитная
пленка; 5 - утеплитель; 5' - негорючий утеплитель; 6 - труба; 7 -
пароизоляция; 8 - внутренняя обшивка; 9 - дренажный желоб; 10 - рулонный
самоклеящийся материал; 11 - каркас вентиляционного канала; 12 - доска;
13 - фартук (капельник); 14 - крепежный элемент; 15 - герметик; 16 -
стена; 17 - П-образная металлическая скоба; 18 - гидроизоляция; 19 -
брус
Рисунок И.4 - Сопряжение крыши с трубой (а) и стеной (б)
Приложение К (рекомендуемое). Пример расчета шага обрешетки и длины кровли из цементно-песчаной и керамической черепицы
Приложение К
(рекомендуемое)
Цементно-песчаная черепица
Для определения числа рядов черепицы на проектируемой кровле вначале рассчитывают шаг
обрешетки:
, где (длины черепицы) =420 мм;
(нахлестка черепиц) =75-108 мм в зависимости от уклона (6.1.2).
Зная длину стропила можно определить количество рядов черепицы
,
где
- шаг стропил у карниза;
32-39 см (рисунок К.1) в зависимости от положения водосточного желоба;
4 см - расстояние от конька до верхней грани обрешетки.
Рисунок К.1 - Поперечный разрез черепичной кровли

Рисунок К.1 - Поперечный разрез черепичной кровли
На многоскатных кровлях шаг обрешетки и число рядов черепицы рассчитывают для каждого ската.
Длина
кровли (длина обрешетки) зависит от длины здания и применяемой боковой
черепицы (рисунок К.2). Точная подгонка длины кровли обеспечивается
применением половинчатой черепицы и свободной укладкой черепицы (с
люфтом 3 мм в каждом стыке черепицы).
Рисунок К.2 - Схема для расчета длины кровли с боковой и облеченной цементно-песчаной черепицей
|
|
1 - боковая левая черепица; 2 - половинчатая черепица, 3 - цельная
рядовая черепица, 4 - боковая правая черепица; 5 - шуруп с
уплотнительной шайбой
Рисунок К.2 - Схема для расчета длины кровли с боковой (а) и облеченной (б) цементно-песчаной черепицей
Керамическая черепица
Размеры черепицы, расчет длины ската и кровли приведены на рисунках К.3-К.5.
Рисунок К.3 - План черепицы, поперечный и продольный разрезы

Рисунок К.3 - План черепицы, поперечный и продольный разрезы
Рекомендуемый уклон кровли - 30°.
Расход на 1 м ~34 шт.
Средняя длина черепицы в кровле ~360 мм;
Средняя ширина черепицы в кровле ~180 мм (рисунок К.3).
Шаг обрешетки: при двойной укладке - 145-165 мм (рисунок К.4а) и при корончатой укладке - 290-330 мм (рисунок К.4б).
Рисунок К.4 - Поперечный разрез кровли (скат кровли) при двойной и при корончатой укладке черепицы
|
|
Рисунок К.4 - Поперечный разрез кровли (скат кровли) при двойной (а) и при корончатой (б) укладке черепицы
LAF - расстояние от конька до обрешетки, равно 100 мм при уклоне кровли до 30°; 90 - 100 мм - от 30 до 45° и 75 - 90 мм - 45°;
LA - шаг обрешетки;
LAT1 и LAT2 - шаг обрешетки на свесе.
Длина ската будет равна LAT1+ LAT2+LAF+LA
, где
- число рядов черепицы.
Рисунок К.5 - Продольный разрез кровли с применением на фронтоне боковой черепицы и без применения такой черепицы
|
|
Рисунок К.5 - Продольный разрез кровли с применением на фронтоне боковой черепицы (а) и без применения такой черепицы (б)
Приложение Л (рекомендуемое). Примеры решения деталей кровли из битумной черепицы
Приложение Л
(рекомендуемое)
Рисунок Л.1 - Карнизный узел крыши мансардного этажа и холодного чердака
|
|
|
|
1 - битумная черепица; 2 - подкладочный слой; 3 - сплошной настил; 4 -
кобылка; 5 - ветро-гидрозащитная пленка; 5' - ветрозащитный слой (из
стеклохолста); 6 - обрешетка; 7 - мауэрлат; 8 - стропило; 9 -
вентиляционный канал, 10 - теплоизоляция; 11 - пароизоляция; 12 -
гипсокартон, 13 - анкер крепления стропил и мауэрлата; 14 - каркас
карнизного свеса; 15 - подшивка, 16 - капельник; 17 - бруски; 18 -
карнизная черепица, 19 - скоба желоба; 20 - железобетонная плита; 21 -
гидроизоляция, 22 - соединительный металлический элемент
Рисунок Л.1 - Карнизный узел крыши мансардного этажа (а) и холодного чердака (б)
Рисунок Л.2 - Примыкание кровли к кирпичной трубе
|
|
1 - труба;
2 - гипсокартон; 3 - пароизоляция; 4 - теплоизоляция; 4а - негорючий утеплитель; 5 - настил; 6 - битумная черепица; 7 - рулонный материал; 8 - уголок со стороны конька; 9 - металлическая планка примыкания; 10 - герметик; 11 - передний уголок; 12 - боковой уголок; 13 - стропило; 14 - крепежный элемент; 15 - вентиляционный канал; 16 - ветрогидрозащитная пленка.
Примечание - Уголки из оцинкованной стали толщиной 1 мм.
Рисунок Л.2 - Примыкание кровли к кирпичной трубе
Приложение М (рекомендуемое). Примеры решения деталей кровли из плиток
Приложение М
(рекомендуемое)
Таблица М.1 - Размеры обрешетки [3, 5]
|
Расстояние от нижнего края перекрывающей плитки до верхней кромки плитки предыдущего (перед перекрываемым) ряда |
Шаг обрешетки |
Шаг обрешетки |
|
40 |
180 |
260 |
|
50 |
175 |
255 |
|
60 |
170 |
250 |
|
70 |
165 |
245 |
|
80 |
160 |
240 |
|
90 |
155 |
235 |
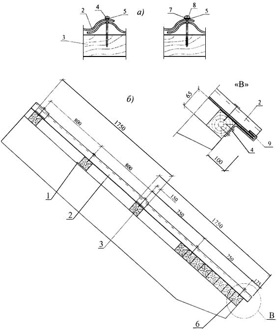
Рисунок М.1 - Схема укладки крупноформатных хризотилцементных плиток по типу "сот"

1 - обрешетка; 2 - плитка типа "СОТ"; 3 - крепежный элемент; 4 -
стропило; 5 - сплошной настил на карнизе с гидроизоляционным слоем; 6 -
противоветровая кнопка; - шаг обрешетки;
- расстояние от нижнего края перекрывающей плитки до верхней кромки плитки предыдущего перед перекрываемым ряда
Рисунок М.1 - Схема укладки крупноформатных хризотилцементных плиток по типу "сот"
Рисунок М.2 - Схема укладки крупноформатных хризотилцементных плиток по типу "чешуи"
|
|
1 - обрешетка; 2 - стропило; 3 - плитка; 4 - крепежный элемент; 5 -
краевая плитка; 6 - скоба для крепления свеса кровли; 7 -
противоветровая кнопка; 8 - линия свеса
Рисунок М.2 - Схема укладки крупноформатных хризотилцементных плиток по типу "чешуи"
Приложение Н (рекомендуемое). Примеры решения деталей кровли из волнистых листов
Приложение Н
(рекомендуемое)
Рисунок Н.1 - Конек (ребро) кровли

1, 2 и 3 - бруски; 4 - рулонный кровельный материал; 5 и 6 - коньковые
детали; 7 - скоба; 8 и 9 - резиновая прокладка и гвоздь; 10 - волнистый
лист
Рисунок Н.1 - Конек (ребро) кровли (стропила условно не показаны)
Рисунок Н.2 - Ендова кровли

1 - лоток;
2 - листы; 3 - дощатый настил ендовы; 4 - брусок; 5 - шуруп; 6 - уравнительная планка; 7 - гвоздь
Рисунок Н.2 - Ендова кровли
Рисунок Н.3 - Компенсационный шов

1 - накрываемый край волнистого листа; 2, 3 - скоба; 4 - лотковая
деталь; 5 - край волнистого листа; 6, 7 - шайбы; 8 - винт с полукруглой
головкой; 9 - заклепка
Рисунок Н.3 - Компенсационный шов
Рисунок Н.4 - Крепление волнистых листов к металлическим прогонам из швеллера и уголка
|
|
1 - прогон;
2 - крепежный элемент типа "крюк"; 3 - шайба
Рисунок Н.4 - Крепление волнистых листов к металлическим прогонам из швеллера (а) и уголка (б)
Рисунок Н.5 - Крепление волнистых листов и схема разбивки обрешетки под листы СВ40/150
|
|
1 - уравнительная планка; 2 - лист; 3 - обрешетка; 4 - оцинкованный
гвоздь; 5 - резиновая прокладка; 6 - карнизный настил; 7 - шайба; 8 -
шуруп; 9 - противоветровая скоба
Рисунок Н.5 - Крепление волнистых листов (а) и схема разбивки обрешетки под листы СВ40/150 (б)
Рисунок Н.6 - Примыкание кровли из волнистых листов к поперечной и продольной стене
|
|
1 - обрешетка; 2 - лист; 3 - гвоздь (шуруп); 4 - уголковая деталь; 5 -
герметик; 5' - цементно-песчаный раствор; 6 - стена; 7 - стропило; 8 -
гидроизоляция из рулонного материала; 9 - мауэрлат
Рисунок Н.6 - Примыкание кровли из волнистых листов к поперечной (а) и продольной (б) стене
Рисунок Н.7 - Конек кровли глухой и вентилируемый
|
|
1 - прогон;
2
- крепежный элемент; 3 - гребенка; 4 - прижимная скоба; 5 - коньковая
деталь; 6 - гайка; 7 - волнистый лист; 8 - уплотнительная шайба; 9 -
стальная шайба; 10 - уплотнительная прокладка; 11 - заклепка; 12 -
опорный элемент из стальной полосы
Рисунок Н.7 - Конек кровли глухой (а); вентилируемый (б)
Рисунок Н.8 - Карнизный и коньковый узлы кровли из волнистых листов
|
|
1 - битумный, металлический или цементно-волокнистый волнистый лист; 2 -
обрешетка (сплошной настил); 3 - контробрешетка; 4 - уплотнитель с
вентиляционными отверстиями; 5 - скоба для лотка; 6 - подшивка карниза; 7
- каркас карнизного свеса; 8 - ветрогидрозащитная пленка; 9 - анкер
крепления стропила и мауэрлата; 10 - стена; 11 - мауэрлат; 12 -
гипсокартон; 13 - пароизоляция; 14 - брусок; 15 - теплоизоляция; 16 -
коньковый элемент; 17 - гвоздь с закрывающейся шляпкой; 18 - стропило;
19 - вентиляционный канал с шагом 0,5 м в контробрешетке
Рисунок Н.8 - Карнизный (а) и коньковый (б) узлы кровли из волнистых листов
Рисунок Н.9 - Коньковый узел с вентиляцией через венттрубу и примыкание кровли к кирпичной трубе
|
|
|
|
1 - волнистый лист; 2 - обрешетка; 3 - контробрешетка; 4 - уплотнитель
без вентиляционных отверстий; 5 - гвоздь с закрывающейся шляпкой; 6 -
коньковый элемент; 7 - венттруба; 8 - ветро-гидрозащитная пленка; 9 -
теплоизоляция; 10 - пароизоляция; 11 - гипсокартон; 12 - брусок; 13 -
щипцовое окно; 14 - фартук; 15 - вертикальная часть фартука; 16 -
герметизирующая лента; 17 - металлическая планка; 18 - дюбель; 19 -
герметик; 20 - минвата (негорючая); 21 - кирпичная труба
Рисунок Н.9 - Коньковый узел (а) с вентиляцией через венттрубу и примыкание кровли к кирпичной трубе (б)
Приложение П (рекомендуемое). Примеры решения деталей кровли из металлочерепицы
Приложение П
(рекомендуемое)
Рисунок П.1 - Карнизный узел кровли холодного чердака и крыши мансарды
|
|

1 - несущая плита; 2 - пароизоляция; 3 - теплоизоляция; 4 -
дополнительная теплоизоляция по периметру здания; 5 - мауэрлат; 6 -
стропило; 7 - контробрешетка; 8 - металлочерепица; 9 - обрешетка; 10 -
карнизная планка (капельник); 11 - скоба желоба; 12 - подшивка карниза;
13 - каркас карнизного свеса; 14 - стена; 15 - щипцовое окно; 16 -
снегозадерживающее устройство; 17 - гипсокартон; 18 - брусок; 19 - анкер
стропила и мауэрлата; 20 - ветрогидрозащитная пленка; 20а -
ветрозащитный слой (из стеклохолста); 21 - металлический удерживающий
элемент
Рисунок П.1 - Карнизный узел кровли холодного чердака (а) и крыши мансарды (б)
Рисунок П.2 - Коньковый узел кровли с вентиляцией через коньковый элемент и через вытяжную трубу
|
|
|
|
1 - металлочерепица; 2 - обрешетка; 3 - контробрешетка; 4 - гвоздь с
закрывающейся шляпкой; 5 - коньковый элемент; 6 - ветрогидрозащитная
пленка; 7 - теплоизоляция; 8 - пароизоляция; 9 - гипсокартон; 10 -
брусок; 11 - щипцовое окно; 12 - уплотнитель; 13 - вытяжка
Рисунок П.2 - Коньковый узел кровли с вентиляцией через коньковый элемент (а) и через вытяжную трубу (б)
Рисунок П.3 - Водоотводящий желоб

1 - металлочерепица; 2 - контробрешетка; 3 - обрешетка; 4 - лист
водоотводящего желоба; 5 - сплошной настил; 6 - гидроизоляционная
пленка; 7 - пароизоляция; 8 - теплоизоляция 9 - гипсокартон
Рисунок П.3 - Водоотводящий желоб
Рисунок П.4 - Примыкание кровли к кирпичной трубе

1 - металлочерепица; 2 - брусок; 3 - деревянный настил; 4 -
контробрешетка; 5 - обрешетка; 6 - битумный самоклеящийся рулонный
материал; 7 - металлическая деталь; 8 - дюбель; 9 - герметик; 10 -
гипсокартон; 11 - пароизоляция; 12 - минвата (негорючая); 13 -
теплоизоляция; 14 - брусок; 15 - крепление ветрогидрозащитной пленки
двухсторонней липкой лентой; 16 - труба; 18 - ветрогидроизоляционная
пленка; 18а - ветрозащитный слой (из стеклохолста); 19 - гидрозащитная
пленка
Рисунок П.4 - Примыкание кровли к кирпичной трубе
Приложение Р (рекомендуемое). Покрытия (крыши) с кровлей из металлических листов
Приложение Р
(рекомендуемое)
Таблица Р.1 - Конструктивные решения покрытия (крыши)
|
|
Таблица Р.2 - Совместимость металлических материалов для кровли [6]
|
Наименование материала |
Медь |
Нержавеющая сталь |
Оцинкованная сталь |
Цинк-титан |
Алюминий |
|
Медь |
+ |
+ |
- |
- |
- |
|
Нержавеющая сталь |
+ |
+ |
+ |
+ |
+ |
|
Оцинкованная сталь |
- |
+ |
+ |
+ |
+ |
|
Цинк-титан |
- |
+ |
+ |
+ |
+ |
|
Алюминий |
- |
+ |
+ |
+ |
+ |
|
Свинец |
+ |
+ |
+ |
+ |
+ |
Таблица Р.3 - Физико-механические показатели металлических материалов для кровли [6]
|
Наименование материала |
Медь |
Нержавеющая сталь |
Оцинкованная сталь |
Цинк-титан |
Алюминий |
|
1. Плотность, т/м |
8,93 |
7,7-7,9 |
7,8 |
7,2 |
2,7 |
|
2. Коэффициент линейного расширения, мм/(м·°С) |
0,017 |
0,011-0,016 |
0,012 |
0,022 |
0,024 |
|
3. Временное сопротивление растяжению, МПа |
220-260 |
530-700 |
255-490 |
120-140 |
80-120 |
|
4. Относительное удлинение, % |
33 |
45-50 |
21-26 |
30 |
30-40 |
Приложение С (рекомендуемое). Примеры решения деталей кровли из металлических листов
Приложение С
(рекомендуемое)
Рисунок С.1 - Скользящий кляммер кровли из меди и цинк-титана

1 - стенка;
2 - основание кляммера; 3 - отверстие для крепления
Рисунок С.1 - Скользящий кляммер кровли из меди и цинк-титана
Рисунок С.2 - Компенсационный стык

Рисунок С.2 - Компенсационный стык
Рисунок С.3 - Зона расположения неподвижных (жестких) кляммеров на одну картину длиной не более 10 м в зависимости от уклона кровли
|
|
1 - зона картины с подвижными кляммерами; 2 - зона картины с неподвижными (жесткими) кляммерами
Рисунок С.3 - Зона расположения неподвижных (жестких) кляммеров на одну
картину длиной не более 10 м в зависимости от уклона кровли
Рисунок С.4 - Деформационный поперечный шов
|
|
а - на кровлях с уклоном от 5 до 9° (9-16%); б - на кровлях с уклоном от 10 до 24° (18-45%); в
- на кровлях с уклоном от 25° (47%); 1 - стропило; 2 - обрешетка; 3 -
доборный брус; 4 - доска; 5 - объемная диффузионная мембрана; 6 -
костыль; 7 - металлическая полоса; 8 - кровля из металлических листов; 9
- фальшпланка; 10 - припой; 11 - загнутый край нижней картины; 12 -
загнутый край верхней картины
Рисунок С.4 - Деформационный поперечный шов
Рисунок С.5 - Водоотводящий желоб
|
|
а - на кровлях с уклоном от 5 до 9° (9-16%); б - на кровлях с уклоном от 10 до 24° (18-45%); в
- на кровлях с уклоном от 25° (47%); 1 - стропило; 2 - обрешетка; 3 -
доборный брус; 4 - доска; 5 - объемная диффузионная мембрана; 6 -
костыль; 7 - металлическая полоса; 8 - кровля из металлических листов; 9
- фальшпланка; 10 - припой; 11 - загнутый край нижней картины; 12 -
загнутый край верхней картины
Рисунок С.5 - Водоотводящий желоб
Приложение Т (рекомендуемое). Примеры решения деталей кровли из железобетонных лотковых панелей
Приложение Т
(рекомендуемое)
Рисунок Т.1 - Конструктивные схемы кровель из железобетонных лотковых панелей
|
|
а - с внутренним водоотводом; б - с неорганизованным
водоотводом; 1- железобетонная кровельная панель; 2 - железобетонный
П-образный нащельник; 3 - железобетонный водосборный лоток; 4 -
водосточная воронка; 5 - подкладочная балка под лоток; 6 - опорная
балка; 7 - опорный столик; 8 - утепленная панель перекрытия; 9 -
треугольный анкерный элемент; 10 - опорная фризовая панель; 11 -
ограждение крыши; 12 - торцовая фризовая панель
Рисунок Т.1 - Конструктивные схемы кровель из железобетонных лотковых панелей
Рисунок Т.2 - Конструкции стыков кровельных панелей

а - стык с перекрытием П-образным нащельником; б - стык
внахлестку; 1 - кровельная панель; 2 - П-образный нащельник; 3 -
герметик; 4 - основная водосливная поверхность кровельных панелей; 5 -
уплотнитель
Рисунок Т.2 - Конструкции стыков кровельных панелей
Рисунок Т.3 - Конструкции свесов

1 - кровельная панель; 2 - П-образный нащельник; 3 - водосборный лоток; 4
- подкладочная балка под водосборный лоток; 5 - парапетная фризовая
панель; 6 - герметик
Рисунок Т.3 - Конструкции свесов
Библиография
[1] МГСН 4.19-05 "Многофункциональные высотные здания и комплексы"
[2]
Ханс Петер Айзерло. Изоляция плоских кровель. Конструктивные
системы-материалы-технологии-детали. Изд. Дом "Бизнес Медиа". - М.,
2007, с.207-247.
[3] Йожеф Косо. "Крыши и кровельные работы". ЗАО "Издательская группа "Контэнт"". - М., 2007, с.156-271.
[4]
Ханс-Юрген Стерли, Хорст Беттгер, Хейно Вальтер. "Все о кровле из
керамической черепицы". Изд. Дом "Бизнес Медиа". - М., 2007, с.310-366.
[5] Хризотилцементные строительные материалы. Область применения*. Екатеринбург; Изд-во АМБ, 2009 г.
[6]
Клаус Зипенкорт. Работы по устройству металлических кровель и фасадов.
Материалы, обработка, детали. Изд. Дом "Бизнес Медиа". - М., 2007,
с.15-36, 43, 139-157.
[7] RHEJNZINK - Руководство по устройству металлической кровли с применением техники фальца*. - М., 2-е издание, 2008.
[8]
Проектирование крыш многоэтажных жилых зданий. Метод. указ.* /Сост.
Н.В.Кузнецова. - Тамбов: Изд. Тамб. гос. техн. ун-та, 2007, 32 с.
[9] СП 23-101-2004. Проектирование тепловой защиты зданий
[10] Фокин К.Ф. Строительная теплотехника ограждающих частей зданий, ООО ИИП "АВОК-ПРЕСС". - М., 2006, с.122.
[11] Реттер Э.П., Стриженов С.И. Аэродинамика зданий. - М.: Стройиздат, 1968.
[12] Справочник по климату СССР, вып.3. Ветер. - М.: Гидрометеоиздат, 1966.
[13] Идельчик И.Е. Справочник по гидравлическим сопротивлениям. - М.: Госэнергоиздат, 1960.






























