СНиП 2.02.01-83 (1995), часть 6
Примечания: 1. В табл. 1 обозначено: b - ширина или диаметр фундамента, l - длина фундамента.
2.
Для фундаментов, имеющих подошву в форме правильного многоугольника
с площадью А
,
значения
a
принимаются как для круглых фундаментов радиусом
3. Для промежуточных значений x и h коэффициент a определяется по интерполяции.
3. Дополнительные вертикальные напряжения s zp,u на глубине z по вертикали, проходящей через произвольную точку А (в пределах или за пределами рассматриваемого фундамента с дополнительным давлением по подошве, равным р 0 ), определяются алгебраическим суммированием напряжений s zр,ci в угловых точках четырех фиктивных фундаментов (рис.2) по формуле
.
(4
)
4. Дополнительные вертикальные напряжения s zg,nf на глубине z по вертикали, проходящей через центр рассчитываемого фундамента, с учетом влияния соседних фундаментов или нагрузок на прилегающие площади определяются по формуле
,
(5)
где k – число влияющих фундаментов.
5. Вертикальное напряжение от собственного веса грунта s zg на границе слоя, расположенного на глубине z от подошвы фундамента, определяется по формуле
,
(6
)
где g / - удельный вес грунта, расположенного выше подошвы фундамента;
dn - обозначение – см. рис. 1;
g i и hi - соответственно удельный вес и толщина i - го слоя грунта.
Удельный вес грунтов, залегающих ниже уровня подземных вод, но выше водоупора, должен приниматься с учетом взвешивающего действия воды.
При определении s zg в водоупорном слое следует учитывать давление столба воды, расположенного выше рассматриваемой глубины.
6. Нижняя граница сжимаемой толщи основания принимается на глубине z = Hc , где выполняется условие s zр = 0, 2 s zg (здесь s zр – дополнительное вертикальное напряжение на глубине по вертикали, проходящей через центр подошвы фундамента, определяемое в соответствии с указаниями пп. 2 и 4; s zg – вертикальное напряжение от собственного веса грунта, определяемое в соответствии с п. 5).
Если найденная по указанному выше условию нижняя граница сжимаемой толщи находится в слое грунта с модулем деформации Е < 5 МПа (50 кгс/ см2 ) или такой слой залегает непосредственно ниже глубины
z = Hc , нижняя граница сжимаемой толщи определяется исходя из условия s zр = 0, 1 s zg .

рис.2. Схема к определению дополнительных вертикальных напряжений s zр, а в основании рассчитываемого фундамента с учетом влияния соседнего фундамента методом угловых точек
а - схема расположения рассчитываемого 1 и влияющего фундамента 2; б - схема расположения фиктивных фундаментов с указанием знака напряжений s zр,cj в формуле (4) под углом i- го фундамента.
7. Осадка основания с использованием расчетной схемы линейно деформируемого слоя (см. п. 2.40 и рис. 3) определяется по формуле
,
(7)
где р - среднее давление под подошвой фундамента (для фундаментов шириной b < 10 м принимается p = p 0 – см. п. 2);
b - ширина прямоугольного или диаметр круглого фундамента;
kc и km - коэффициенты, принимаемые по табл. 2 и 3;
n - число слоев, различающихся по сжимаемости в пределах расчетной толщи слоя Н , определяемой в соответствии с указаниями п. 8;
ki и ki- 1 - коэффициенты, определяемые по табл. 4 в зависимости от формы фундамента, соотношения сторон прямоугольного фундамента и относительной глубины, на которой расположены подошва и кровля i -го слоя соответственно
Еi - модуль деформации i - го слоя грунта.
Примечание. Формула (7) служит для определения средней осадки основания, загруженного равномерно распределенной по ограниченной площади нагрузкой. Эту формулу допускается применять для определения осадки жестких фундаментов.
Таблица 2
Коэффициент kc
|
Относительная толщина слоя z / = 2H / b |
Коэффициент kc |
|
0 < z / £ 0,5 |
1,5 |
|
0,5 < z / £ 1 |
1,4 |
|
1 < z / £ 2 |
1,3 |
|
2 < z / £ 3 |
1,2 |
|
3 < z / £ 5 |
1,1 |
|
z / > 5 |
1,0 |
Таблица 3
Коэффициент km
|
Среднее значение модуля деформации грунта основания Е , |
Значения коэффициента km при ширине фундамента b , м, равной |
||
|
МПа (кгс/см2 ) |
b < 10 |
10 £ b £ 15 |
b > 15 |
|
E < 10 (100) |
1 |
1 |
1 |
|
E ³ 10 (100) |
1 |
1,35 |
1,5 |
Таблица 4
Коэффициент k
|
|
Коэффициент k для фундаментов |
|||||||
|
x = 2z / b |
Круглых |
Прямоугольных с соотношением сторон h = l / b , равным |
ленто- чных |
|||||
|
|
|
1,0 |
1,4 |
1,8 |
2,4 |
3,2 |
5 |
( h ³ 10) |
|
0 |
0,000 |
0,000 |
0,000 |
0,000 |
0,000 |
0,000 |
0,000 |
0,000 |
|
0,4 |
0,0 90 |
0,10 0 |
0,100 |
0,100 |
0,100 |
0,100 |
0,100 |
0,104 |
|
0,8 |
0,179 |
0,2 00 |
0,200 |
0,200 |
0,200 |
0,200 |
0,200 |
0,208 |
|
1,2 |
0,266 |
0,299 |
0,300 |
0,300 |
0,300 |
0,300 |
0,300 |
0,311 |
|
1,6 |
0,348 |
0,380 |
0,394 |
0,397 |
0,397 |
0,397 |
0,397 |
0,412 |
|
2,0 |
0,411 |
0,446 |
0,472 |
0,482 |
0,486 |
0,486 |
0,486 |
0,511 |
|
2,4 |
0,461 |
0,499 |
0,538 |
0,556 |
0,565 |
0,567 |
0,567 |
0,605 |
|
2,8 |
0,501 |
0,542 |
0,592 |
0,618 |
0,635 |
0,640 |
0,640 |
0,687 |
|
3,2 |
0,532 |
0,577 |
0,637 |
0,671 |
0,696 |
0,707 |
0,709 |
0,763 |
|
3,6 |
0,558 |
0,606 |
0,676 |
0,717 |
0,750 |
0,768 |
0,772 |
0,831 |
|
4,0 |
0,579 |
0,630 |
0,708 |
0,756 |
0,796 |
0,820 |
0,830 |
0,892 |
|
4,4 |
0,596 |
0,650 |
0,735 |
0,789 |
0,837 |
0,867 |
0,883 |
0,949 |
|
4,8 |
0,611 |
0,668 |
0,759 |
0,819 |
0,873 |
0,908 |
0,932 |
1,001 |
|
5,2 |
0,634 |
0,683 |
0,780 |
0,844 |
0,904 |
0,948 |
0,977 |
1,050 |
|
5,6 |
0,635 |
0,697 |
0,798 |
0,867 |
0,933 |
0,1981 |
1,018 |
1,095 |
|
6,0 |
0,645 |
0,708 |
0,814 |
0,887 |
0,958 |
1 ,011 |
1,056 |
1 ,138 |
|
6,4 |
0,653 |
0,719 |
0,828 |
0,904 |
0,980 |
1,041 |
1,090 |
1 ,178 |
|
6,8 |
0,661 |
0,728 |
0,841 |
0,920 |
1 ,000 |
1 ,065 |
1,122 |
1,215 |
|
7,2 |
0,668 |
0,736 |
0,852 |
0,935 |
1 ,019 |
1 ,088 |
1 ,152 |
1 ,251 |
|
7,6 |
0,674 |
0,744 |
0,863 |
0,948 |
1 ,036 |
1 ,109 |
1 ,180 |
1 ,285 |
|
8,0 |
0,679 |
0,751 |
0,872 |
0,960 |
1,051 |
1,128 |
1,205 |
1,316 |
|
8,4 |
0,684 |
0,757 |
0,881 |
0,970 |
1,065 |
1,146 |
1,229 |
1,347 |
|
8,8 |
0,689 |
0,762 |
0,888 |
0,980 |
1,078 |
1,162 |
1,251 |
1,376 |
|
9,2 |
0,693 |
0,768 |
0,896 |
0,989 |
1,089 |
1,178 |
1,272 |
1,404 |
|
9,6 |
0,697 |
0,772 |
0,902 |
0,998 |
1,100 |
1,192 |
1,291 |
1,431 |
|
10,0 |
0,700 |
0,777 |
0,908 |
1,005 |
1,110 |
1,205 |
1,309 |
1,456 |
|
11 ,0 |
0,705 |
0,786 |
0,922 |
1,022 |
1,132 |
1,233 |
1,349 |
1,506 |
|
12,0 |
0,720 |
0,794 |
0,933 |
1,037 |
1,151 |
1,257 |
1,384 |
1,550 |
Примечание. При промежуточных значениях x и h коэффициент k определяется по интерполяции
8. Толщина линейно-деформируемого слоя Н (рис. 3) в случае, оговоренном в п. 2.40а, принимается до кровли грунта с модулем деформации Е ³ 100 МПа (1000 кгс/ см2 ), а при ширине (диаметре) фундамента b ³ 10 м и среднем значении модуля деформации грунтов основания Е ³ 10 МПа (100 кгс/ см2 ), вычисляется по формуле
![]()
,
(8)
где H 0 и j – принимаются соответственно равными для оснований, сложенных: пылевато-глинистыми грунтами 9 м и 0, 15; песчаными грунтами – 6 м и 0, 1;
kp – коэффициент, принимаемый равным: kp = 0, 8 при среднем давлении под подошвой фундамента р = 100 кПа (1 кгс/ см2 ); kp =1, 2 при р =500 кПа (5 кгс/ см2 ), а при промежуточных значениях – по интерполяции.

Рис. 3. схема к расчету осадок с использованием расчетной схемы основания в виде линейно деформируемого слоя.
Если основание сложено пылевато-глинистыми и песчаными грунтами, значение Н определяется по формуле
![]()
,
(9)
Где Нs – толщина слоя, вычисленная по формуле (8) в предположении, что основание сложено только песчаными грунтами;
Hcl – суммарная толщина слоев пылевато-глинистых грунтов в пределах от подошвы фундамента до глубины, равной Hcl – значению H , вычисленному по формуле (8) в предположении, что основание сложено только пылевато-глинистыми грунтами.
Значение Н , вычисленное по формулам (8) и (9), должно быть увеличено на толщину слоя грунта с модулем деформации Е <10 МПа (100 кгс/ см2 ), если этот слой расположен ниже Н и толщина его не превышает 0,2 Н. При большей толщине слоя такого грунта, а также если вышележащие слои имеют модуль деформации Е <10 МПа (100 кгс/ см2 ), расчет деформаций основания выполняется по расчетной схеме линейно деформируемого полупространства.
ОПРЕДЕЛЕНИЕ КРЕНА ФУНДАМЕНТА
9. Крен фундамента i при действии внецентренной нагрузки определяется по формуле
,
(10)
где E и v - соответственно модуль деформации и коэффициент Пуассона грунта основания (значение v принимается по п.10); в случае неоднородного основания значения Е и v принимаются средними в пределах сжимаемой толщи в соответствии с указаниями п.11;
kе - коэффициент, принимаемый по табл. 5;
N - вертикальная составляющая равнодействующей всех нагрузок на фундамент в уровне его подошвы;
Е - эксцентриситет;
а
-
диаметр
круглого или сторона
прямоугольного фундамента,
в направлении
которой действует момент;
для фундамента с
подошвой в форме правильного многоугольника площадью А
принимается
;
km - коэффициент, учитываемый при расчете крена фундаментов по схеме линейно деформируемого слоя (п. 2.40б) при а ³ 10 м и Е ³ 10 МПа (100 кгс/ см2 ) и принимаемый по табл.3.
Таблица 5
Коэффициент ke
|
Форма фунда- мента и нап- равление дейс- |
h =l /b |
Коэффициент ke при z / = 2H / b , равном |
|||||||
|
твия момента |
|
0,5 |
1 |
1,5 |
2 |
3 |
4 |
5 |
¥ |
|
|
1 |
0,28 |
0,41 |
0,46 |
0,48 |
0,50 |
0,50 |
0,50 |
0,50 |
|
Прямоуголь- |
1,2 |
0,29 |
0,44 |
0,51 |
0,54 |
0,57 |
0,57 |
0,57 |
0,57 |
|
ник с момен- |
1,5 |
0,31 |
0,48 |
0,57 |
0,62 |
0,66 |
0,68 |
0,68 |
0,68 |
|
том вдоль |
2 |
0,32 |
0,52 |
0,64 |
0,72 |
0,78 |
0,81 |
0,82 |
0,82 |
|
большей |
3 |
0,33 |
0,55 |
0,73 |
0,83 |
0,95 |
1,01 |
1,04 |
1,17 |
|
стороны |
5 |
0,34 |
0,60 |
0,80 |
0,94 |
1,12 |
1,24 |
1,31 |
1,42 |
|
|
10 |
0,35 |
0,63 |
0,85 |
1,04 |
1,31 |
1,45 |
1,56 |
2,00 |
|
|
1 |
0,28 |
0,41 |
0,46 |
0,48 |
0,50 |
0,50 |
0,50 |
0,50 |
|
Прямоуголь- |
1,2 |
0,24 |
0,35 |
0,39 |
0,41 |
0,42 |
0,43 |
0,43 |
0,43 |
|
ник с момен- |
1,5 |
0,19 |
0,28 |
0,32 |
0,34 |
0,35 |
0,36 |
0,36 |
0,36 |
|
том вдоль |
2 |
0,15 |
0,22 |
0,25 |
0,27 |
0,28 |
0,28 |
0,28 |
0,28 |
|
меньшей |
3 |
0,10 |
0,15 |
0,17 |
0,18 |
0,19 |
0,20 |
0,20 |
0,20 |
|
стороны |
5 |
0,06 |
0,09 |
0,10 |
0,11 |
0,12 |
0,12 |
0,12 |
0,12 |
|
|
10 |
0,03 |
0,05 |
0,05 |
0,06 |
0,06 |
0,06 |
0,06 |
0,07 |
|
Круглый
|
- |
0,43 |
0,63 |
0,71 |
0,74 |
0,75 |
0,75 |
0,75 |
0,75 |
Примечание. При использовании расчетной схемы основания в виде линейно деформируемого полупространства коэффициент ke принимается по графе, соответствующей z / = ¥ .
10. Коэффициент Пуассона v принимается равным для грунтов: крупнообломочных – 0, 27; песков и супесей – 0, 30; суглинков – 0, 35; глин – 0,42 .
11. Средние (в пределах
сжимаемой толщи Нс
или толщины слоев Н
)
значения модуля деформации и коэффициента Пуассона грунтов основания
(
и
)
определяются по формулам:
;
(11)
;
(12)
где Аi - площадь эпюры вертикальных напряжений от единичного давления под подошвой фундамента в пределах i - го слоя грунта; для схемы полупространства допускается принимать Аi = s zp,i hi (c м. п.1), для схемы слоя – Ai = ki - ki- 1 (c м. п.7);
Ei ,vi ,hi , - соответственно модуль деформации, коэффициент Пуассона и толщина i - го слоя грунта;
Н - расчетная толщина слоя, определяемая по п. 8;
n - число слоев, отличающихся значениями E и v в пределах сжимаемой толщи Hс или толщины слоя H.
ОПРЕДЕЛЕНИЕ ПРОСАДОК ГРУНТОВ ОСНОВАНИЯ
12. Просадка грунтов ssl основания при увеличении их влажности вследствие замачивания сверху больших площадей (см. пп. 3.2 и 3.5), а также замачивания снизу при подъеме уровня подземных вод определяется по формуле
(13)
где e sl,i – относительная просадочность i -го слоя грунта, определяемая в соответствии с указаниями п.13;
hi – толщина i -го слоя;
ksl,i – коэффициент, определяемый в соответствии с указаниями п. 14;
n – число слоев, на которое разбита зона просадки hsl , принимаемая в соответствии с указаниями п. 16.
13. Относительная просадочность грунта e sl определяется на основе испытаний образцов грунта на сжатие без возможности бокового расширения по формуле
,
(14)
где hn,p и hsat,p- - высота образца соответственно природной влажности и после его полного водонасыщения (w = wsat ) при давлении p , равном вертикальному напряжению на рассматриваемой глубине от внешней нагрузки и собственного веса грунта p = s zp + s zg – при определении просадки грунта в верхней зоне просадки; при определении просадки грунта в нижней зоне просадки также учитывается дополнительная нагрузка от сил негативного трения (см. пп. 3.4 и 3.8);
hn,g - высота того же образца природной влажности при p = s zg .
Относительная просадочность грунта при его неполном водонасыщении (wsl = w < wsat ) - e / sl определяется по формуле
,
(15)
где w – влажность грунта;
wsat – влажность, соответствующая полному водонасыщению грунта;
wsl – начальная просадочная влажность (п. 3.3);
e sl – относительная просадочность грунта при его полном водоносыщении, определяемая по формуле (14).
14*. Коэффициент ksl,i , входящий в формулу (13):
при b = 12 м – принимается равным 1 для всех слоев грунта в пределах зоны просадки;
при b = 3 м – вычисляется по формуле
,
(16)
где р – среднее давление под подошвой фундамента, кПа (кгс/ см2 );
psl,i – начальное просадочное давление грунта i -го слоя, кПа (кгс/ см2 ), определяемое в соответствии с указаниями п. 15;
р 0 – давление, равное 100 кПа (1 кгс/ см2 );
при 3 м < b < 12 м – определяется по интерполяции между значениями ksl,i , полученными при b = 3 м и b = 12 м.
При определении просадки грунта от собственного веса следует принимать ksl = 1 при Hsl £ 15 м и ksl = 1, 25 при Hsl ³ 20 м, при промежуточных значениях Нsl коэффициент ksl определяется по интерполяции.
15. За начальное просадочное давление psl принимается давление соответствующее:
при лабораторных испытаний грунтов в компрессионных приборах – давлению, при котором относительная просадочность e sl равна 0, 01;
при полевых испытаниях штампами предварительно замоченных грунтов – давлению, равному пределу пропорциональности на графике « нагрузка-осадка»;
при замачивании грунтов в опытных котлованах – вертикальному напряжению от собственного веса грунта на глубине, начиная с которой происходит просадка грунта от собственного веса.

Рис. 4. Схемы к расчету просадок основания
A a – просадка от собственного веса отсутствует (не превышает 5 см), возможна только просадка от внешней нагрузки ssl,р в верхней зоне просадки hsl,р (I тип грунтовых условий); б, в, г, - возможна просадка от собственного веса ssl,g в нижней зоне просадки hsl,g , начиная с глубины zg (II тип грунтовых условий); б – верхняя и нижняя зоны просадки не сливаются, имеется нейтральная зона hn ; в – верхняя и нижняя зоны просадки сливаются; г – просадка от внешней нагрузки отсутствует ; 1 - вертикальные напряжения от собственного веса грунта s zg ; 2 – суммарные вертикальные напряжения от внешней нагрузки и собственного веса грунта s z = s zp + s zg ; 3 – изменение с глубиной начального просадочного давления psl ; Нsl – толщина слоя просадочных грунтов (просадочная толща); d – глубина заложения фундамента.
16. Толщина зоны просадки hsl принимается равной (рис.4)
hsl = hsl, р – толщине верхней зоны просадки при определении просадки грунта от внешней нагрузки ssl,p ( п. 3.4), при этом нижняя граница указанной зоны соответствует глубине, где s z = s zp + s zg = psl ( рис. 4а, б ) или глубине, где значение уz минимально, если s z,min > psl ( рис. 4, в );
hsl = hsl,g – толщине нижней зоны просадки при определении просадки грунта от собственного веса ssl ,g ( пп. 3.4, 3.5), т.е. начиная с глубины zg , где s z = рsl или значение s z минимально, если s z,min > psl , и до нижней границы просадочной толщи.
17. Возможная просадка грунта от собственного веса s/ st,g при замачивании сверху малых площадей (ширина замачиваемой площади Bw меньше размера просадочной толщи Нsl ) определяется по формуле
,
(17)
где ssl,g - максимальное значение просадки грунта от собственного веса, определяемое в соответствии с п. 12.
ОПРЕДЕЛЕНИЕ ДЕФОРМАЦИЙ ОСНОВАНИЙ,
СЛОЖЕННЫХ НАБУХАЮЩИМИ ГРУНТАМИ
18. Подъем основания при набухании грунта hsw определяется по формуле
,
(18)
где e sw,i - относительное набухание грунта i -го слоя, определяемое в соответствии с указаниями п. 19;
hi - толщина i- го слоя грунта;
ksw,i - коэффициент, определяемый в соответствии с указаниями п. 20;
n - число слоев, на которое разбита зона набухания грунта.
19. Относительное набухание грунта e sw определяется по формулам:
при инфильтрации влаги
,
(19)
где hn – высота образца природной влажности и плотности, обжатого без возможности бокового расширения давлением р , равным суммарному вертикальному напряжению уz,tot на рассматриваемой глубине (значение уz,tot определяется в соответствии с указаниями п. 21);
hsat – высота того же образца после замачивания до полного водонасыщения, обжатого в тех же условиях;
при экранировании поверхности и изменении водно-теплового режима
,
(20)
где k - коэффициент, определяемый опытным путем (при отсутствии опытных данных принимается k = 2);
weq - конечная (установившаяся) влажность грунта;
w 0 и e 0 - соответственно начальные значения влажности и коэффициента пористости грунта.
20. Коэффициент ksw , входящий в формулу (18), в зависимости от суммарного вертикального напряжения s z,tot на рассматриваемой глубине, принимается равным 0, 8 при s z,tot = 50 кПа (0, 5 кгс/ см2 ) и 0, 6 при s z,tot = 300 кПа (3 кгс/ см2 ), а при промежуточных значениях s z,tot - по интерполяции.
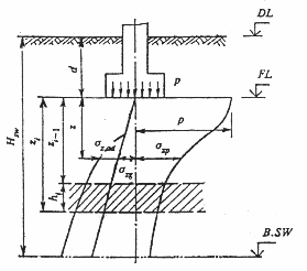
21. Суммарное вертикальное напряжение s z,tot на глубине z от подошвы фундамента (рис. 5) определяется по формуле
![]()
,
(21)
где s zр, s zg - вертикальные напряжения соответственно от нагрузки фундамента и от собственного веса грунта;
уz,ad - дополнительное вертикальное давление, вызванное влиянием веса неувлажненной части массива грунта за пределами площади замачивания, определяемой по формуле
,
(22)
где kg - коэффициент, принимаемый по табл. 6.
Таблица 6
Коэффициент kg
|
(d + z ) / Bw |
Коэффициент kg при отношении длины к ширине замачиваемой площади Lw / Bw , равном |
||||
|
|
1 |
2 |
3 |
4 |
5 |
|
0,5 |
0 |
0 |
0 |
0 |
0 |
|
1 |
0,58 |
0,50 |
0,43 |
0,36 |
0,29 |
|
2 |
0,81 |
0,70 |
0,61 |
0,50 |
0,40 |
|
3 |
0,94 |
0,82 |
0,71 |
0,59 |
0,47 |
|
4 |
1,02 |
0,89 |
0,77 |
0,64 |
0,53 |
|
5 |
1,07 |
0,94 |
0,82 |
0,69 |
0,77 |
22. Нижняя граница зоны набухания Hsw ( рис. 5):
а) при инфильтрации влаги принимается на глубине, где суммарное вертикальное напряжение s z,tot (п. 21) равно давлению набухания psw ;
б) при экранировании поверхности и изменении водно-теплового режима – определяется опытным путем (при отсутствии опытных данных принимается Hsw = 5 м).

Рис. 5. Схема к расчету подъема основания при набухании грунта
23.Осадка основания в результате высыхания набухшего грунта ssh определяется по формуле
,
(23)
где e sh,i – относительная линейная усадка грунта i -го слоя, определяемая в соответствии с указаниями п. 24;
hi – толщина i - го слоя грунта;
ksh – коэффициент, принимаемый равным 1, 3;
n – число слоев, на которое разбита зона усадки грунта, принимаемая в соответствии с указаниями п. 25.
24. Относительная линейная усадка грунта при его высыхании определяется по формуле
,
(24)
где hn - высота образца грунта возможной наибольшей влажности при обжатии его суммарным вертикальным напряжением без возможности бокового расширения;
hd - высота образца в тех же условиях после уменьшения влажности в результате высыхания.
25. Нижняя граница зоны усадки Hsh определяется экспериментальным путем, а при отсутствии опытных данных принимается равной 5 м.
При высыхании грунта в результате теплового воздействия технологических установок нижняя граница зоны усадки Hsh определяется опытным путем или соответствующим расчетом.
ОПРЕДЕЛЕНИЕ СУФФОЗИОННОЙ ОСАДКИ
26. Суффозионная осадка ssf основания, сложенного засоленными грунтами, определяется по формуле
,
(25)
где e sf,i - относительное суффозионное сжатие грунта i -го слоя при давлении р, равном суммарному вертикальному напряжению на рассматриваемой глубине от внешней нагрузки s zp и собственного веса грунта s zg , определяемое по указаниям п. 27;
hi - толщина i- го слоя засоленного грунта;
n - число слоев, на которое разбита зона суффозионной осадки засоленных грунтов.
27. Относительное суффозионное сжатие e sf определяется:
а) при полевых испытаниях статической нагрузкой с длительным замачиванием по формуле
,
(26)
где ssf,p – суффозионная осадка штампа при давлении;
p = s zp + s zg ;
dp – зона суффозионной осадки основания под штампом;
б) при компрессионно-фильтрационных испытаниях по формуле
,
(27)
где hsat,p - высота образца после замачивания (полного водонасыщения) при давлении p = s zp + s zg ;
hsf,p - высота того же образца грунта после длительной фильтрации воды и выщелачивания солей при давлении p.
hng - высота того же образца природной влажности при давлении pi =уzg .
ПРИЛОЖЕНИЕ 3
Рекомендуемое
РАСЧЕТНЫЕ СОПРОТИВЛЕНИЯ ГРУНТОВ ОСНОВАНИЙ
1. Расчетные сопротивления грунтов основания R 0 , приведенные в табл. 1-5, предназначены для предварительного определения размеров фундаментов. Область применения значений R 0 и R / 0 для окончательного определения размеров фундаментов указана в п. 2.42 для табл. 4, в п. 8.4 для табл. 5 и в п. 11.5 для табл. 6.
2. Для грунтов с промежуточными значениями e и IL (табл. 1-3), pd и Sr (табл. 4), Sr (табл. 5), а также для фундаментов с промежуточными значениями g (табл. 6) значения R 0 и R/ 0 определяются по интерполяции.
3. Значения R 0 ( табл. 1-5) относятся к фундаментам, имеющим ширину b 0 = 1 м и глубину заложения d 0 = 2 м.
При использовании значений R 0 для окончательного назначения размеров фундаментов ( пп. 2.42, 3.10 и 8.4) расчетное сопротивление грунта основания R , кПа (кгс/ см2 ), определяется по формулам:
при d £ 2 м (200 см)
R = R 0 [1 + k 1 (b – b 0 )/b 0 ] x (d + d 0 )/2d 0 ; (1)
при d > 2 м (200 см)
R = R 0 [1 + k 1 (b – b 0 )/b 0 ] + k 2 g / II (d - d 0 ), (2)
Где b и d – соответственно ширина и глубина заложения проектируемого фундамента, м (см);
g / II – расчетное значение удельного веса грунта, расположенного выше подошвы фундамента, кН/ м3 (кгс/ см3 );
k 1 – коэффициент, принимаемый для оснований, сложенных крупнообломочными и песчаными грунтами, кроме пылеватых песков, k 1 = 0, 125, пылеватыми песками, супесями, суглинками и глинами k 1 = 0, 05;
k 2 – коэффициент, принимаемый для оснований, сложенных крупнообломочными и песчаными грунтами, k 2 = 0, 25, супесями и суглинками k 2 = 0, 2 и глинами k 2 = 0, 15.
Примечание. Для сооружений с подвалом шириной В = 20 м и глубиной db ³ 2 м учитываемая в расчете глубина заложения наружных и внутренних фундаментов принимается равной: d = d 1 + 2 м [ здесь d 1 – приведенная глубина заложения фундамента, определяемая по формуле (8) настоящих норм] . При В > 20 м принимается d = d 1 .
Таблица 1
Расчетные сопротивления R 0 крупнообломочных грунтов
|
Крупнообломочные грунты |
Значение R O , кПа (кгс/см2 ) |
|
Галечниковые (щебенистые) с заполнителем: |
|
|
Песчаным |
600 (6) |
|
пылевато-глинистым при показателе текучести: |
|
|
IL £ 0,5 |
450 (4,5) |
|
0,5 < IL £ 0,75 |
400 (4) |
|
Гравийные (дресвяные) с заполнителем: |
|
|
песчаным |
500 (5) |
|
пылевато-глинистым при показателе текучести: |
|
|
IL £ 0,5 |
400 (4) |
|
0,5 < IL £ 0,75 |
350 (3,5) |
Таблица 2
Расчетные сопротивления R 0 песчаных грунтов
|
Пески |
Значения R O , кПа (кгс/см2 ), в зависимости от плотности сложения песков |
|
|
|
плотные |
средней плотности |
|
Крупные |
600 (6) |
500 (5) |
|
Средней крупности |
500 (5) |
400 (4) |
|
Мелкие: |
|
|
|
Маловлажные |
400 (4) |
300 (3) |
|
влажные и насыщенные водой |
300 (3) |
200 (2,0) |
|
Пылеватые: |
|
|
|
Маловлажные |
300 (3) |
250 (2,5) |
|
Влажные |
200 (2) |
150 (1,5) |
|
насыщенные водой |
150 (1,5) |
100 (1) |



