СНиП 2.03.03-85
ГОСУДАРСТВЕННЫЙ КОМИТЕТ СССР ПО ДЕЛАМ СТРОИТЕЛЬСТВА
СТРОИТЕЛЬНЫЕ НОРМЫ И ПРАВИЛА
АРМОЦЕМЕНТНЫЕ КОНСТРУКЦИИ
СНиП 2.03.03-85
РАЗРАБОТАНЫ НИИЖБ Госстроя СССР (д-р техн. наук, проф. Г.К. Хайдуков руководитель темы; кандидаты техн. наук Е.К. Качановский, В.В. Фигаровский, М.Д. Роженко), НИИСК Госстроя СССР (канд. техн. наук В.Д. Галич), ЛенЗНИИЭП Госгражданстроя (канд. техн. наук Б.А. Миронков).
ВНЕСЕНЫ НИИЖБ Госстроя СССР.
ПОДГОТОВЛЕНЫ К УТВЕРЖДЕНИЮ Главтехнормированием Госстроя СССР (В.М. Скубка).
С введением в действие СНиП 2.03.03-85 "Армоцементные конструкции" с 1 июля 1986 г. утрачивает силу Инструкция по проектированию армоцементных конструкций (СН 366-77).
При пользовании нормативным документом следует учитывать утвержденные изменения строительных норм и правил и государственных стандартов, публикуемые в журнале "Бюллетень строительной техники" Госстроя СССР и информационном указателе "Государственные стандарты СССР" Госстандарта.
Настоящие нормы распространяются на проектирование армоцементных конструкций — тонкостенных железобетонных конструкций (толщиной до 30 мм включительно), изготовляемых из мелкозернистого бетона, в качестве арматуры которых следует применять:
частые тонкие тканые, сварные или плетеные проволочные сетки, равномерно распределенные по сечению элемента (сетчатое армирование); частые тонкие тканые, сварные или плетеные проволочные сетки, равномерно распределенные по сечению элемента, в сочетании со стержневой или проволочной арматурой (комбинированное армирование).
Нормы устанавливают требования по проектированию армоцементных конструкций, предназначенных для работы при систематическом воздействии температуры не выше 50°С не ниже минус 70°С.
При проектировании армоцементных конструкций, предназначенных для работы в условиях с систематическим воздействием температуры выше 50°С, в среде с агрессивной степенью воздействия на железобетонные конструкции, необходимо учитывать дополнительные требования, предъявляемые к таким конструкциям соответствующими нормативными документами.
По показателям прочности бетона приняты классы бетона в соответствии с СТ СЭВ 1406-78.
Основные буквенные обозначения, принятые в настоящих нормах согласно СТ СЭВ 1565-79, приведены в справочном приложении 1.
|
Внесены НИИЖБ Госстроя СССР |
Утверждены постановлением Государственного комитета СССР по делам строительства от 28 июня 1985 г. № 101 |
Срок введения в действие 1 июля 1986 г. |
1. ОБЩИЕ УКАЗАНИЯ
ОСНОВНЫЕ ПОЛОЖЕНИЯ
1.1. Армоцементные конструкции в зависимости от их армирования подразделяют на конструкции:
с сетчатым армированием — при их армировании частыми тонкими ткаными, сварными или плетеными проволочными сетками, равномерно распределенными по сечению элемента (черт. 1, а);
с комбинированным армированием при их армировании указанными сетками, равномерно распределенными по сечению элемента, в сочетании со стержневой или проволочной арматурой (черт. 1, б).

Черт. 1. Армирование армоцементных конструкций
а — сетчатое; б — комбинированное; 1 — частые тонкие тканые сетки; 2 — частые тонкие сварные сетки; 3 — стержневая или проволочная арматура
1.2. Армоцементные конструкции согласно СТ СЭВ 1406-78 должны быть обеспечены с требуемой надежностью от возникновения всех видов предельных состояний с помощью расчета, выбором материалов, установлением размеров элементов и их конструированием.
1.3. Армоцементные конструкции должны применяться, как правило, в неагрессивной среде.
Допускается применение армоцементных конструкций в среде со слабой степенью агрессивного воздействия на железобетонные конструкции при выполнении требований, установленных СНиП II -28-73 для таких конструкций.
1.4. Выбор конструктивных решений армоцементных конструкций должен производиться исходя из технико-экономической целесообразности применения таких конструкций в конкретных условиях строительства с учетом максимального снижения их материалоемкости, трудо- и энергоемкости и стоимости.
Армоцементные конструкции рекомендуется применять в элементах зданий и сооружений, для которых существенное значение имеют снижение собственного веса, уменьшение раскрытия трещин и обеспечение водонепроницаемости бетона.
1.5. При выборе конструктивных решений должны учитываться методы изготовления, монтажа и условия эксплуатации конструкций.
Форма и размеры элементов должны приниматься исходя из наиболее полного учета свойств армоцементных конструкций, возможности заводского механизированного изготовления, удобства транспортирования и монтажа конструкций.
1.6. Армоцементные конструкции допускается применять в качестве опалубки для монолитных железобетонных конструкций.
Для обеспечения совместной работы армоцементной опалубки и монолитного бетона на поверхности армоцементной опалубки должны быть выполнены пазы шириной до 10 мм, глубиной до 5 мм с шагом до 100 мм, а поверхность армоцементной опалубки должна быть обработана стальной щеткой и обдута сжатым воздухом. Для связи арматуры несъемной армоцементной опалубки с основной арматурой конструкции необходимо предусматривать в опалубке выпуски сеток и стержней.
1.7. Армоцементные конструкции и отдельные их элементы должны обладать необходимой прочностью, жесткостью, трещиностойкостью, устойчивостью и пространственной неизменяемостью на стадиях изготовления, транспортирования, монтажа и эксплуатации.
1.8. При проектировании сборных армоцементных конструкций особое внимание необходимо обращать на прочность, долговечность и технологичность соединений и узлов. Соединения и узлы сборных ограждающих конструкций должны удовлетворять также специальным требованиям к этим ограждениям (обеспечивать передачу усилий элементам несущих конструкций, выполнение теплотехнических требований, заданной деформативности и др.).
1.9. Для предотвращения появления трещин, местных выколов и других дефектов армоцементных конструкций при их подъеме в процессе изготовления, складирования, транспортирования и монтажа следует применять специальные приспособления. Как правило, должен применяться беспетлевой подъем армоцементных конструкций.
ОСНОВНЫЕ РАСЧЕТНЫЕ ТРЕБОВАНИЯ
1.10. Армоцементные конструкции должны удовлетворять требованиям расчета по несущей способности (предельные состояния первой группы) и по пригодности к нормальной эксплуатации (предельные состояния второй группы) согласно положениям СНиП 2.03.01-84 и настоящих норм, учитывающих особенности армоцементных конструкций:
а) дисперсность армирования;
6) тонкостенность конструкций;
в) уменьшенный защитный слой бетона.
1.11. Расчет армоцементных конструкций должен производиться на все возможные неблагоприятные сочетания нагрузок от собственного веса и внешней нагрузки с учетом продолжительности их воздействия для всех стадий работы конструкций: изготовления, транспортирования, возведения и эксплуатации.
1.12. Значения нагрузок и воздействий, коэффициентов перегрузок, коэффициентов сочетаний, а также разделение нагрузок на постоянные и временные (длительные, кратковременные, особые) должны приниматься в соответствии с требованиями СНиП II -6-74 и с учетом дополнительных указаний СНиП 2.03.01-84.
Нагрузки, учитываемые при расчете армоцементных конструкций по образованию и раскрытию трещин, следует принимать согласно указаниям п. 1.13, а учитываемые при расчете по деформациям - согласно СНиП 2.03.01-84.
1.13. В зависимости от условий, в которых работает конструкция, и от вида применяемой арматуры к трещиностойкости армоцементных конструкций предъявляются требования соответствующих категорий:
а) 1-я категория — не допускается образование трещин;
б) 2-я категория — допускается ограниченное по ширине непродолжительное и продолжительное раскрытие трещин.
Категории требований к трещиностойкости армоцементных конструкций в зависимости от условий их работы и вида арматуры, а также значения предельно допустимой ширины раскрытия трещин приведены в табл. 1.
Нагрузки, учитываемые при расчете армоцементных конструкций по образованию и раскрытию трещин, должны приниматься согласно табл. 2
Категории требований к трещиностойкости армоцементных конструкций относятся к нормальным и наклонным к продольной оси элемента трещинам.
Во избежание раскрытия продольных трещин должны приниматься конструктивные меры (установка соответствующей сетчатой арматуры), а для предварительно напряженных элементов, кроме того, значения сжимающих напряжений в бетоне в стадии предварительного обжатия должны быть ограничены (см. п. 1.23).
Примечание. Под непродолжительным раскрытием трещин понимается их раскрытие при совместном действии постоянных, длительных и кратковременных нагрузок, а под продолжительным раскрытием — только постоянных и длительных нагрузок.
1.14. Усилия в статически неопределимых армоцементных конструкциях от нагрузок и вынужденных перемещений (вследствие изменения температуры, влажности бетона, смещения опор и т.п.) при расчете по предельным состояниям первой и второй групп следует, как правило, определять с учетом неупругих деформаций бетона и арматуры и наличия трещин, а также с учетом в необходимых случаях деформированного состояния как отдельных элементов, так и конструкций.
Для конструкций, методика расчета которых с учетом неупругих свойств армоцемента не разработана, а также на промежуточных стадиях расчета (итерационные методы, метод поправочных коэффициентов и т.п.) усилия в статически неопределимых конструкциях допускается определять в предположении их линейной упругости.
1.15. Статический расчет армоцементных конструкций в виде оболочек и складок следует выполнять как тонкостенных пространственных конструкций.
1.16. При расчете по прочности армоцементных конструкций на воздействие сжимающей продольной силы N необходимо учитывать случайный эксцентриситет еа согласно требованиям СНиП 2.03.01-84.
1.17. Определение прогибов армоцементных конструкций следует производить согласно требованиям пп. 4.8 - 4.16 и СНиП 2.03.01-84.
Значения предельно допустимых прогибов следует принимать согласно СНиП 2.03.01-84.
Таблица 1
|
|
Категории требований к трещиностойкости армоцементных конструкций и предельно допустимая ширина acrc1 и acrc2 , мм, раскрытия трещин при армировании |
||||
|
|
комбинированном |
|
комбинированном |
||
|
Условия работы элементов конструкций |
сетками и стержневой арматурой классов А-1, А-II А-III и проволочной арматурой класса Вр-1 |
оцинкованными сетками и оцинкованной проволочной арматурой классов В-II, Bp-II, К-7 |
сетчатом |
сетками и стержневой арматурой класса A-IV , A-V, с проволочной арматурой классов В-II и Вр-II, К-7 при диаметре проволоки 4 мм м более |
сетками и стержневой арматурой класса Ат-vi, с проволочной арматурой классов В-II , Bp-II и К-7 при диаметре проволоки менее 4 мм |
|
Элементы 1.С полностью растянутым или частично сжатым сечением, воспринимающие давление жидкостей или газов |
2-я категория acrc1 = 0,05 acrc2 = 0,03 |
2-я категория* acrc1 = 0,05 acrc2 = 0,03 |
1-я категория** |
1-я категория |
1-я категория |
|
2. Эксплуатируемые в отапливаемых зданиях с относительной влажностью внутреннего воздуха помещений выше 75%, а также на открытом воздухе и в неотапливаемых зданиях в условиях увлажнения атмосферными осадками |
2-я категория acrc1 = 0,1 acrc2 = 0,25 |
2-я категория acrc1 = 0,12 acrc2 = 0,06 |
1-я категория** |
1-я категория |
1-я категория |
|
3. Эксплуатируемые в отапливаемых зданиях с относительной влажностью внутреннего воздуха помещений от 60 до 75% |
2-я категория acrc1 = 0,15 acrc2 = 0,1 |
2-я категория acrc1 = 0,15 acrc2 = 0,1 |
2-я категория acrc1 = 0,07 acrc2 =0,05 |
2-я категория acrc1 = 0,07 acrc2 = 0,05 |
1-я категория |
|
4. Эксплуатируемые в отапливаемых зданиях с относительной влажностью внутреннего воздуха помещений до 60 % и при отсутствии возможности систематического увлажнения конструкции конденсатом |
2-я категория acrc1 = 0,2 acrc2 = 0,15 |
2-я категория acrc1 = 0,22 acrc2 = 0,15 |
2-я категория acrc1 = 0,15 acrc2 =0,1 |
2-я категория acrc1 = 0,15 acrc2 = 0,1 |
2-я категория acrc1 = 0,05 acrc2 = 0,03 |
|
* Категория требований к трещиностойкости принята при защитном покрытии сеток оцинковкой в 30 мкм в соответствии с ГОСТ 9.073-77. ** Применение сетчатого армирования допускается при специальном обосновании. |
|||||
Таблица 2
|
Категория требований к трещиностойкости |
Нагрузки и коэффициент надежности по нагрузке g¦ , принимаемые при расчете |
||
|
армоцементных |
|
по раскрытию трещин |
|
|
конструкций |
по образованию трещин |
непродолжительному |
продолжительному |
|
1-я |
Постоянные, длительные и кратковременные нагрузки при g¦ > 1* |
- |
- |
|
2-я |
Постоянные, длительные и кратковременные нагрузки при g¦ = 1 (расчет производится для выяснения необходимости проверки по раскрытию трещин) |
Постоянные, длительные и кратковременные нагрузки при g¦ = 1 |
Постоянные и длительные нагрузки при g¦ = 1 |
|
* Коэффициент надежности по нагрузке g¦ принимается как при расчете по прочности. Примечания: 1. Длительные и кратковременные нагрузки принимаются с учетом указаний, изложенных в СНиП 2.03.01-84. 2. Особые нагрузки учитываются при расчете по образованию трещин в тех случаях, когда наличие трещин может привести к катастрофическому положению (взрыв, пожар и т.п.) |
|||
1.18. Среднюю плотность мелкозернистого бетона, учитываемую при расчете армоцементных конструкций, следует принимать равной 2300 кг/м3 . Средняя плотность армоцемента при двух сетках принимается равной 2400 кг/м3 ; при наличии большего числа сеток среднюю плотность армоцемента следует увеличивать на 50 кг/м3 на каждую дополнительную сетку; при наличии данных о средней плотности армоцемента допускается принимать другие значения, обоснованные в установленном порядке.
1.19. Расстояния между температурно-усадочными швами «армоцементных конструкций покрытий следует устанавливать согласно требованиям СНиП 2.03.01-84.
ДОПОЛНИТЕЛЬНЫЕ УКАЗАНИЯ ПО ПРОЕКТИРОВАНИЮ ПРЕДВАРИТЕЛЬНО НАПРЯЖЕННЫХ КОНСТРУКЦИЙ
1.20. Предварительно напряженные армоцементные конструкции следует проектировать в соответствии с требованиями СНиП 2.03.01-84 и с учетом дополнительных указаний пп. 1.21—1.25. Сетки в сечении преднапряженных армоцементных конструкций должны учитываться в схеме усилий так же, как ненапрягаемая арматура.
1.21. В случае, если сжатая при эксплуатационных нагрузках зона предварительно напряженных элементов не обеспечена расчетом от образования трещин, нормальных к продольной оси, в стадиях изготовления, транспортирования и возведения следует учитывать снижение трещиностойкости растянутой при эксплуатации зоны элементов, а также увеличение их кривизны.
В элементах, рассчитываемых на воздействие многократно повторяющейся нагрузки, образование таких трещин не допускается.
1.22. Потери предварительного напряжения арматуры для армоцементных конструкций должны определяться согласно требованиям СНиП 2.03.01 - 84 как для мелкозернистого бетона.
1.23. Сжимающие напряжения в бетоне в стадии предварительного обжатия s bp не должны превышать величин (в долях от передаточной прочности бетона Rbp ) , указанных в СНиП 2.03.01-84.
Значения s bp определяются на уровне крайнего сжатого волокна бетона с учетом потерь предварительного напряжения арматуры по СНиП 2.03.01-84 и при коэффициенте точности натяжения арматуры g sp , равном единице.
1.24. в предварительно обжатой зоне сечения армоцементных элементов площадь сечения сетчатой или комбинированной ненапрягаемой арматуры должна быть минимальной. Сетки должны располагаться симметрично относительно напрягаемой арматуры.
1.25. На концевых участках предварительно напряженных элементов армоцементных конструкций с арматурой без анкеров, к которым предъявляются требования 2-й категории трещиностойкости, в пределах длины зоны передачи напряжений не допускается образование трещин при действии постоянной, длительной и кратковременной нагрузок, вводимых в расчет с коэффициентом надежности по нагрузке g f , принимаемым по табл. 2.
2. МАТЕРИАЛЫ ДЛЯ АРМОЦЕМЕНТНЫХ КОНСТРУКЦИЙ
МЕЛКОЗЕРНИСТЫЙ БЕТОН
2.1. Для армоцементных конструкций, проектируемых в соответствии с требованиями настоящих норм, следует предусматривать конструкционный мелкозернистый бетон средней плотности не менее 2200 кг/м3 с крупностью зерен до 5 мм в соответствии с ГОСТ 25192-82.
Бетон должен иметь водопоглощение не более 8%.
2.2. Мелкозернистый бетон для армоцементных конструкций в зависимости от вида и условий их работы следует предусматривать следующих классов и марок:
а) классов по прочности на сжатие:
бетон группы А (естественного твердения или подвергнутый тепловой обработке при атмосферном давлении, на песке с модулем крупности свыше 2,0) - В20, В25, В30, В35 и В40;
бетон группы Б (естественного твердения или подвергнутый тепловой обработке при атмосферном давлении, на песке с модулем крупности 2,0 и менее) - В20, В2 5 и В30;
бетон группы В (подвергнутый автоклавной обработке) - В20, В25, В30, В35, В40, В45, В50, В55, В60.
Допускается применение бетона промежуточных классов В22,5 и В27,5 при условии, что это приводит к экономии цемента по сравнению с применением бетона соответственно классов В25 и В30 и не снижает других технико-экономических показателей конструкции;
б) классов по прочности на осевое растяжение - Вt 1,6; Вt 2; Вt 2,4; Вt 2,8; Вt 3,2;
в) марок по морозостойкости — F 100, F150, F200, F300, F400 и F500;
г) марок по водонепроницаемости — W6, W8, W10 и W12.
2.3. Возраст бетона, отвечающий его классу по прочности на сжатие и осевое растяжение, назначается при проектировании исходя из возможных реальных сроков фактического загружения конструкций проектными нагрузками, способа воздействия, условий твердения бетона. При отсутствии этих данных класс бетона устанавливается в возрасте 28 сут.
Значение отпускной прочности бетона в элементах сборных конструкций следует назначать в соответствии с указаниями ГОСТ 13015.0-83 и стандартов на конструкции конкретных видов.
2.4. Для предварительно напряженных армоцементных конструкций класс бетона по прочности на сжатие, в котором расположена напрягаемая арматура, должен приниматься в зависимости от вида и класса напрягаемой арматуры, ее диаметра и наличия анкерных устройств не ниже указанного в СНиП 2.03.01-84.
Передаточная прочность бетона назначается в соответствии с требованиями СНиП 2.03.01-84.
2.5. Класс мелкозернистого бетона, применяемого для защиты от коррозии и обеспечения сцепления напрягаемой арматуры, должен быть не менее В20.
2.6. Для замоноличивания стыков армоцементных конструкций класс бетона следует принимать в зависимости от условий работы соединяемых элементов, но не менее, чем класс бетона соединяемых элементов.
2.7. Минимальные марки мелкозернистого бетона по морозостойкости и водонепроницаемости для армоцементных конструкций, в зависимости от условий их работы, должны приниматься в соответствии с требованиями СНиП 2.03.01-84.
2.8. Для замоноличивания стыков элементов сборных конструкций, которые в процессе эксплуатации или монтажа могут подвергаться воздействию отрицательных температур наружного воздуха, следует применять бетон марок по морозостойкости и водонепроницаемости не ниже марок, принятых для стыкуемых элементов.
Нормативные и расчетные характеристики мелкозернистого бетона
2.9. Нормативные и расчетные сопротивления мелкозернистого бетона, а также коэффициенты условий работы следует принимать в соответствии с указаниями СНиП 2.03.01-84.
2.10. Если проверяемый участок армоцементной конструкции работает в условиях двухосного (разнозначного) напряженного состояния, расчетное сопротивление растяжению мелкозернистого бетона для предельных состояний первой группы необходимо дополнительно умножать на коэффициент условий работы g b , который принимается в зависимости от отношения напряжений s x /s y или s y /s x по табл. 3.
Здесь s x и s y и — нормальные напряжения соответственно по направлению осей х и у.
Таблица 3
|
Отношение напряжений
|
Коэффициент условной работы бетона g b |
|
± 0 |
1 |
|
- 0,5 |
0,9 |
|
- 1 |
0,8 |
|
Примечание. Для промежуточных значений отношения напряжений коэффициент g b принимается по линейной интерполяции. |
|
2.11. Значения начального модуля упругости мелкозернистого бетона при сжатии и растяжении Eb для классов бетона В20 — В60 принимаются по СНиП 2.03.01-84.
При наличии данных о сорте цемента, составе бетона, условиях изготовления и т.д. допускается принимать другие значения Eb , согласованные в установленном порядке.
2.12. Коэффициент линейной температурной деформации a bt мелкозернистого бетона в интервале температур от минус 40°С до плюс 50°С принимается равным 1 × 10 -5 град -1 .
При наличии данных о минералогическом составе заполнителей, расходе цемента, степени водонасыщения, морозостойкости бетона и т.д. допускается принимать другие значения a bt , обоснованные в установленном порядке. Для расчетной температуры ниже минус 40°С и выше 50°С значение a bt принимается по экспериментальным данным.
2.13. Начальный коэффициент поперечной деформации бетона (коэффициент Пуассона) принимается равным 0,2, а модуль сдвига мелкозернистого бетона G — равным 0,4 соответствующего значения Eb , указанного в СНиП 2.03.01-84.
арматура
2.14. Для армирования армоцементных конструкций необходимо принимать:
а) тканые сетки по ГОСТ 3826-82;
б) плетеные сетки по ГОСТ 2715-80;
в) сварные сетки по ТУ 14-4-713-76;
г) стержневая и проволочная арматура в соответствии с указаниями СНиП 2.03.01-84.
2.15. Рекомендуемый сортамент тканых и сварных сеток приведен в справочном приложении 2.
Примечание. Плетеные сетки по ГОСТ 2715-80 допускается применять в качестве конструктивной арматуры.
2.16. Выбор стержневой и проволочной арматуры в зависимости от типа конструкции, наличия предварительного напряжения, условий возведения и эксплуатации, а также выбор марок стали для закладных деталей следует производить в соответствии с указаниями СНиП 2.03.01-84.
Нормативные и расчетные характеристики арматуры
2.17. Нормативные сопротивления стержневой и проволочной арматуры Rsn , а также коэффициенты условий работы арматуры должны приниматься согласно СНиП 2.03.01-84.
Расчетные сопротивления арматуры растяжению Rs для предельных состояний первой и второй групп следует принимать согласно СНиП 2.03.01-84.
Расчетные сопротивления стержневой и проволочной арматуры сжатию, используемые при расчете армоцементных конструкций по предельным состояниям первой группы Rs с , принимаются равными соответствующим расчетным сопротивлениям арматуры растяжению Rs , но не более 390 МПа.
2.18. За нормативное сопротивление проволоки сеток принимается наименьшее значение условного предела текучести, соответствующего остаточному относительному удлинению 0,2 % и принимаемого равным 0,8 временного сопротивления разрыву проволоки сетки. Допускается нормативное сопротивление проволок тканых и сварных сеток Rm , ser принимать равным 245 МПа (2500 кгс/см2 ).
2.19. Расчетные сопротивления сеток растяжению для предельных состояний первой и второй групп определяются делением нормативного сопротивления на коэффициент безопасности по материалу сеток, равный для предельных состояний первой группы 1,1.
2.20. Значения расчетных сопротивлении сеток растяжению для предельных состояний первой группы Rm и Rmw , а также сжатию Rmс с учетом коэффициента условий работы 1,1 следует принимать по табл. 4.
Таблица 4.
|
|
|
Расчетные сопротивления сеток для предельных состояний первой группы |
||
|
|
|
растяжению |
|
|
|
Вид сеток |
Диаметр проволоки мм |
продольных проволок, поперечных проволок при расчете наклонных сечений на действие изгибающего момента Rm |
поперечных проволок при расчете наклонных сечений на действие поперечной силы Rmw |
сжатию Rmс |
|
1. Тканая по ГОСТ 3826-82
|
0,7 1 1 ,1 1,2 |
245 2500 |
206 2100 |
24 5 2600 |
|
2. Сварная по ТУ 14-4-713-76 |
0,5 |
|
|
|
|
Примечание. Над чертой указаны значения в МПа, под чертой - в кгс/см2 . |
||||
Расчетное сопротивление сеток сжатию, используемое при расчете конструкций по предельным состояниям первой группы Rmc принимается равным расчетному сопротивлению растяжению для предельных состояний первой группы Rm . Расчетное сопротивление сеток сжатию Rmc , приведенное в табл. 4, необходимо дополнительно умножать на коэффициент условия работы сеток g m 2 . принимаемый в зависимости от коэффициента сетчатого армирования сжатого элемента по табл. 5.
Таблица 5
|
Коэффициент сетчатого армирования сжатой зоны сечения |
Коэффициент g m 2 |
|
Менее 0,015 0,015 - 0,025 |
1 0,75 |
2.21. Расчетное сопротивление сеток в элементах, подвергающихся воздействию многократно повторяющихся нагрузок, следует принимать с коэффициентом условий работы по СНиП 2.03.01-84 как для арматуры класса A-II .
2.22. Модуль упругости сеток Еm следует принимать равным 150000 МПа (1 500 000 кгс/см2 ), а модуль упругости стержневой и проволочной арматуры Es , согласно требованиям СНиП 2.03.01-8 4.
2.23. Длину зоны передачи напряжений lp для напрягаемой арматуры без анкеров следует определять согласно указаниям СНиП 2.03.01-84.
3. РАСЧЕТ АРМОЦЕМЕНТНЫХ КОНСТРУКЦИЙ ПО ПРЕДЕЛЬНЫМ СОСТОЯНИЯМ ПЕРВОЙ ГРУППЫ
3.1. Расчет элементов армоцементных конструкций по прочности должен производиться для сечений, нормальных к продольной оси, а также для наклонных к ней сечений наиболее опасного направления. Кроме того, необходимо выполнить расчет указанных элементов на местное действие нагрузки (смятие и продавливание).
Расчет элементов армоцементных конструкций на местное действие нагрузок следует производить в соответствии с требованиями СНиП 2.03.01-84.
3.2. Сетки, а также ненапрягаемую и напрягаемую стержневую или проволочную арматуру, если расстояние между стержнями арматуры не превышает 10t (где t - толщина рассматриваемого сечения), при расчете по прочности сечений армоцементных конструкций следует принимать равномерно распределенными по сечению элемента, с коэффициентом приведенного армирования, определяемым по формулам:
для растянутой зоны
;
для сжатой зоны (1)
,
где
,
коэффициенты сетчатого армирования, равные
;
,
,
коэффициенты армирования
стержневой и проволочной арматурой, равные
;
,
,
коэффициенты армирования
преднапряженной арматурой
;
,
площади сечения сеток на
единицу длины соответственно в растянутой и сжатой зонах;
площади сечения ненапрягаемой
стержневой арматуры на данном участке поперечного сечения элемента
соответственно в растянутой и сжатой зонах;
расчетные сопротивления
арматуры соответственно обычной и преднапряженной растяжению;
площади сечений напрягаемой
арматуры соответственно в растянутой и сжатой зонах;
расчетные сопротивления
арматуры соответственно обычной и преднапряженной сжатию;
А площадь поперечного сечения на данном участке;
t толщина элемента на рассматриваемом участке сечения.
На участках сечения, где расстояние между арматурными стержнями свыше 10t , усилия в стержневой и проволочной арматуре должны учитываться для каждого стержня раздельно.
РАСЧЕТ ПО ПРОЧНОСТИ СЕЧЕНИЙ, НОРМАЛЬНЫХ К ПРОДОЛЬНОЙ ОСИ ЭЛЕМЕНТА
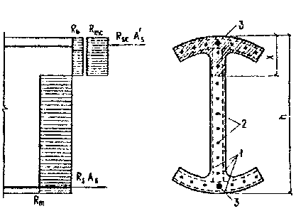
3.3. Предельные усилия в сечении, нормальном к продольной оси элемента, определяются исходя из следующих предпосылок (черт.2):
сопротивление бетона растяжению принимается равным нулю;
сопротивление бетона сжатию выражается напряжениями, равными Rb , равномерно распределенными по сжатой зоне бетона;
напряжения в арматуре, расположенной в сжатой зоне бетона, принимаются постоянными и не более Rmc , Rsc , Rpc
растягивающие напряжения в арматуре принимаются постоянными по высоте растянутой зоны сечения и не более Rm , Rs , Rsp .

Черт. 2. Схема внутренних усилий и эпюра напряжений в сечении, нормальном к продольной оси элемента, при расчете по прочности
1 — сетки; 2 — стержневая или проволочная арматура, приведенная к равномерно распределенной по сечению элемента; 3 — сосредоточенная стержневая или проволочная арматура
3.4 . Расчет сечений, нормальных к продольной оси элемента, когда внешняя сила действует в плоскости оси симметрии, должен производиться в зависимости от значения относительной высоты сжатой зоны бетона x = x /h, определяемого из условия равновесия и граничного значения относительной высоты сжатой зоны бетона x R , при котором предельное состояние элемента наступает одновременно с достижением в растянутых сетках и в стержневой или проволочной арматуре напряжении, равных расчетным сопротивлениям.
3.5. Значение x R определяется по формуле
x
R
=
, (2)
где
характеристика сжатой зоны
бетона, определяемая для армоцементных конструкций из мелкозернистого
бетона по формуле
