СНиП 3.01.03-84, часть 2
ПРИЛОЖЕНИЕ 3
Обязательное
УСЛОВИЯ ОБЕСПЕЧЕНИЯ ТОЧНОСТИ
ВЫСОТНЫХ ИЗМЕРЕНИЙ
|
Условия измерений, типы приборов |
Средние квадратические погрешности превышения на станции, мм |
|||
|
|
1 |
2-3 |
5 |
10 |
|
Неравенство плеч на станции, м, не более |
4 |
7 |
10 |
15 |
|
Высота визирного луча над препятствием, м, не менее |
0,3 |
0,2 |
||
|
Типы нивелиров по ГОСТ 10528—76 или им равноточные |
Н-05 и модифика-ции |
Н-3 и модификации |
Н-10 и модифика-ции |
|
|
Типы реек для нивелиров по ГОСТ 11 15 8-83 или им равноточные |
РН-05 |
РН-3 |
РН-10 |
|
|
Типы лазерных приборов или им равноточные |
¾ |
¾ |
ПИЛ-1 (ТУ ОДО.397.202); ЛВ-5М (ТУ 2.787.001 ); УКЛ-1 (ТУ ЛУ ШФ2.404.000) |
|
|
Типы реек для лазерных приборов |
¾ |
¾ |
Рейка с фотоприемником; РН-3 для ЛВ-5М |
|
ПРИЛОЖЕНИЕ 4
Обязательное
УСЛОВИЯ ОБЕСПЕЧЕНИЯ ТОЧНОСТИ ПЕРЕДАЧИ
ОТМЕТОК ПО ВЫСОТЕ
|
Условия измерений, типы приборов |
Средние квадратические погрешности определения отметок на монтажном горизонте относительно исходного, мм |
||||
|
|
3 |
4 |
5 |
6 |
15 |
|
Высота монтажного горизонта, м |
До 15 |
Св. 15 до 60 |
Св. 60 до 100 |
Св. 100 до 120 |
— |
|
Неравенство плеч на станции, м, не более |
5 |
15 |
|||
|
Высота визирного луча над препятствием, м, не менее |
0 ,2 |
0,3 |
0,1 |
||
|
Методика работы |
Взятие отсчета на монтаж-ном горизон-те |
Одновременное взятие отсчетов на верхнем и нижнем горизонтах |
Взятие отсчета на монтаж-ном горизон-те |
||
|
Типы нивелиров, реек, теодолитов или им равноточные |
Н-3 и модификации, РН-3 |
H -05 и модификации; РН-05 |
Н-10 и модификации; РН-10; Т-5; Т-30 |
||
|
Типы рулеток |
ОПК2-20 АНТ/1, ОПК2-30 АНТ/1, ОПК2-50 АНТ/1 |
ОПК3-20 АНТ/10 |
|||
|
Натяжение рулеток, Н (кгс) |
100 (10) |
50 (5) |
|||
ПРИЛОЖЕНИЕ 5
Обязательное
УСЛОВИЯ ОБЕСПЕЧЕНИЯ ТОЧНОСТИ ПЕРЕДАЧИ
ТОЧЕК И ОСЕЙ ПО ВЕРТИКАЛИ
|
Процессы, условия измерений, тип приборов |
Средние квадратические погрешности передачи точек, осей по вертикали, мм |
|||
|
|
2 |
2,5 |
3 |
4 |
|
Высота проецирования, м |
До 15 |
Св. 15 до 60 |
Св. 60 до 100 |
Св. 100 до 120 |
|
Центрирование прибора |
Оптичес-ким центри-ром или нитяным отвесом |
Оптическим центриром |
||
|
Фиксация точек |
Карандашом на гладкой поверхности, палетке |
Керном на исходном горизонте и карандашом по палетке |
||
|
Минимальное расстояние от визирного луча до строительной конструкции, м |
0,2 |
0 ,1 |
||
|
Количество приемов, не менее |
1 |
2 |
||
|
Типы приборов или им равноточные |
Т 30 |
Т 2, ПИЛ-1 |
ЦО-1, П3Л |
|
ПРИЛОЖЕНИЕ 6
Справочное
СХЕМЫ РАЗБИВОЧНЫХ СЕТЕЙ
СТРОИТЕЛЬНОЙ ПЛОЩАДКИ И ЗДАНИЯ

Черт. 1. Схемы разбивочной сети строительной площадки в виде
а — строительной сетки; б — красных линий; в — центральной системы Условные обозначения:
ÿ — пункты разбивочной сети строительной площадки; D — пункты государственной геодезической сети; — строительная площадка; — проектируемые здания

Черт. 2. Схемы разбивочной сети здания
а — внешней; б — внутренней
Условные обозначения:
— репер, совмещенный с осевым знаком; — временный осевой знак, конструкция которого приведена в обязательном приложении 11; — постоянные осевые знаки, конструкции которых приведены в обязательных приложениях 7—10; — осевой знак на здании; ÿ — пункты разбивочной сети строительной площадки; D — пункты государственной геодезической сети
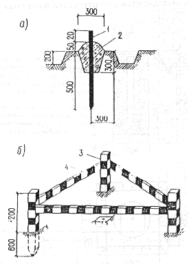
ПРИЛОЖЕНИЕ 7
Рекомендуемое
ЗАКРЕПЛЕНИЕ ОСНОВНЫХ ИЛИ ГЛАВНЫХ
РАЗБИВОЧНЫХ ОСЕЙ ЗДАНИЯ ДО 5 ЭТАЖЕЙ,
СООРУЖЕНИЯ ВЫСОТОЙ ДО 15 М
С ПРОДОЛЖИТЕЛЬНОСТЬЮ СТРОИТЕЛЬСТВА ДО 0,5 ГОДА, ВНУТРИПЛОЩАДОЧНЫХ ИНЖЕНЕРНЫХ СЕТЕЙ,
ОГРАЖДЕНИЕ ЗНАКА

а — геодезический знак закрепления основных или главных разбивочных осей здания до 5 этажей, сооружения высотой до 15 м с продолжительностью строительства до 0,5 года, внутриплощадочных инженерных сетей: 1 — металлический стержень í 16 мм; 2 — бетон класса В7,5; б — ограждение знака: 3 — деревянный столб размером 1800х80х80 мм или металлическая труба í 30—50 мм; 4 — доска размером 1500х80х20 мм или металлический уголок размером 25 х25 х2 мм.
ПРИЛОЖЕНИЕ 8
Рекомендуемое
ЗАКРЕПЛЕНИЕ ОСНОВНЫХ ИЛИ ГЛАВНЫХ
РАЗБИВОЧНЫХ ОСЕЙ ЗДАНИЯ СВЫШЕ 5 ЭТАЖЕЙ,
СООРУЖЕНИЯ ВЫСОТОЙ СВЫШЕ 15 М
С ПРОДОЛЖИТЕЛЬНОСТЬЮ СТРОИТЕЛЬСТВА ДО 0,5 ГОДА

1 — деревянная крышка; 2 — металлическая пластина размером 200х200х10 мм; 3 — металлическая труба í 30 мм; 4 — якорь; 5 — бетон класса В7,5; 6 — песок
ПРИЛОЖЕНИЕ 9
Рекомендуемое
ЗАКРЕПЛЕНИЕ ОСНОВНЫХ ИЛИ ГЛАВНЫХ
РАЗБИВОЧНЫХ ОСЕЙ ЗДАНИЯ {СООРУЖЕНИЯ)
С ПРОДОЛЖИТЕЛЬНОСТЬЮ СТРОИТЕЛЬСТВА БОЛЕЕ 0,5 ГОДА

1 — металлическая пластина размером 200х200х15 мм; 2 - заклепка из металла; 3 —анкер í 15мм; 4 — металлическая труба í 50—70 мм; 5 — бетон классов В7,5 ¾ В12,5; 6 — якорь; 7 — песок; 8 — два слоя рубероида РЧ = 320; h1 соответствует наибольшей глубине промерзания грунта; h2 определяется по таблице
|
Грунт |
Значение величины h2 при глубине промерзания грунта, м |
||||||||
|
|
h1 |
0 ,6 |
0 ,8 |
1,0 |
1,2 |
1 ,4 |
1 ,6 |
1 ,8 |
2 ,0 |
|
Песчаный |
h2 |
0,1 |
0 ,2 |
0 ,2 |
0,3 |
0,4 |
0,5 |
0 ,6 |
0 ,7 |
|
Суглинистый |
|
0,6 |
0,9 |
1 ,1 |
1 ,4 |
1,6 |
1, 8 |
2,0 |
2,1 |
Ограждение знака выполняется согласно рекомендуемому приложению 7
ПРИЛОЖЕНИЕ 10
Рекомендуемое
ЗАКРЕПЛЕНИЕ РАЗБИВОЧНЫХ ОСЕЙ НА СКАЛАХ И БЕТОНЕ

1 — дюбель-гвоздь;
2 — скала, бетон;
3 — обозначение знака (откраска)
Ограждение знака выполняется в виде тура из камней.
ПРИЛОЖЕНИЕ 11
Рекомендуемое
ЗАКРЕПЛЕНИЕ РАЗБИВОЧНЫХ ОСЕЙ ЛИНЕЙНЫХ СООРУЖЕНИЙ


а , б — геодезические знаки; в — схема закрепления знаков разбивочных осей; 1— временный знак из дерева или металла í 15-30 мм; 2 — опознавательная веха í 50 ¾ 80 мм; 3 - постоянный знак из дерева í 100 мм или металла í 80 мм
ПРИЛОЖЕНИЕ 12
Обязательное
АКТ
ПРИЕМКИ ГЕОДЕЗИЧЕСКОЙ РАЗБИВОЧНОЙ ОСНОВЫ
ДЛЯ СТРОИТЕЛЬСТВА
___________________________________________________________
(наименование объекта строительства)
г.______________________ „ " ___________________19_____ г.
Комиссия в составе:
ответственного представителя заказчика _________________________
_______________________________ ____________________________
(фамилий, инициалы, должность)
___________________________________________________________
ответственных представителей генподрядной строительно-монтажной организации ________________________________________________
(фамилия, инициалы, должность)
___________________________________________________________
рассмотрела представленную техническую документацию на геодезическую разбивочную основу для строительства ______________
____________________________________ _______________________
(наименование объекта строительства)
и произвела осмотр закрепленных на местности знаков этой основы.
Предъявленные к приемки знаки геодезической разбивочной основы для строительства, их координаты, отметки, места установки и способы закрепления соответствуют представленной технической документации _________ ______________________________________
(наименование проектной организации,
___________________________________________________________
номера чертежей, дата выпуска)
и выполнены с соблюдением заданной точности построений и измерений.
На основании изложенного комиссия считает, что заказчик сдал, а подрядчик принял знаки геодезической разбивочной основы для строительства (наименование объекта или его отдельных цехов, зданий, сооружений)
Приложения: ____________________________________________ _
(чертежи, схемы, ведомости и т. п.)
___________________________________________________________
Представитель заказчика: __________________________________
(подпись)
Представители подрядчика: производитель работ
__________________________________ (подпись)
работник геодезической службы
__________________________________ (подпись)
ПРИЛОЖЕНИЕ 13
Обязательное
АКТ
ПРИЕМКИ-ПЕРЕДАЧИ РЕЗУЛЬТАТОВ ГЕОДЕЗИЧЕСКИХ РАБОТ
ПРИ СТРОИТЕЛЬСТВЕ ЗДАНИЙ, СООРУЖЕНИЙ
„ ” _______________ 19___г. __________________________
(место составления)
.
Объект _____________________________________________________
(наименование объекта строительства)
Комиссия в составе:
ответственного представителя строительно-монтажной организации,
передающей работы __________________________________________
(фамилия, инициалы. должность)
ответственного представителя строительно-монтажной организации, принимающей работы _______________________________________ _
(фамилия, инициалы, должность)
рассмотрела представленную техническую документацию на выполненные геодезические работы (схемы геодезической разбивочной основы для строительства, внутренней разбивочной сети здания, сооружения, схемы исполнительных съемок, каталоги координат, отметок, ведомости и т.д.) при строительстве _______________________________________________ ____________
(наименование объекта)
и произвела осмотр закрепленных на местности и здании знаков сети.
Предъявленные к приемке знаки разбивочной сети, их координаты, отметки, места установки и способы закрепления соответствуют представленной на них технической документации, и работы выполнены с соблюдением заданной точности построений и измерений.
На основании изложенного комиссия считает, что ответственный представитель строительно-монтажной организации ________ _______
___________________________________________________________
(наименование организации)
сдал, а представитель строительно-монтажной организации _________
___________________________________________________________
(наименование организации)
принял указанные выше работы по______________________________
___________________________________________________________
(наименование объекта, отдельных частей зданий и сооружений)
Приложения: ________________________________________________
(чертежи, схемы, ведомости и т.д.)
Представитель строительно-монтажной организации, передающей
работы _____________________________________________________
(подписи производителя работ,
___________________________________________________________
работника геодезической службы)
Представитель строительно-монтажной организации, принимающей работы _____________________________________________________
(подписи производители работ,
___________________________________________________________
работника геодезической службы)
ПРИЛОЖЕНИЕ 14
Справочное
ИСПОЛНИТЕЛЬНАЯ СХЕМА
ПЛАНОВОГО И ВЫСОТНОГО ПОЛОЖЕНИЯ СВАЙ

Стрелка показывает направление отклонения оголовка сваи от оси,
а цифра — величину, см.
Цифра со знаком в кружке показывает отклонение от проектной отметки оголовка сваи после срубки, см.
У круглых свай показывается отклонение от осей центра оголовка.
у остальных — граней.
ПРИЛОЖЕНИЕ 15
Справочное
ИСПОЛНИТЕЛЬНЫЙ ЧЕРТЕЖ ПЛАНОВОГО
И ВЫСОТНОГО ПОЛОЖЕНИЯ КАНАЛИЗАЦИОННОЙ СЕТИ


