ГОСТ 8747-88 (СТ СЭВ 5851-86), часть 2
Опоры для установки листа или образцов.

Черт. 14
Таблица 2
| Высота волны, мм | Ширина рамы | 
| От 30 до 40 | 4 волны | 
| " 51 " 54 | 3 волны | 
11.4. Проведение испытаний
Определение водонепроницаемости на целых листах производят при помощи цилиндрической трубки или специальной рамы, на деталях и образцах - при помощи цилиндрической трубки.
Для проведения испытания изделие (образец) кладут на опоры лицевой поверхностью вверх.
Цилиндрическую трубку при испытании устанавливают на лицевой поверхности изделия во впадине волны и закрепляют в штативе. Зазор между краями трубки и поверхностью изделия (образца) герметизируют. Трубку заполняют водой на высоту (250±2) мм от поверхности впадины волны.
Специальную раму при испытании устанавливают на лицевой поверхности волнистого листа (черт. 14), герметизируют зазор между рамой и поверхностью листа. Раму заполняют водой так, чтобы уровень воды находился над гребнями волн на (20±4) мм.
11.5. Оценка результатов
При проведении испытания любым из указанных способов по истечении 24 ч осматривают обратную (нелицевую) поверхность изделия (образца) и устанавливают наличие или отсутствие на ней капель воды.
Отсутствие капель воды свидетельствует о водонепроницаемости изделия.
Способ испытания устанавливает изготовитель.
12. Определение морозостойкости
12.1. Сущность метода заключается в многократном попеременном замораживании и оттаивании насыщенных водой образцов.
12.2. Средства контроля
Морозильная установка, обеспечивающая температуру воздуха в камере не выше минус 15 °С.
Набор кассет, конструкция которых должна позволять размещение в них образцов в вертикальном положении на расстоянии не менее 20 мм друг от друга, а также перемещение и установку кассеты одна на другую без каких-либо повреждений образцов.
Штангенциркуль по ГОСТ 166-80.
Толщиномер по ГОСТ 11358-74.
Линейка по ГОСТ 427-75.
Термометр по ГОСТ 2823-73.
Емкость для воды.
12.3. Подготовка образцов
От каждого отобранного для испытания волнистого листа (волнистой части профилированной детали) вырезают два образца по п. 4.2. Один образец предназначен для испытания на морозостойкость, другой является контрольным.
От каждого отобранного для испытания плоского листа (плоской части профилированной детали) вырезают две пары образцов по п. 4.2. Одна пара образцов предназначена для испытания на морозостойкость, другая является контрольной.
12.4. Проведение испытаний
Образцы, предназначенные для испытания на морозостойкость, помещают в кассеты и все перемещения образцов производят только в кассетах.
Кассеты с образцами погружают не менее чем на 48 ч в емкость с водой так, чтобы уровень воды был выше образцов не менее чем на 30 мм.
После насыщения водой проводят попеременное замораживание и оттаивание образцов по следующему циклу:
1) замораживание - не менее 4 ч при температуре не выше минус 15 °С;
2) оттаивание - не менее 4 ч в воде при температуре не ниже плюс 10 °С.
Число циклов устанавливают в стандартах или технических условиях на конкретное изделие.
После проведения установленного числа циклов попеременного замораживания и оттаивания тщательно осматривают образцы и устанавливают наличие расслоений или других повреждений, сравнивая испытанные образцы с контрольными.
Затем эти и контрольные образцы насыщают водой не менее 48 ч и испытывают на прочность при изгибе в соответствии с п.4.4.
За предел прочности при изгибе образцов, подвергшихся замораживанию и оттаиванию, принимают среднее арифметическое значение результатов испытаний всех образцов.
За предел прочности при изгибе контрольных образцов принимают среднее арифметическое значение результатов испытаний всех образцов.
12.5. Обработка результатов
Остаточную прочность в процентах вычисляют как отношение предела прочности при изгибе образцов, подвергшихся замораживанию, к пределу прочности при изгибе контрольных образцов.
13. Определение прочности цветного
покрытия на истирание
13.1. Сущность метода заключается в воздействии на цветное покрытие изделия нормированного количества песка.
13.2. Подготовка образцов
От каждого отобранного для испытания окрашенного листа (детали) вырезают по два образца размерами (200±5) мм по длине и не менее 150 мм по ширине листа (детали).
Образец волнистого листа (детали) должен иметь гребень.
Допускается испытывать половинки образцов, оставшиеся после испытания листов (деталей) на прочность при изгибе.
13.3. Средства контроля
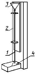
Устройство, состоящее из стеклянной трубки 1 длиной (1800±1) мм и внутренним диаметром (22±3) мм, прикрепленной к деревянному штативу 2, конусообразной воронки 3, наружный диаметр стержня которой должен быть меньше внутреннего диаметра трубки, и ящика 4 для установки образца и сбора песка (черт. 15).
Песок нормальный для испытания цементов по ГОСТ 6139-78.

Черт. 15
13.4. Проведение испытания
Испытываемый образец устанавливают в ящике под углом (45±1) ° к трубке таким образом, чтобы песок из трубки попадал на гребень волны образца; расстояние от центра выходного отверстия трубки до образца должно быть (20±3) мм.
В воронку, подвешенную над трубкой, непрерывной струей насыпают (3±0,1) кг песка, который, проходя через стеклянную трубку, попадает на образец.
После испытания на образце не должна быть видна неокрашенная поверхность асбестоцементного листа (детали).
1. Общие положения
2. Контроль внешнего вида
3. Контроль размеров и формы
Черт.1
Черт.2
Черт. 3
Черт. 4
Черт.5
Черт.6
Черт. 7
4. Определение предела прочности при изгибе
Черт.8
Черт.9
Черт.10
Черт.11
Черт. 12
5. Определение несущей способности волнистых листов
6. Определение прочности волнистых листов испытательной планочной нагрузкой
7. Определение прочности при сосредоточенной нагрузке от штампа
Черт. 13
8. Определение ударной вязкости
9. Определение плотности
10. Определение водопоглощения
11. Определение водонепроницаемости
Черт. 14
12. Определение морозостойкости
13. Определение прочности цветного покрытия на истирание
Черт. 15
