Проектирование дорог пром. предприятий (к СНиП 2.05.07-85), часть 4
2.112. Расчетный горизонт грунтовых вод следует принимать по данным многолетних стационарных гидрологических наблюдений в районе проектирования. При отсутствии таких данных расчетный горизонт грунтовых вод следует устанавливать при инженерно-геологическом обследовании района с учетом сезонных многолетних колебаний уровня грунтовых вод в других районах с аналогичными условиями, а также возможных последующих изменений этого уровня, связанных с освоением и орошением земель. Во всех случаях в качестве расчетного следует принимать наивысший многолетний уровень грунтовых вод.
2.113. На территориях, подлежащих освоению в период эксплуатации пути, расчетный горизонт грунтовых вод необходимо принимать по перспективным данным органов водного хозяйства с учетом прогноза изменений естественного уровня грунтовых вод, связанных как с орошением, так и с дренажными мероприятиями.
2.114. При расположении земляного полотна в непосредственной близости от ирригационных сооружений необходимо учитывать, что фильтрационный максимум уровня грунтовых вод возникает в период работы канала с наибольшей нагрузкой.
Фильтрационный максимум уровня грунтовых вод следует принимать в качестве расчетного в случаях, когда он будет выше естественного уровня.
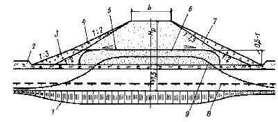
2.115. В районах искусственного орошения земляное полотно следует проектировать, как правило, насыпями с применением поперечных профилей, приведенных на рис. 27. Высоту насыпей необходимо определять с учетом предохранения верхней части земляного полотна от увлажнения грунтовыми и поверхностными водами (в зависимости от вида используемого грунта, степени его засоления и условий водоотвода).




Рис. 27. Конструкция насыпи вблизи ирригационных сооружений
а - насыпь вдоль закрытых трубчатых дрен или коллекторов; б - то же, вдоль каналов из железобетонных лотков; в - то же, вдоль каналов за пределами фильтрационного максимума горизонта грунтовых вод; г - то же, вдоль открытых коллекторов; 1 - трубчатая дрена; 2 - лоток; 3 - расчетный уровень воды в канаве; 4 - канава; 5 - горизонт грунтовых вод (ГГВ), пониженный дреной или коллектором; 6 - естественный максимум ГГВ; 7 - фильтрационный максимум ГГВ; 8 - расчетное возвышение бровки земляного полотна над ГГВ; L - расстояние по расчету
2.116. Типовые конструкции выемок в лессовых грунтах для засушливого (рис. 28) и влажного (рис. 29) климатов разработаны применительно к участкам, расположенным в относительно благоприятных инженерно-геологических условиях на местности с поперечным уклоном менее 1:3.

Рис. 28. Конструкция выемки глубиной до 12 м в лессовых грунтах в районах с засушливым климатом

Рис. 29. Конструкция выемки глубиной до 2 - 12 м в лессовых грунтах в районах с влажным климатом
При высоте откоса более 2 м устраиваются закюветные полки для сбора и очистки осыпавшегося грунта. Для механизированной уборки требуется ширина полок 3 - 4 м.
2.117. Для предупреждения просадок в толще лесса, вызываемых инфильтрацией воды, дно и откосы водоотводов должны быть покрыты слоем гидроизоляции - битумом, асфальтовой мастикой, гидрофобным цементогрунтом с учетом допускаемых скоростей течения (см. прил. 10 настоящего Пособия).
Для защиты от размыва земляного полотна устраивают монолитные бетонные или сборные железобетонные покрытия с заделкой швов между сборными плитами битумом или асфальтовой мастикой.
Земляное полотно на вечномерзлых грунтах
2.118. Особенность проектирования земляного полотна, возводимого в районах распространения вечномерзлых грунтов, заключается в выборе принципов строительства (ВСН 200-85 и СНиП 2.05.02-85). При этом различают три принципа:
I - обеспечение поднятия верхнего горизонта вечной мерзлоты (ВГВМ) не ниже подошвы насыпи и сохранение его на этом уровне в течение всего периода эксплуатации;
II - допущение частичного оттаивания грунта в основании насыпи и возможности нахождения его в талом состоянии в период эксплуатации при условии ограничения осадок допустимыми пределами;
III - обеспечение предварительного оттаивания вечномерзлых грунтов и осушения дорожной полосы до возведения земляного полотна.
2.119. Первый принцип применяется при низкотемпературных грунтах зоны I - I вечной мерзлоты, приведенной на картах дорожно-климатического районирования (см. прил. 17 и 18), при наличии термопросадочных грунтов III - V категории согласно классификаций для железных и автомобильных дорог, помещенных в прил. 4, и глинистых грунтов с суммарной влажностью в сезонооттаивающем слое выше границы текучести (в случае проектирования дорог с капитальным покрытием).
Второй принцип может быть применен во всех случаях в качестве основного из конкурирующих вариантов проектирования, оцениваемых технико-экономическими расчетами.
Третий принцип может быть применен в случае высокотемпературной вечной мерзлоты островного распространения, когда возможно заблаговременное оттаивание вечномерзлых грунтов и осушение дорожной полосы.
2.120. При проектировании земляного полотна железных и автомобильных дорог промышленных предприятий по I принципу необходимо обеспечивать сохранение ВГВМ или ее "новообразование" с помощью применения термоизоляции из торфа, пенопласта и геотекстилей. Характеристики последних и методика их применения приведены в прил. 15.
2.121. При проектировании земляного полотна необходимо предусматривать полную механизацию строительных работ.
2.122. Земляное полотно следует проектировать:
с минимальным использованием выемок;
исходя из условий снегонезаносимости;
обеспечения естественного водоотвода с сохранением мохово-растительного покрова в основании насыпей и на прилегающей территории;
с максимальным использованием песчаных грунтов в талом, сыпучемерзлом и сухомерзлом состоянии (см. прил. 5);
не допуская сооружения насыпей из резервов;
прогнозировать "новообразования" вечной мерзлоты в теле и в основании насыпей;
применять инженерные способы управления температурным режимом грунтовых массивов;
применять армирующие и дренирующие прослойки из геотекстиля и других способов управления напряженно-деформированным состоянием земляного полотна на участках использования переувлажненных и пылеватых грунтов, а также другие способы управления напряженно-деформированным состоянием земляного полотна на участках использования переувлажненных и пылеватых грунтов.
2.123. Конструкции земляного полотна разрабатывают по типовым или индивидуальным проектам исходя из учета следующих природных и других условий:
типа местности, определяемого по данным мерзлотной инженерно-геологической съемки, с выделением по трассе тундровых ландшафтов со сливающейся вечной мерзлотой, лесотундровых, луговых и болотных с несливающейся вечной мерзлотой, для определения осадок основания земляного полотна (см. прил. 5);
температуры вечномерзлых грунтов основания земляного полотна, определяемой по данным инженерно-геологических изысканий;
дорожно-климатических зон (см. прил. 23, 24);
состава и состояния грунтов в карьерах и их технологической пригодности для сооружения земляного полотна, определяемых по прил. 5.
Насыпи и выемки на тундровых ландшафтах со сливающейся мерзлотой в дорожно-климатической зоне I - I следует проектировать преимущественно по 1 принципу с сохранением или "новообразованием" мерзлоты исходя из прогноза, основанного на теплотехнических расчетах на ЭВМ, с применением теплоизоляционных слоев из торфа, пенопласта и геотекстилей, а также с учетом состава и состояния грунтов в карьерах и технологии производства работ.
Насыпи и выемки на лесотундровых, болотных и луговых ландшафтах с несливающейся мерзлотой или с залеганием верхней границы вечной мерзлоты (ВГВМ) на глубине более 3 м, чаще встречающиеся в дорожно-климатической зоне 1 - 3, следует проектировать с допущением оттаивания высокотемпературных грунтов под земляным полотном в процессе эксплуатации и учетом его осадки по расчету.
2.124. Выбор конструкций земляного полотна, а также устройств, обеспечивающих управление тепловым режимом в грунтовых массивах, с целью обеспечения его устойчивости должен осуществляться на основе комплексного изучения и анализа природных условий и технико-экономических расчетов.
Для предупреждения неравномерных деформаций подрельсового основания в проектах железнодорожных путей и дорожных покрытий должны быть разработаны комплексные технические мероприятия по обеспечению сохранения (стабилизации) земляного полотна в вечномерзлом состоянии, с этой целью конструкции сооружаются с теплоизоляцией из торфа, пенопласта и геотекстиля согласно теплотехническому расчету.
2.125. По типовым поперечным профилям следует проектировать: насыпи на грунтах I и II категории термопросадочности на скальных, крупнообломочных, песчаных талых и сыпучемерзлых грунтах; выемки глубиной до 12 м в скальных и крупнообломочных грунтах и песках крупной и средней крупности.
2.126. По индивидуальным проектам возводят земляное полотно на участках:
производства земляных работ с использованием твердомерзлых песчаных грунтов с характеристиками, приведенными в прил. 5;
производства работ способом гидромеханизации;
периодического подтопления и пересечения озер;
интенсивного снегонакопления и его переноса;
развития термоэрозионного оврагообразования;
насыпей из скальных, крупнообломочных, песчаных и сыпучемерзлых грунтов на вечномерзлых грунтах III и IV категории термопросадочности и на участках залегания подземных льдов;
выемок в грунтах III и IV категории термопросадочности;
выемок на сильнозаносимых участках;
миграционных бугров пучения, термокарстовых впадин с залеганием погребенного лада;
на косогорах крутизной 3 - 15 1 , подверженных солифлюкционным процессам и наледообразованиям;
пересечений нефтегазопроводов и других сооружений.
2.127. Для сооружения насыпей должны максимально использоваться песчаные грунты из сосредоточенных карьеров, разрабатываемых в поймах и на террасах рек.
Сухомерзлые грунты пригодны для сооружения земляного полотна по технологическим схемам с послойным их уплотнением решетчатыми и вибрационными катками с учетом осадки и доуплотнения при оттаивании (см. прил. 5).
Твердомерзлые песчаные грунты допускается укладывать в насыпи, если их содержание в массе талого грунта не превышает 30% по объему в сезонноталом слое и 50% в пределах прогнозируемого вечномерзлого ядра насыпи с тщательным послойным уплотнением.
Не допускается укладывать льдонасыщенные мерзлые грунты в земляное полотно без предварительной подготовки. Льдонасыщенные песчаные грунты можно использовать для заготовки талого грунта в карьерах методом послойного радиационного оттаивания с гидромониторной или гидромониторно-бульдозерной периодической срезкой оттаивающего грунта, с последующей укладкой в насыпи.
Насыпи с применением термоизолирующих прослоек
2.128. Типовые конструкции насыпей, сооружаемых на вечномерзлых грунтах, приводятся на рис. 30 - 36, выемок - на рис. 37, 38.
2.129. Бермы шириной 1 - 3 м сооружаются из торфа или пенопласта и прикрываются слоем суглинка 0,2 м, а откосы - торфопесчаной смесью толщиной 0,2 м с засевом семенами дикорастущих трав (рис. 30).

Рис. 30. Конструкция насыпи высотой более 1,5 м на вечномерзлых грунтах I и II категории термопросадочности
1 - пенопласт; 2 - суглинок толщиной 0,2 м; 3 - торфопесчаная смесь толщиной 0,2 м с засевом семенами дикорастущих трав; 4 - талые и сухомерзлые песчаные грунты; 5 - мохово-растительный слой; 6 - поверхность горизонта вечной мерзлоты до постройки насыпи; 7 - новообразованная поверхность мерзлоты под насыпью; Нр - высота насыпи по расчету
2.130. Насыпи высотой более 1,5 м проектируются по I принципу строительства на вечномерзлых грунтах III и IV категории термопросадочности на тундровых ландшафтах со сливающейся мерзлотой из талых, сыпуче- или сухомерзлых грунтов с укладкой геотекстиля под балластной призмой на выравнивающий слой песка толщиной 0,1 м с содержанием в нем пылеватых фракций не более 30% и устройством бермы шириной 1 - 3 м с покрытием торфопесчаной смесью слоем 0,2 м (рис. 31). Высота насыпи определяется по расчету.

Рис. 31. Конструкция насыпи высотой более 1,5 м на вечномерзлых грунтах III - IV категории термопросадочности с бермами и укладкой геотекстиля
1 - торфопесчаная смесь толщиной 0,2 м; 2 - берма; 3 - геотекстиль; 4 - грунт насыпи; 3 - мохово-растительный слой; 6 - поверхность горизонта вечной мерзлоты до постройки; 7 - новообразованная поверхность мерзлоты; Hр - высота насыпи по расчету; h т - глубина сезонного протаивания грунтов
2.131. Насыпи высотой 2 - 3 м проектируются по I принципу строительства на вечномерзлых грунтах IV категории термопросадочности и более, на бугристых торфяниках (миграционных буграх пучения), со сливающейся мерзлотой и сезонно-талым слоем толщиной до 0,6 м. Сооружаются такие насыпи из талых, сыпуче- или сухомерзлых грунтов с заменой дренирующим грунтом (по расчету) и покрытием откосов торфом или торфогрунтовой смесью с засевом семенами дикорастущих трав (рис. 32).

Рис. 32. Конструкция насыпи высотой 2 - 3 м на вечномерзлых грунтах IV и более категорий термопросадочности (торфяных буграх пучения) с заменой торфа в основании на дренирующий грунт и устройством теплоизоляции из торфа на откосах
1 - торф; 2 - грунт насыпи; 3 - поверхность горизонта вечной мерзлоты до постройки насыпи; 4 - новообразованная поверхность мерзлоты; hз - толщина замены дренирующим грунтом; Нр - высота насыпи по расчету
2.132. Конструкции насыпей высотой 1,5 - 3 м проектируются по I принципу строительства на вечномерзлых грунтах III и IV категории термопросадочности, а также на участках с залеганием от поверхности кровли подземных льдов на глубине более 1,5 м. Сооружаются такие насыпи из талых сыпуче- или сухомерзлых грунтов. Теплоизоляционный слой устраивается в обойме из геотекстиля и сыпучемерзлого глинистого грунта, песка или обломочного грунта толщиной 0,5 - 1 м. Откосы покрываются торфом или торфогрунтовой смесью мощностью 0,3 - 0,5 м (рис. 33).

Рис. 33. Конструкция насыпи высотой 1,5 - 3 м на вечномерзлых грунтах III и IV категории термопросадочности или на участках с близким от поверхности залеганием подземных льдов, с термоизоляционным слоем из геотекстиля в обойме и утепленными откосами из торфа
1 - лед; 2 - мохово-растительный слой; 3 - торф; 4 - торфопесчаная смесь; 5 - геотекстиль; 6 - сыпучемерзлый песок; 7 - грунт насыпи; 8 - поверхность вечной мерзлоты до постройки насыпи; 9 - новообразованная поверхность мерзлоты; Нр - высота насыпи по расчету
2.133. Конструкции насыпей высотой более 3 м проектируется по II принципу строительства на талых грунтах, на пойменно-луговых и болотных ландшафтах с отсутствием вечной мерзлоты или глубоким ее залеганием. Сооружаются такие насыпи из талых сухо- или сыпучемерзлых грунтов с применением для армирования геотекстиля в полуобойме. Под балластной призмой укладывается геотекстиль. Откосы покрываются торфогрунтовой смесью и засеиваются семенами дикорастущих трав.
Геотекстиль укладывается на выровненный песчаный слой, который в процессе отсыпки погружается в слабые грунты основания и дает осадку 0,2 - 0,4 м (рис. 34).

Рис. 34. Конструкция насыпи высотой более 3 м на талых грунтах, залегающих на участках с отсутствием вечной мерзлоты или ее глубоким залеганием из талых сухо- или сыпучемерзлых грунтов
1 - мохово-растительный покров; 2 - торфогрунтовая смесь; 3 - геотекстиль; 4 - грунт насыпи; Нр - высота насыпи по расчету; S - осадка насыпи
2.134. Насыпи высотой более 1,5 м на вечномерзлых грунтах I и II категории термопросадочности проектируются на застроенных территориях промышленных предприятий, станциях и погрузочно-разгрузочных пунктах по II принципу строительства. Сооружаются такие насыпи из талых сухо- или сыпучемерзлых песчаных грунтов. Водоотводы устраиваются в виде канав, укрепленных железобетонными плитами. На обводненных территориях возможно устройство железобетонных лотков, утепленных торфом или пенопластом (рис. 35). Следует предусматривать осадку основания насыпи по расчету или по табл. 70.

Рис. 35. Конструкция насыпи высотой более 1,5 м на вечномерзлых грунтах I и II категории термопросадочности, проектируется по II принципу строительства на застроенных территориях, из талых, сыпуче- или сухомерзлых песчаных грунтов
1 - мохово-растительный слой; 2 - пенопласт или торф; 3 - железобетонный лоток; 4 - грунт насыпи; 5 - укрепление канавы железобетонными плитами; 6 - поверхность горизонта вечной мерзлоты до постройки насыпи; 7 - новообразованная поверхность мерзлоты; S - осадка основания насыпи; Нр - расчетная высота насыпи
2.135. Насыпи высотой более 1,5 м на вечномерзлых грунтах III и IV категории термопросадочности, на тундровых ландшафтах со сливающейся мерзлотой сооружаются из талых сыпуче- или сухомерзлых песчаных грунтов, на застроенных территориях, станциях и погрузочно-разгрузочных пунктах с заменой на дренирующий грунт на глубину по расчету и с применением геотекстиля под откосами и основной площадкой земляного полотна (см. рис. 36).

Рис. 36. Конструкция насыпи высотой менее 1,5 м на вечномерзлых грунтах III и IV категории термопросадочности из талых, сыпуче- и сухомерзлых песчаных грунтов, проектируемой на станции и погрузочно-разгрузочных пунктах, с заменой грунтов в основании насыпи на дренирующий грунт и применением геотекстиля
1 - мохово-растительный слой; 2 - геотекстиль; 3 - грунт насыпи; 4 - дренирующий грунт; 5 - торфопесчаная смесь толщиной 0,15 м; 6 - дрена или трубо-фильтр; 7 - поверхность горизонта вечной мерзлоты до постройки насыпи; 8 - новообразованная поверхность мерзлоты; hз - глубина замены групп основания насыпи на дренирующий; 9 - граница отвода земель; Нр - высота насыпи по расчету
2.136. Геотекстили, характеристики которых приведены в прил. 15, применяют в целях:
повышения несущей способности, уменьшения деформации основной площадки земляного полотна;
повышения надежности работы прослоек из влагоемких грунтов в конструкциях земляного полотна, рассчитанных на сохранение и новообразование мерзлоты (рис. 32, 33);
повышения устойчивости сопряжений насыпей с искусственными сооружениями, а также участков земляного полотна, испытывающих повышенные динамические нагрузки (под стыками, стрелочными переводами, переездами);
укрепления откосов, водоотводов и обочин (рис. 36);
повышения долговечности и надежности работы балластной призмы и основной площадки, а также дренажных устройств (рис. 31);
противопучинной защиты земляного полотна (рис. 31, 36);
расширения области целесообразного применения местных пылеватых и связных грунтов;
ускорения обезвоживания штабелей намывного грунта, подготавливаемых к разработке в зимнее время;
ускорения стабилизации слабых и оттаивающих грунтов основания;
повышения темпов строительства и укладки верхнего строения пути в условиях дефицита балластных материалов.
2.137. Схемы размещения армирующих полотнищ геотекстилей выбирают по направлению наибольших растягивающих напряжений. На линейно-промежуточных участках земляного полотна, характеризуемых плоским напряженно-деформированным состоянием, рекомендуется поперечная схема размещения полотнищ без их скрепления друг с другом, внахлестку полотнищ на 0,2 м.
На участках с повышенной деформативностью грунтов оснований применяются схемы с защемлением краев полотнищ в мерзлом грунте.
2.138. При возведении насыпей высотой 1,5 - 3 м на слабых грунтах используют полотнища геотекстилей с разрывной прочностью не менее 3 МПа, определяемой по схеме испытаний на разрыв, защемленной в грунте мембраны (Бидим И-44, Дорнит Ф-2). При сооружении насыпей высотой более 4 м требуемые параметры прослоек геотекстиля следует определять с использованием алгоритмов ГФАП, например П-006591. Кроме того, можно применять поярусное размещение прослоек геотекстиля через 2 - 4 м по высоте насыпи (см. прил. 15).
2.139. Подтопляемые участки насыпи следует отсыпать из скальных, дресвяных или песчаных грунтов с содержанием фракций размером менее 0,1 мм и не более 30% или из талых глинистых грунтов с преобладанием каолинитовых и гидрослядистых минералов над монтмориллонитовыми.
2.140. В качестве волнозащитных устройств для насыпей при скоростях продольных течений не более размывающих допускается применять свободные пляжевые откосы с волнообразными продольными профилями, образующимися при свободном растекании гидросмеси при продольно-торцовых схемах намыва, а также с устройством баров с пологими откосами.
2.141. При проектировании волнозащитных откосов расчетные параметры волновых воздействий, определяемых по СНиП 2.08.04-82, допускается, определять за расчетный интервал времени, равный времени естественного зарастания пляжевых откосов растительностью, которой для районов кочковато-ерниковой тундры составляет 10 - 15 лет, для мохово-лишайниковой тундры - 25 - 30 лет, для арктического побережья - 100 лет.
2.142. Для ускорения зарастания пляжевых откосов необходимо выполнить работы по их биологическому закреплению с известкованием почв, внесением удобрений с засевом откосов дикорастущими травами. Ширину регуляционных дамб назначают не менее 3 м поверху.
2.143. У водопропускных труб и малых мостов бровка земляного полотна должна возвышаться над расчетным горизонтом воды с учетом подпора и высоты волны с набегом ее на откос не менее 1 м.
При высоте подтопления насыпей более 2 м следует применять бермы с откосами 1:3 - 1:4, укрепленными матами из геотекстиля или железобетонными плитами, уложенными по слою геотекстиля. Допускается устройство берм из привозного скального или валунно-галечного грунта.
Конструкции выемок в вечномерзлых грунтах
2.144. Выемки глубиной до 6 м в вечномерзлых грунтах III категории термопросадочности на ландшафтах со сливающейся мерзлотой следует проектировать с заменой грунта основной площадки на дренирующий на глубину по расчету; откосы следует покрывать торфом или пенопластом и суглинком толщиной 0,5 м с посевом дикорастущих трав. Поперечный уклон дна котлована следует назначать 0,01, а продольный - 0,005 - 0,01 (рис. 37). Выемки в грунтах IV категории термопросадочности не допускаются.

Рис. 37. Конструкция выемки глубиной до 6 м на вечномерзлых грунтах III категории термопросадочности с заменой на дренирующий грунт и термоизоляцией откосов пенопластом или торфом
1 - поверхность горизонта вечной мерзлоты до сооружения выемки; 2 - новообразованная поверхность мерзлоты; 3 - мохово-растительный слой; 4 - валик из грунта; 5 - пенопласт или торф по расчету; 6 - торфопесчаная смесь; 7 - дренирующий грунт, hз - глубина замены на дренирующий грунт
2.145. Выемки в вечномерзлых глинистых грунтах и пылеватых песках II категории термопросадочности, а также в галечниковых и гравийных грунтах с суглинистым и супесчаным заполнителями III категории термопросадочности следует проектировать по типовому профилю, приведенному на рис. 38, с заменой грунта на дренирующий и устройством закюветной полки шириной 1 м с уклоном 0,02 и укладкой на откосах слоя торфопесчаной смеси 0,15 - 0,20 м с посевом дикорастущих трав.

Рис. 38. Конструкция выемки глубиной до 6 м в вечномерзлых глинистых грунтах и песках пылеватых I и II категории термопросадочности, а также в гравийных грунтах с супесчаным заполнителем III категории термопросадочности, с заменой грунта на дренирующий
1 - поверхность горизонта вечной мерзлоты до постройки выемки; 2 - новообразованная поверхность мерзлоты; 3 - мохово-растительный слой; 4 - валик из грунта; 5 - торфопесчаная смесь; 6 - закюветная полка; 7 - дренирующий грунт; S - осадка основания земляного полотна
2.146. В выемках глубиной до 6 м, сооружаемых на уклоне местности менее 1:10 на сильноснегозаносимых участках, в вечномерзлых грунтах I и II категории термопросадочности, крутизну откосов следует принимать: при глубине выемки 1 - 3 м - 1:4, 3 - 5 м - 1:3.
В вечномерзлых грунтах III категории термопросадочности крутизну откосов выемок следует назначать на основании технико-экономического сравнения вариантов раскрытия выемок и устройства снегозащитных сооружений.
Водоотводы на вечномерзлых грунтах
2.147. Допускается устройство продольных водоотводных канав вдоль насыпей на расстоянии 5 - 10 м от их подошв на участках грунтов I и II категории термопросадочности и продольном уклоне местности не более 0,004 с обязательным укреплением их геотекстилем, прикрытым песчано-гравийной смесью.
В полосе трассы шириной 20 - 30 м в каждую сторону от оси участки с термокарстовыми озерами, котлованами, с залеганием повторно-жильных льдов, бугристо-западинного микрорельефа и др. должны быть засыпаны местным грунтом или торфогрунтовой смесью с уплотнением.
2.148. Откосы насыпей, сооружаемых из мелких или пылеватых песков на неподтопляемых участках, укрепляются слоем 0,1 - 0,3 м торфогрунтовой смеси: торфа - 30%, суглинка - 70%, или торфа - 40%, песка - 60%, или укрепляются обсыпкой скальным грунтом толщиной 0,5 м и более. При укреплении откосов насыпи скальным, щебенистым, гравийно-галечниковым грунтом толщину слоя торфогрунтовой смеси назначают не менее 0,3 м в зависимости от состояния и свойств грунтов, слагаемых откосы.
2.149. Откосы выемок в твердомерзлых грунтах следует покрывать защитным слоем талого, сыпучемерзлого или сухомерзлого песчаного грунта толщиной не менее 0,3 м с последующим закреплением торфогрунтовой смесью или геотекстилем.
При необходимости сооружения выемок в льдонасыщенных грунтах при коэффициенте льдистости более 0,4 следует проектировать замену их на сыпуче-мерзлые или талые пески на глубину сезонно-талого слоя (по расчету) с устройствами для регулирования положения верхней границы вечной мерзлоты под основной площадкой.
2.150. Для обеспечения снегонезаносимости откосы выемок должны иметь уклон 1:4 - 1:6 и быть защищены от термоэрозии слоем талого, сыпучемерзлого или сухомерзлого грунта толщиной не менее 0,2 м с последующим их закреплением посевом дикорастущих трав.
2.151. Для укрепления откосов и бровок насыпей и выемок, сложенных мелкими и пылеватыми песками или супесями, следует применять преимущественно геотекстиль, прикрытый сверху дренирующим грунтом или торфогрунтовой смесью, с последующим посевом дикорастущих трав.
2.152. Откосы насыпей на участках пересечения водотоков термокарстовых озер или при расчетной длине разгона волны более 0,5 км следует укреплять скальным грунтом или железобетонными плитами по слою геотекстиля (см. прил. 15).
2.153. При проектировании земляного полотна с заглубленным балластным слоем на грунтах III и IV категории термопросадочности следует предусматривать замену грунта на дренирующий с надежным отводом воды из корыта дороги в ливневую канализацию (см. рис. 36).
2.154. При проектировании земляного полотна вдоль наземных и подземных коммуникаций - нефтегазопроводов, водопровода, производственных стоков в трубах, а также вдоль берега водоемов следует предусматривать мероприятия по защите земляного полотна от переувлажнения и возможных деформаций.
2.155. Для отвода поверхностной воды от земляного полотна, устраиваемого в пределах площадки промышленного предприятия, а также при высоком стоянии подземных вод должны предусматриваться лотки с продольным уклоном дна 0,5 - 3% или трубчатые дрены (трубофильтры) диаметром не менее 150 мм. При среднемесячной температуре наружного воздуха наиболее холодного месяца ниже -15 1 С следует предусматривать утепленные лотки (рис. 35).
Земляное полотно с заглубленной балластной призмой
2.156. Земляное полотно путей с заглубленной балластной призмой на спланированной территории промышленных предприятий и на застроенных территориях проектируется при наличии ливневой канализации. При этом тип поперечного профиля выбирается в зависимости от системы водоотвода и требований по возвышению бровки земляного полотна над уровнем грунтовых вод.
2.157. В случае обводнения грунтов земляного полотна за счет утечки производственных и хозяйственных вод в грунт необходимо разрабатывать комплекс инженерных мероприятий по водоотводу:
организацию стока производственных и атмосферных вод;
понижение уровня грунтовых вод дренажами;
устройство мерозозащитных слоев из геотекстилей и других материалов, предотвращающих пучение грунтов основной площадки земляного полотна;
устройство прослоек из песка и геотекстиля;
замену пучинистого грунта верхней части земляного полотна на дренирующий.
2.158. Верх земляного полотна с заглубленной (полузаглубленной) балластной призмой следует устраивать с уклоном в сторону водоотводных канав, лотков. Поперечные профили земляного полотна показаны на рис. 39, 40.

Рис. 39. Конструкция земляного полотна на планируемой территории с заглубленной балластной призмой
1 - балластная призма; 2 - граница отвода земель; 3 - кювет; hб - толщина балластного слоя


Рис. 40. Конструкция земляного полотна на планируемой территории в разных уровнях
а - без подпорной стенки; б - с подпорной стенкой; 1 - балластная призма; 2 - граница отвода земель; 3 - подпорная стенка; 4 - кювет; hб - толщина балластного слоя
2.159. При недренирующих грунтах земляное полотно, сооружаемое во II и III дорожно-климатической зоне при всех типах увлажнения; а в IV зоне при 2- и 3-м типах увлажнения (табл. 2) должны быть приняты меры по отводу воды из "корыта" с помощью дренажей и лотков (рис. 41).

Рис. 41. Конструкции земляного полотна с заглубленной балластной призмой в недренирующих грунтах
а - с отводом воды продольной трубчатой дреной и с вариантом углубленного ровика; б - с отводом воды продольным лотком; 1 - трубчатый дренаж; 2 - то же, в месте выпуска его на поверхность; 3 - железобетонный лоток; hб - толщина балластного слоя
2.160. Толщину балластного слоя под шпалой на путях с заглубленной и полузаглубленной балластной призмой назначают по указаниям СНиП 2.05.07-85, п. 2.72. Методика расчета толщины балластного слоя под шпалой при заглубленной балластной призме дана в прил. 12 настоящего Пособия.
2.161. Верх земляного полотна из дренирующих грунтов с коэффициентом фильтрации более 1 м/сут назначается горизонтальным, дренажи не устраиваются. При этом возвышение бровок основной площадки над уровнем грунтовых вод не должно определяться по табл. 3. В случае невозможности соблюдения этого условия, а также при тугопластичных и мягкопластичных грунтах, имеющих показатель консистенции более 0,25, следует разрабатывать мероприятия по осушению земляного полотна устройством дренажей глубокого заложения, изолирующих и водонепроницаемых прослоек, заменой грунта на дренирующий, имеющий коэффициент фильтрации для путей с открытой и полузаглубленной балластной призмой не менее 1 м/сут, а с заглубленной - 2 м/сут.
2.162. В случае сопряжения основных площадок земляного полотна, расположенных в разных уровнях с разностью отметок головок рельсов соседних путей до 15 см, уступ в земляном полотне не делается (рис. 41, в). Сопряжение земляного полотна подкрановых путей с железнодорожным показаны на рис. 42, а расстояния определяются по ГОСТ 9238-73. Сброс воды с площадки на путь не допускается.
