Спортивные сооружения (к СНиП 2.08.02-89), часть 2
Линия финиша в беге принимается, как правило, общей для всех дистанций и размещается в месте сопряжения прямого отрезка с поворотом.
На дорожке для бега по кругу при соревнованиях размещаются не менее четырех и не более шести отдельных дорожек шириной от 0,9 до 1,1 м каждая. В залах, предназначаемых только для учебно-тренировочных занятий, число отдельных дорожек для бега по кругу может быть сокращено до двух.
По наружной границе дорожки для бега по кругу на виражах устанавливается ограждение высотой 1,1 м из фанеры, досок или оргстекла. Поверхность ограждения, обращенная к дорожке, гладкая, без выступов или щелей.
Пропускная способность дорожки для бега по кругу принимается из расчета 8 чел/смену на каждую отдельную дорожку при ее длине 200 и 6 чел/смену при меньшей длине.
3.18. Длина дорожки для бега по прямой состоит из длины собственно дистанции бега, пространства до линии старта (длиной, как правило, 3 м, но не менее 1,5 м) и пространства после линии финиша (длиной не менее 15 м). В последнем случае при невозможности обеспечить требуемое пространство после финиша рекомендуется предусматривать устройство мягких упоров (например, обивка стены на этом участке матами), гарантирующих безопасность для занимающихся.
Для бега по прямой дорожка предусматривается, как правило, исходя из дистанции 60 м. При возможности предусматривают дорожку для бега на дистанции 100 и 110 м.
На дорожке для бега по прямой на соревнованиях размещаются не менее шести и не более восьми отдельных дорожек шириной 1,25 м каждая.
Дорожку для бега по прямой можно размещать снаружи контура дорожки для бега по кругу или внутри его. Однако желательно размещать ее снаружи контура дорожки для бега по кругу, что позволяет пользование ею как при соревнованиях, так и при учебно-тренировочных занятиях, независимо от использования и расположения мест для легкоатлетических прыжков и толкания ядра.
При расположении дорожки для бега по прямой внутри контура дорожки для бега по кругу она может использоваться только во время соревнований, а длина ее должна предусматривать проведение бега только на дистанции до 60 м (при длине круговой дорожки 200 м) или 50 м (при длине круговой дорожки 166,67 м). Для возможности проведения учебно-тренировочных занятий в беге по прямой в этих случаях рекомендуется дополнительно предусматривать дорожку для бега по прямой, которая может быть вынесена за пределы пролета зала, число отдельных дорожек на ней может быть уменьшено до двух-трех, а высота потолка снижена до 4 м.
Линия финиша бега по прямой в залах для легкой атлетики со стационарными трибунами размещается, как правило, на продолжении линии финиша в беге по кругу, что позволяет из судейской ложи (см. п. 3.48 и рис. 9) принимать всех бегунов, не переходя от одной линии финиша к другой. При реконструкции существующих помещений и предназначении их для соревнований ниже республиканского масштаба или только для учебно-тренировочных занятий допускаются, по согласованию с соответствующими комитетами по физической культуре и спорту, отдельные отступления от приведенных выше параметров беговых дорожек.
Пропускная способность дорожки для бега по прямой (независимо от длины дистанции) определяется из расчета 4 чел/смену на каждую отдельную дорожку.
Общая пропускная способность в смену залов для легкой атлетики принимается как сумма пропускной способности беговых дорожек для бега по прямой, по кругу и мест для отдельных видов легкой атлетики, не совмещающихся друг с другом и могущих использоваться одновременно.
Примеры схем планов залов для легкой атлетики приведены в прил. 5.
3.19. В составе зданий спортивно-демонстрационных залов для легкой атлетики для разминки перед соревнованиями предусматривается, как правило, помещение шириной не менее 6 м (в строительных осях), высотой не менее 4 м и длиной, как правило, равной длине зала, но не менее 78 м. Это помещение размещается в удобной связи с раздевальными для соревнующихся и с ареной.
3.20. Полы в спортивных залах в зависимости от назначения последних по виду спорта могут быть деревянными или иметь синтетическое покрытие.
Если основание пола устраивается на грунте, то предусматриваются полное удаление растительного слоя и мероприятия для исключения деформаций в виде просадок и выпучиваний, а также капиллярного подсоса влаги под покрытия.
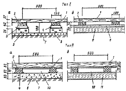
3.21. Деревянные полы рекомендуется устраивать, как правило, во всех спортивных залах (кроме залов для легкой атлетики и футбола) и предусматривать двух типов: I — из доски толщиной 37 мм (в острожке) и II — из бруска сечением 60´ 60 мм. Полы типа II могут выполняться из двух слоев с прокладкой между слоями бумаги или пергамина.
Конструкции пола с деревянным покрытием тип I и II приведены на рис. 4.
Рис. 4. Схемы конструкций деревянных полов (размеры в миллиметрах) Тип I — дощатый; тип II — из бруска
а — на грунте; б — на перекрытии
1 — деревянное покрытие; 2 — лага; 3 — прокладка длиной 200—250 мм; 4 — два слоя толя; 5 — кирпичный столбик на цементно-песчаном растворе; 6 — подстилающий слой; 7 — грунт основания; 8 — выравнивающая цементно-песчаная стяжка; 9 — плита перекрытия с неровной поверхностью; 10 — связи между лагами; 11 — плита перекрытия с тонкой поверхностью
П р и м е ч а н и е. Пролет лаг (расстояние между осями столбиков) при устройстве полов типа I «а» принимается 0,8-0,9 м
Деревянные полы II типа предусматриваются в залах для спортивной гимнастики в связи с тем, что:
типовые закладные детали для крепления гимнастических снарядов крепятся в полу с помощью шурупов длиной 50 мм, и надежность крепления обеспечивается, если шурупы полностью находятся в теле покрытия пола;
при занятиях на гимнастических снарядах пол зала (через закладные детали) испытывает большие усилия в местах крепления снарядов, поэтому между лагами предусматриваются связи, устанавливаемые в шахматном порядке с шагом 2,5 м.
При устройстве деревянных полов следует иметь в виду следующее:
а) доски и бруски выбирают с возможно меньшим количеством сучков, удаление которых необходимо осуществлять высверливанием их и закладкой деревянных пробок;
б) доски и бруски укладывают вдоль зала, а их стыки устраивают вразбежку и опирают на лаги;
в) крепят доски (бруски) к лагам гвоздями и обязательно косым забоем.
В тех случаях, когда зал располагается на втором этаже и под ним находятся вспомогательные помещения с постоянным пребыванием людей в них, рекомендуется предусматривать звукоизоляцию.
В частности, устраивать под лагами пола звукоизоляционные ленточные прокладки (рис. 5):
минераловатные маты толщиной 40—50 мм прошитые в бумаге;
минераловатные маты толщиной 30—40 мм на синтетической связке;
простеганные стекловолокнистые маты толщиной 30—40 мм;
минеральные и стекловолокнистые плиты толщиной 40—50 мм на синтетической связке;
древесно-волокнистые изоляционные плиты толщиной 16—20 мм.
Рис. 5. Схема конструкции дощатого пола с устройством звукоизоляции (размеры в миллиметрах)
1 — деревянное покрытие; 2 — лага; 3 — звукоизоляционные прокладки; 4 — выравнивающая цементно-песчаная стяжка; 5 — плита перекрытия с неровной поверхностью
3.22. К синтетическим покрытиям, применяемым для полов спортивных залов, относятся рекомендованные Госкомспортом СССР и допущенные органами Минздрава СССР:
резиноподобные материалы заводского изготовления типа «Рездор», «Арман», «Олимпия» и другие, выпускаемые в виде плит или листов толщиной не менее 13 мм;
типа «Регупол», выпускаемого в виде рулонов шириной 1,25 м и длиной до 40—45 м;
наливные самоотверждающиеся типа «Тартан», на основе полиуретана и жидких каучуков холодного отверждения.
Конструкция пола с синтетическим покрытием приведена на рис. 6.
Рис.
6. Схема конструкции пола с синтетическим покрытием
(размеры в
миллиметрах)
а — на грунте; б — на перекрытии
1 — синтетическое покрытие; 2 — мелкозернистый асфальтобетон; 3 — крупнозернистый асфальтобетон (биндер); 4 — щебеночное основание; 5 — грунт основания; 6 — стяжка из цементно-песчаного раствора; 7 — плита перекрытия с ровной поверхностью
Синтетические покрытия выполняются в один или два слоя по бетонному или асфальтобетонному основанию.
В залах для легкой атлетики наиболее целесообразно применять или резиноподобные материалы, или двухслойные покрытия с верхним наливным слоем общей толщиной 16 мм; при этом, в местах отталкивания в прыжках в высоту, с шестом и в тройном прыжке рекомендуется наливное покрытие устраивать на всю толщину. В секторе для приземления ядра укладывают резиноподобные материалы толщиной не менее 30 мм. На стационарных бетонных виражах дорожки для бега по кругу по поверхности бетона предусматривается устройство наливного самоотверждающегося покрытия. При съемных виражах (или их части) покрытие наносится на деревянные щиты, укладываемые на металлический каркас.
В залах для футбола рекомендуется покрытие из синтетической травы, однако могут применяться и двухслойные покрытия, применяемые для легкой атлетики.
Синтетические покрытия могут применять и в других спортивных залах. Для них рекомендуется двухслойное покрытие из регупола с верхним наливным слоем.
Резиноподобные материалы выпускаются многими заводами резинотехнических изделий. Укладка их и наливных самоотверждающихся покрытий выполняется централизованно специализированными организациями системы Госкомспорта СССР.
3.23. Закладные детали для крепления оборудования, врезаемые в полы залов, устанавливают заподлицо с поверхностью пола.
3.24. В залах для легкой атлетики для приземления в прыжках в длину и тройном прыжке в полу предусматривается яма (ямы) с песком, поверхность которого предусматривается на одном уровне с поверхностью дорожки для разбега; в полу залов для спортивной гимнастики у гимнастических снарядов предусматриваются ямы для приземления с мягким наполнителем. В универсальных залах для спортивной гимнастики и спортивных игр, а также при вынужденном размещении зала для спортивной гимнастики не на первом этаже ямы у гимнастических снарядов могут не предусматриваться.
Размеры ям для приземления в прыжках в длину и тройном прыжке приведены на рис. 1 прил. 5. Размеры ям у гимнастических снарядов следующие: под перекладиной и под женскими брусьями — 11—12 м в длину и 2,5—3 м в ширину; для опорных прыжков — длиной 5 м и шириной 2,5—3 м. Глубина ям — 1,1—1,5 м. Возможно устройство ямы под батутом. В этом случае сетка батута располагается на отметке пола зала. Длина ямы под батутом 5,53, ширина 3,23 м, глубина принимается равной высоте конструкции батута. Ямы закрывают щитами заподлицо с полом зала, а в открытом виде их края обкладывают съемными мягкими бортами. В качестве мягкого заполнителя в ямах у гимнастических снарядов применяют, как правило, обрезки поролона.
3.25. Проектирование универсальных залов для учебно-тренировочных занятий по спортивной гимнастике попеременно со спортивными играми не рекомендуется. При необходимости такого сочетания (исходя из плана, приведенного на рис. 1 прил. 3) для вольных гимнастических упражнений вместо настила предусматривается ковер, гимнастические стенки устанавливаются в основном на продольных стенах зала, число канатов для лазания, предусматриваемых как для гимнастов, так и для игровиков, не суммируется и они устанавливаются в одном и том же месте, батут (переносной, складной) предусматривается напольным (а не в яме), а зеркала либо не предусматриваются вообще, либо надежно защищаются от удара мяча. Кроме того, площадь инвентарной принимается исходя из необходимости полного освобождения площади зала от гимнастического оборудования во время занятий по спортивным играм.
3.26. В залах для спортивных игр с мячом на окнах и осветительных приборах предусматриваются защитные устройства.
3.27. В залах для спортивных игр (в том числе универсальных) внутренняя поверхность стен на высоту не менее 1,8 м предусматривается вертикальной без выступов или ниш. Если все же в пределах этой высоты конструкции выступают из плоскости стен, то между ними рекомендуется размещать спортивное оборудование (гимнастические стенки и т.п.) или приборы отопления так, чтобы их поверхность, обращенная в зал, была бы заподлицо с поверхностью этих конструкций; или между выступающими из плоскости стен конструкциями (пилястрами, колоннами) предусматриваются экраны на высоту не менее 1,8 м, защищающие занимающихся от возможных травм.
Конструкция экранов на отопительных приборах выполняется так, чтобы не снижать функциональных качеств отопительной системы.
Наличники дверей залов для спортивных игр выполняются заподлицо со стенкой зала.
3.28. Стены и потолки спортивных залов окрашивают в светлые тона, а материал стен и их окраску предусматривают такими, чтобы можно было проводить влажную уборку; в залах для спортивных игр стены и потолок, кроме того, предусматриваются устойчивыми к ударам мяча.
Допускается отделка стен облицовочным кирпичом с расшивкой швов вовнутрь.
3.29. В спортивных залах для учебно-тренировочных занятий, встроенных в здания другого назначения или в подтрибунное пространство, или собираемых из легких металлических конструкций, допускается наличие колонн, если в соответствии с расстановкой технологического оборудования и разметкой они оказываются в нерабочих зонах и при соблюдении зон безопасности.
Катки с искусственным льдом
3.30. Крытые катки с искусственным льдом предусматриваются, как правило, универсальными — для попеременного использования по хоккею и фигурному катанию на коньках.
3.31. В составе зданий спортивно-демонстрационных, спортивно-зрелищных и учебно-тренировочных катков для обеспечения учебно-тренировочного процесса предусматриваются общие для здания помещения для индивидуальной силовой и акробатической подготовки размером 12´ 6 м, высотой не менее 3 и 6 м соответственно и один хореографический класс размером 12´ 12 м (в плане), высотой не менее 4,8 м. Для возможности автономного его использования при нем предусматриваются отдельные раздевальные (с душевыми и уборными при них), исходя из пропускной способности класса 30 чел/смену. Примерные схемы плана расстановки оборудования в помещениях для индивидуальной, силовой и акробатической подготовки и в хореографическом классе приведены на рис. 7, 8 и 9 прил. 3.
П р и м е ч а н и е. При размещении батутного полотна на уровне пола помещения высота помещения может быть уменьшена до 5 м.
3.32. При вместимости спортивно-демонстрационного или спортивно-зрелищного катка более 2 тыс. зрителей (не считая мест в партере) рекомендуется дополнительно предусматривать устройство крытого катка для учебно-тренировочных занятий по фигурному катанию на коньках и хоккею с размером рабочей площади льда 61´ 30 м. Для автономной работы этого катка при нем предусматриваются отдельные раздевальные (с душевыми и уборными при них) исходя из пропускной способности в смену, приведенной в табл. 1.
При наличии учебно-тренировочного катка расположение помещений для индивидуальной силовой и акробатической подготовки, а также хореографического класса рекомендуется в удобной связи с учебно-тренировочным катком.
3.33. Для выступления балета на льду размер ледяной площадки принимается 45´ 24 м. Эта площадка может располагаться как вдоль арены для хоккея, так и поперек нее (симметрично короткой оси). В последнем случае за пределами площади поля для хоккея вплотную к нему предусматривается дополнительная ледяная площадка длиной 24 м (по 12 м в обе стороны от короткой оси арены) и шириной 15 м (см. рис. 3,б прил. 2). Такой вариант создает при односторонней или серповидной трибуне наилучшие (фронтальные) условия наблюдения за представлением. Кроме того, когда нет выступлений балета, дополнительная площадка (24´ 15 м) может автономно использоваться для занятий фигуристов по отработке отдельных элементов с пропускной способностью, определяемой исходя из 25 м2 площади льда на одного занимающегося.
3.34. В зданиях крытых катков с искусственным льдом, предназначаемых для фигурного катания на коньках (в том числе универсальных), рекомендуется дополнительно предусматривать учебную ледяную площадку размером 30´ 20 м для отработки отдельных элементов фигурного катания. В спортивно-зрелищных катках, в которых площадка для выступлений на льду располагается поперек поля для хоккея, учебная площадка для фигурного катания не предусматривается.
3.35. Схема конструкции охлаждающей плиты и основания под ней на крытых катках с искусственным льдом приведена на рис. 7.
Рис. 7. Схема конструкции охлаждающей плиты и основания под ней
1 — охлаждающая плита с забетонированными в нее холодильными трубами; 2 — защитная цементная стяжка; 3 — слой скольжения; 4 — выравнивающая цементная стяжка; 5 — слой гидроизоляции; 6 — слой теплоизоляции; 7 — слой гидроизоляции; 8 — выравнивающая цементная стяжка; 9 — железобетонная плита; 10 — подстилающий грунт
Охлаждающая плита выполняется из морозостойкого бетона марки F 75 и класса по прочности на сжатие В 12,5. Толщина плиты — не более 140 мм.
Укладка охлаждающей плиты на просадочные или пучинистые грунты не допускается.
Для циркуляции хладоносителя применяются цельнотянутые трубы. Толщина защитного слоя бетона над трубами до поверхности плиты — 30 мм. Сечение труб и расстояние между ними определяются по расчету.
Слой скольжения состоит из защитных ограждений (рубероид, алюминиевая фольга, листовой поливинилхлорид) и помещенного между ними слоя (толщиной около 5 мм) из материалов, обладающих малым коэффициентом трения (порошкообразный графит, тальк, графитомасляная эмульсия).
Слой теплоизоляции определяется по расчету на теплопроводность и прочность.
Пересечение конструкции охлаждающей плиты инженерными коммуникациями (кроме холодильных труб) не допускается.
Для обеспечения одинаковой толщины льда охлаждающая плита выполняется горизонтальной, а ее поверхность ровной (зазор между рейкой длиной 3 м и поверхностью плиты в любой ее точке не более 5 мм).
За пределами размеров рабочей поверхности поля для игры в хоккей (61´ 30 м) может предусматриваться полоса льда для крепления бортов. Необходимость предусматривать полосу и ее ширина определяются в зависимости от выбранного типа бортов*.
* Центральным институтом типового проектирования распространяется типовой проект различных типов хоккейных бортов 319-М.
3.36. За пределами охлаждающей плиты в крытых катках устраиваются каналы для отвода воды от таяния льда. В спортивно-демонстрационных и спортивно-зрелищных крытых катках ширина канала принимается не менее 0,7 м; а объем — не менее 45 м3 . В случаях когда в канале предусмотрено устройство для ускорения растапливания льда, объем канала может быть уменьшен. Каналы перекрываются съемными щитами заподлицо с полом.
Каналы для отвода воды от таяния льда рекомендуется устраивать со сторон охлаждающей плиты, свободных от коллекторов системы холодоснабжения. В катках, предназначаемых только для учебно-тренировочных занятий, ширина и объем канала не регламентируются.
Места для зрителей
3.37. В сооружениях, предназначаемых для проведения соревнований, предусматриваются места для зрителей в виде трибун или балконов, а в спортивно-зрелищных залах и катках — и в виде партера.
3.38. Трибуны для зрителей проектируются, как правило, в стационарных конструкциях с местами для сидения; в отдельных случаях применяются трансформируемые или сборно-разборные трибуны. За последние годы в практике спортивного строительства сборно-разборные трибуны применяются крайне редко, так как их сборка и разборка трудоемки и требуют, кроме того, значительных площадей для складирования. Исходя из вышеизложенного может быть рекомендовано применение следующих типов трансформируемых трибун:
бличеры — трибуны, состоящие из раздвигающихся секций телескопического типа;
трибуны типа партер-трибуна.
Оба вида таких трибун имеют ограниченное число рядов (как правило, в пределах 8—10 для сидения), и их применение в каждом отдельном случае определяется конкретным характером их использования.
Трибуна-бличер, в виде выдвигающихся секций, имеет строго фиксированное местоположение (прикрепляется к стенам зала или к стационарной трибуне с поднятым над ареной первым рядом) и поэтому может иметь ограниченное применение. Путем выдвижения различного числа отдельных секций возможно изменять вместимость этой трибуны, что может иметь практическое значение при эксплуатации сооружения.
Партер-трибуна имеет большое преимущество по сравнению с бличерами, так как она смонтирована на передвижной платформе, легко может перемещаться в любом направлении по арене, обеспечивая требуемую проектом ее трансформацию, В связи с изменяющимся углом наклона партер-трибуна может использоваться как обычный плоский партер, что очень важно при трансформации арены для проведения культурно-зрелищных и общественных мероприятий (митинг, концерт и др.), когда необходимо наличие партера.
3.39. Зонирование расположения зрительских мест на трибунах и построение профиля трибуны, а также определение местоположения наблюдаемой точки (фокуса) в зависимости от назначения зала по виду (видам) спорта приведены в прил. 6.
3.40. Для обеспечения зрительного восприятия происходящего на арене при расположении зрительских мест на балконе рекомендуется размещать на нем один ряд мест для сидения и один - для стояния из расчета 9 зрителей на 2 м балкона. Балкон устраивается, как правило, вдоль продольных стен зала и желательно так, чтобы проекция балкона оказывалась за пределами арены; балкон не должен также мешать размещению под ним спортивного оборудования.
3.41. Места для зрителей располагаются за пределами арены и эвакуационного прохода вдоль рядов зрительских мест (если эвакуация предусматривается по проходу перед первым рядом).
Трибуны для зрителей располагаются, как правило, по продольным сторонам спортивных арен; расположение трибун у торцовых сторон арены предусматривается в случаях, когда заданное число зрительских мест не может быть размещено в пределах расстояний, допустимых по видимости (см. табл. 2 прил. 6), у продольных сторон арены.
В спортивно-демонстрационных и спортивно-зрелищных залах и катках для проведения на арене мероприятий, не использующих всю площадь арены, допускается предусматривать размещение временных мест (бличеров, партер-трибуны и партера) для зрителей непосредственно на спортивной арене.
3.42. Размеры мест на трибунах:
глубина ряда на стационарных трибунах 0,8-0,9 м (на бличерах допускается уменьшать до 0,75 м);
ширина места для сидения — 0,45 м;
глубина сидения на стационарных трибунах — 0,4 м (на бличерах допускается уменьшать до 0,35 м);
высота сидения над уровнем пола прохода — 0,43 м.
3.43. Расчетное число зрительских мест в универсальных спортивно-зрелищных залах с устройством партера определяется как сумма мест в партере и на трибунах за вычетом мест. расположенных за пределами горизонтального угла 120° с вершиной на середине дальней стороны эстрады и на удалении от нее более 40 м. В табл. 2 приведены данные о «потере» мест на трибунах различной конфигурации при аренах наиболее распространенных размеров и при размерах эстрады, приведенных в п. 3.8. В иных случаях определение «потерь» осуществляется руководствуясь приведенными выше величинами удаления и горизонтального угла. Если «потери» зрительских мест на трибунах при проведении эстрадных концертов и установке партера превышают принятую вместимость партера, расчет вспомогательных помещении для зрителей ведется в проекте исходя из суммарной вместимости всех трибун, но без учета вместимости партера.
Таблица 2
|
Схема зала |
Вместимость зала, чел. |
Процент «потерь» мест на трибуне |
|
|
2700 1200 |
10 0
|
|
|
5500 2400 |
30 20
|
|
|
8600 3700 |
50 35
|
|
|
5800 2500 |
40 15
|
|
|
11700 5100 |
55 50
|
П р и м е ч а н и е. Над чертой приведены данные для залов с ареной размером 65´ 36 м2 , под чертой — с ареной 48´ 26 м. a — максимально допустимый горизонтальный угол, в пределах которого должны располагаться зрительские места. R — максимально допустимое удаление зрительских мест. 1 — трибуны; 2 — партер; 3 — эстрада; 4 — «потерянные» места.
3.44. Зрительские места на трибуне разделяются на блоки, по границам которых устанавливаются стационарные, как правило, металлические ограждения; высота ограждения вдоль рядов зрительских мест принимается исходя из условий видимости, а у ограждений, устанавливаемых у боковых границ блоков (поперек рядов трибуны), — 0,9-1,0 м.
3.45. На трибунах, пол первого ряда которых расположен выше поверхности арены более чем на 0,25 м, вдоль прохода этого ряда предусматривается устройство ограждения высотой не менее 0,8 м. В этом случае для удобства движения зрителей вдоль первого ряда рекомендуется увеличивать ширину прохода за счет увеличения глубины этого ряда до 1,1 м.
По верху и по торцам трибун, если они не примыкают к стенам спортивного зала (катка), предусматриваются ограждения высотой не менее 1,2 м.
3.46. При разнице уровня пола смежных рядов трибуны 0,3 м и более у сидений предусматривается устройство спинок, возвышающихся над полом вышерасположенного смежного ряда не менее чем на 0,12 м.
3.47. Конструкцию сидений на трибунах рекомендуется принимать консольного типа с покрытием деревом или пластмассой. Наиболее распространенный тип сидений — в виде скамьи (в том числе со спинкой). В связи с тем, что отечественная промышленность освоила изготовление штампованных пластмассовых сидений в виде отдельных кресел (без подлокотников)*, возможно их применение, так как при этом достигается больший комфорт для зрителей.
* Сидения изготавливает завод «Карболит» в г. Орехово-Зуеве.
Применение сидений в виде кресел с подлокотниками не рекомендуется.
3.48. На стационарных трибунах и в партере спортивно-демонстрационных и спортивно-зрелищных залов и крытых катков предусматриваются места для инвалидов, передвигающихся на креслах-колясках, а при предназначении этих сооружений для соревнований республиканского и более высокого масштаба на трибунах предусматриваются, как правило, также и места для представителей прессы (ложа прессы), с которых обеспечивается хороший обзор арены.
В спортивных залах для легкой атлетики со стационарными трибунами предусматриваются места для судей (судейская ложа), размещаемые в районе общего финиша беговых дистанций.
Ложа для судей но легкой атлетике (рис. 8) ограждается, как правило, стационарным барьером, отделяющим ее от мест для зрителей. Она должна иметь связь с ареной и по возможности обособленные выходы в подтрибунное пространство.


Рис. 8. Схема
ложи для судей по легкой атлетике на трибуне
и помещений при ней
(размеры в метрах)
1 — судьи по информации; 2 — фотофиниш; 3 — фотолаборатория (проявочный шкаф); 4 — пульт управления табло; 5 — аппаратура музыкального сопровождения; 6 — главная судейская коллегия; (1-6 — помещения при ложе судей); 7 — места для зрителей на трибуне; 8 —ограждение; 9 — арена; 10 — финишный створ; 11 — ложа прессы; 12 — проход-лестница; 13 — судейская ложа; 14 — середина расстояния между финишными стойками; 15 — камера фотофиниша; 16 — поверхность беговой дорожки; 17 — финишные стойки
Число рядов трибуны, отводимых под судейскую ложу, на 2—3 ряда превышает число отдельных дорожек для бега по прямой. Первый (ближайший к арене) ряд мест в ложе рекомендуется располагать на расстоянии не менее 5 м от ближайшей к трибуне финишной стойки.
Места для инвалидов предусматриваются в первом ряду трибуны (партера), при этом в той части ряда, где расположены места для инвалидов, сидения не устраиваются, а их роль выполняют кресла-коляски. Ширина подъезда инвалидов к своим местам принимается не менее 0,9 м, а при необходимости поворота кресла-коляски на 90° — не менее 1,1 м. Размер каждого места принимается исходя из ширины 0,9 и длины 1,4 м.
На спортивно-демонстрационных сооружениях для легкой атлетики, предназначаемых для соревнований всесоюзного и более высокого масштаба, непосредственно при ложе для судей (т.е. практически в составе трибуны) рекомендуется предусматривать помещения, показанные на рис. 9. Фронт этих помещений, обращенный к арене, остекляется, имеет форточки или раздвижные стекла для непосредственного общения с судьями, находящимися в ложе, и обеспечивает обзор арены.
Рис. 9. Схема
контрастной ванны при бане сухого жара
(размеры в метрах)
1 - труба, подающая воду в ванну; 2 - обходная дорожка; 3 - уровень воды в ванне
При устройстве ложи для прессы на сооружениях, где предусмотрена ложа для судей по легкой атлетике, рекомендуется ложу для прессы располагать смежно (сбоку) на расстоянии не менее 2,5 м за финишным створом. На других сооружениях ложу прессы рекомендуется выделять на участке трибуны по короткой оси арены.
Число мест в ложах для судей и прессы, а также мест для инвалидов определяется заданием на проектирование; при этом число мест для инвалидов принимается из расчета одно место на каждые 300 зрительских мест на сооружении, но не менее четырех.
ВСПОМОГАТЕЛЬНЫЕ ПОМЕЩЕНИЯ
3.49. При проектировании ВЕСТИБЮЛЕЙ в зданиях спортивных корпусов или крытых катков с искусственным льдом их площадь определяется из расчета 0,5 м2 на одного занимающегося в смену (но не менее 20 м2 ) и 0,25 м2 на одно зрительское место.
В зданиях спортивно-демонстрационных и спортивно-зрелищных залов и катков рекомендуется вестибюли для занимающихся (соревнующихся) и для зрителей устраивать отдельно друг от друга. В зданиях остальных спортивных залов (катков) вестибюль предусматривается, как правило, общим для занимающихся и зрителей.
При общем вестибюле в спортивном корпусе с одним залом для определения площади вестибюля расчетные площади вестибюля для занимающихся и зрителей не суммируются, а принимается одна, наибольшая из полученных по расчету.
В спортивном корпусе с двумя и более залами (катками), из которых места для зрителей предусматриваются только в одном, площадь общего вестибюля определяется сложением площади, рассчитанной исходя из общего числа занимающихся в смену во всех залах (катках) с площадью вестибюля для зрителей; в спортивных корпусах с местами для зрителей в нескольких залах (катках) в расчет площади вестибюля для зрителей принимается зал с наибольшим числом зрительских мест.
В тех случаях, когда в зале имеются стационарные места (трибуны) и временные (партер), то расчетное число зрителей в этом случае определяется исходя не из суммарного числа стационарных и временных мест, а в соответствии со схемами трансформации зала и зрительских мест (см. табл. 2); при этом временные места для проведения соревнований по боксу, а также для собраний и митингов в расчет не принимаются.










