Спортивные сооружения (к СНиП 2.08.02-89), часть 9
5. Руководствуясь требованиями п. 2 и табл. 1 разд. 4 настоящего приложения, определяем, что ширина выхода в лестничные клетки № 1 и № 2 должна быть 278 : 337 = 0,81 м, но так как она не может быть менее 1,2 м, то принимаем 1,2 м.
Ширина маршей в лестничных клетках должна быть не менее 1,35 м.
Ширина марша открытой лестницы в соответствии с требованиями табл. 2 разд. 4 настоящего приложения должна быть 593 : 219 = 2,7.
6. Исходя из приведенной на рис. 17 схемы, из люков 6—11 к каждому из выходов из здания наружу направляется по 586 чел. (186 + 200 + 200).
7. Определяем число эвакуирующихся с верхнего уровня через наружные выходы № 1 и № 2.
К выходу № 1 направляются зрители из лестничной клетки № 1 и половина выходящих по открытой лестнице, что составляет 575 чел. (278 + 297), столько же направятся и к выходу № 2.
8. Суммарное число эвакуирующихся через каждый выход из здания составляет по 1161 чел. (586 + 575).
9. Ширина наружных выходов, определяемая по табл. 3 разд. 4 настоящего приложения, составит по 3,87 м (1161 : 300).
10. Определяем максимальную протяженность пути эвакуации зрителей за пределами зала. Она слагается из пути по фойе из люка 2 до лестничной клетки № 1, пути по лестнице вниз и пути из лестничной клетки № 1 по вестибюлю-фойе первого этажа до наружного выхода № 1.
l 1 = 15,2 м - на втором этаже, l 2 = 8 м - на первом этаже, l лест = 40,6 м (5,2´ 7,8) - см. п. 4 разд. 4 настоящего приложения.
Таким образом, общая длина пути составляет 63,8 м (15,2 + 40,6 + 8); при сравнении этой длины с максимально допустимой (см. п. 4 разд. 4 настоящего приложения) 70 (6 - 3,6) = 168 м она оказывается более чем в 2,6 раза меньше.
Исходя из скорости движения 70 м/мин, путь длиной 63,8 м будет преодолен за 0,9 мин вместо допустимых 2,4 мин. (6 — 3,6).
Приложение 8
ПРИМЕРЫ СХЕМ ПЛАНОВ РАССТАНОВКИ ОБОРУДОВАНИЯ В ПОМЕЩЕНИЯХ ДЛЯ ФИЗКУЛЬТУРНО-ОЗДОРОВИТЕЛЬНЫХ ЗАНЯТИЙ
На рис. 1—6 приведены примеры схем планов помещений для различных видов физкультурно-оздоровительных занятий с расстановкой необходимого оборудования.
В помещениях размерами 24´ 12 м и 18´ 12 м (см. рис. 1) проведение общеразвивающих упражнений предусматривается осуществлять на свободном от гимнастического оборудования пространстве с использованием тренажеров и гимнастических стенок.
В помещениях для групповых занятий элементами борьбы (см. рис. 2) стены, примыкающие к уложенным на полу матам, должны иметь мягкую обивку.
Для занятий ритмической гимнастикой, хореографией и женской оздоровительной гимнастикой наилучшим является помещение размером 12´ 12 м, приведенное на рис. 9 прил. 3 настоящего Пособия. На рис. 3 настоящего приложения приведен план помещения для этих занятий минимального размера. Помост для тренера может предусматриваться переносным или пристенным (откидным), а зеркала и хореографические станки устанавливаются стационарно.
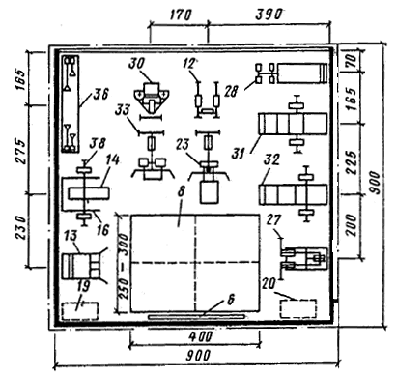
На рис. 4—6 приведены схемы планов расстановки оборудования в помещениях с тренажерами для развития различных физических качеств. При этом на рис. 5 и 6 в одинаковых по размеру помещениях установлены различные по составу тренажеры.


Рис.
1. Схемы планов помещений размерами 24´
12
м и 18´
12 м
для групповых
занятий по общей физической подготовке на пристенном трансформируемом
гимнастическом оборудовании и тренажерах (размеры в сантиметрах)


Рис.
2. Схемы планов помещений размерами 15´
9
м и 12´
9 м
для групповых
занятий элементами борьбы (размеры в сантиметрах)

Рис. 3. Схема плана помещения размером 9´ 9 м для групповых занятий по ритмической гимнастике, хореографии и женской оздоровительной гимнастике (размеры в сантиметрах)

Рис.
4. Планы помещений размерами 12´
12
м и 12´
9 м с расстановкой
в
них тренажеров (размеры в сантиметрах)

Рис 5.
План помещения размером 9´
9 м
с расстановкой в нем
тренажеров (размеры в сантиметрах)

Рис.
6. План помещения размером 9´
9
м с расстановкой в нем
тренажеров из набора КАП-2 (размеры в
сантиметрах)
Таблица-экспликация оборудования (к рис. 1-6 прил. 8)
|
Экспликационный номер |
Наименование оборудования |
|
1 |
2 |
|
1. |
Бревно-тренажер гимнастическое для групповых занятий |
|
2. |
Брусья гимнастические для групповых занятий |
|
3. |
Велотренажер «Здоровье» |
|
4. |
Велотренажер «Циклон-1» |
|
5. |
Дорожка для разбега (укороченная) |
|
6. |
Зеркало |
|
7. |
Конь гимнастический для опорных прыжков |
|
8. |
Маты |
|
9. |
Мостик гимнастический эластичный |
|
10. |
Перекладина гимнастическая для групповых занятий |
|
11. |
Пианино |
|
12. |
Приспособление «Брусья консольные» |
|
13. |
Приспособление для развития мышц спины |
|
14. |
Приспособление «Скамья универсальная» |
|
15. |
Рукоход подвесной гимнастический для групповых занятий |
|
16. |
Скамья со стойками для жима лежа |
|
17. |
Снаряды подвесные гимнастические для групповых занятий |
|
18. |
Станок хореографический |
|
19. |
Стеллаж для гантелей |
|
20. |
Стеллаж для штанг |
|
21. |
Стенка гимнастическая |
|
22. |
Тренажер «Гимнастический» |
|
23. |
Тренажер «Гребля» |
|
24. |
Тренажер для бега Л.3-01 |
|
25. |
Тренажер для вращения и развития ловкости |
|
26. |
Тренажер для гребли |
|
27. |
Тренажер для развития икроножных мышц |
|
28. |
Тренажер для развития мышц бедра |
|
29. |
Тренажер для развития мышц спины и пресса |
|
30. |
Тренажер для развития плечевого пояса и грудных мышц |
|
31. |
Тренажер для развития силы ног, тип 1 |
|
32. |
Тренажер для развития силы ног, тип 2 |
|
33. |
Тренажер для развития широчайших мышц спины |
|
34. |
Тренажер многоцелевой «Стенка» |
|
35. |
Тренажер «Ритм-2» |
|
36. |
Тренажер «Эспандер» |
|
37. |
Устройство для развития тазобедренных суставов |
|
38. |
Штанга тяжелоатлетическая народная |
