СН 478-80 (1990), часть 2
1.15. Величину температурного удлинения трубопровода D l следует определять по формуле
(1)
где a — коэффициент линейного расширения, принимаемый для: ПВП и ПНП — 2,2× 10 -4 ; ПВХ — 0,8× 10-4 ; ПП — 1, 1× 10-4 , ° С-1 ;
D t — максимальная разность температур во время монтажа трубопровода и в период его эксплуатации, ° С;
l — первоначальная длина трубопровода в момент укладки, м.
2. Гидравлический расчет напорных и безнапорных трубопроводов
2.1. Определение потерь напора i по длине напорных трубопроводов следует производить по формулам:
(2)
(3)
(4)
где l н — коэффициент сопротивления трения по длине напорного трубопровода;
v ср — средняя скорость течения жидкости, м/с;
g — ускорение свободного падения, м2 /с;
D p — расчетный диаметр трубопровода, м, равный:
D p = 0,5 (2D н + D D н – 4S – 2 D S );
D н — наружный диаметр трубопровода, м;
D D н — допуск на наружный диаметр трубопровода, м;
S — толщина стенки трубы, м;
D S — допуск на толщину стенки трубы, м;
b н — число подобия режимов течения жидкости;
— число Рейнольдса;
vt — коэффициент кинематической вязкости жидкости при температуре t °С, м2 /с.
Примечания: 1. При b н £ 1 (ламинарный режим течении) формулы (2) — (4) недействительны; при b н > 2 (квадратичная область гидравлических сопротивлений турбулентного режима течения жидкости) следует принимать b н = 2.
2. Допускается производить гидравлический расчет напорных пластмассовых трубопроводов по номограмме (рис. 5).
Правила пользования номограммой следующие.
Для решения системы уравнений
![]()
постросна номограмма из выровненных точек. Она состоит из семейства дуг D p и параллельных шкал q, t, v, 1000it и 1000i 10 , где i 10 и it — значения i при t = 10° С и некотором значении t, отличном от 10° С. На номограмме приведен ключ пользования.
Пусть по заданным значениям D p и q требуется найти значение v и значения i при t = 10° С и некотором значении t , отличном от 10° С. Перемещая линейку по номограмме, находим такое положение линейки, при котором край ее касается заданной дуги D p и проходит через заданную точку шкалы q . В пересечении края линейки со шкалами v и 1000i 10 читаем ответы v и 1000i 10 . Далее вращаем край линейки около найденной точки шкалы 1000i 10 до тех пор, пока

Рис. 5. Номограмма для гидравлического расчета напорных трубопроводов из пластмассовых труб
он не пройдет через заданную точку шкалы t . Ответ 1000it читаем в точке пересечения края линейки со шкалой 1000it .
Пример. Определить по номограмме значения v и i при t = 10 ° С и i при t = 40° С в трубе из полиэтилена высокой плотности типа СЛ с наружным диаметром D н = 5 0 мм (внутренний диаметр D p = 46 мм), если труба пропускает расход q = 3,5 л/с. По номограмме с помощью двух наложений линейки находим v = 2,1 м/с, 1000i 10 = 110 и 1000i 40 = 100 . Следовательно, i = 110 при t = 10° С и i = 100 при t = 40° С.
При расчете напорных канализационных трубопроводов, транспортирующих бытовые стоки, следует учитывать вязкость v = 1,41× 10-6 м2 /с, что соответствует температуре воды 7° С.
3. Коэффициент кинематической вязкости воды в зависимости от температуры следует принимать по табл. 5.
Таблица 5
|
Температура воды, ° С |
Коэффициент кинематической вязкости воды vt , м2 /с |
Температура воды, ° С |
Коэффициент кинематической вязкости воды vt , м2 /с |
|
0 |
1,79 × 10-6 |
35 |
0,73 × 10-6 |
|
5 |
1,52 × 10-6 |
40 |
0,66 × 10-6 |
|
10 |
1,31 × 10-6 |
45 |
0,6 × 10-6 |
|
15 |
1,14 × 10-6 |
50 |
0,55 × 10-6 |
|
20 |
1,01 × 10-6 |
55 |
0,51 × 10-6 |
|
25 |
0,9 × 10-6 |
60 |
0,47 × 10-6 |
|
30
|
0,81 × 10-6 |
|
|
2.2. Величину коэффициента сопротивления стыкового соединения, выполненного сваркой встык, следует определять по формуле
(5)
где А —
коэффициент, равный 0,25
D
p
при
<
0,1 и 0,35
D
p
при
³
0,1;
D гр — высота грата, определяемая в соответствии с п. 8. 6, мм;
Re’ = Re × 10-4 ; (5)
В — коэффициент, равный 1,6 для труб диаметром до 50 мм и 1,3 — больше 50 мм.
Примечание. Допускается суммарные потери напора в прямолинейном трубопроводе, с учетом сварных стыковых соединений h пр , определять по формуле
h пр = Kil , (6)
где К — коэффициент, определяемый по графику (рис. 6);
l — длина расчетного участка, м.

Рис. 6. Значение коэффициента К в зависимости от наружного диаметра трубопровода
Для всех остальных типов стыковых соединений коэффициент К в формуле (6) следует принимать равным 1.1.
2.3. Величину коэффициента сопротивления односегментных колен, изготовленных контактной сваркой встык, следует определять по формуле
(7)
где A
’
— коэффициент, равный 11
при
£
0,15
и равный 20
при
> 0,15;
т — показатель степени, равный:
при
D
р
£
50 мм
![]()
при
D
р
>
50 мм
![]()
Примечания: 1. Допускается потери напора h 1 в односегментном колене определять в зависимости от скорости движения жидкости по графику (рис. 7).
2. Суммарные потери напора в отводах, установленных на расчетном участке, следует определять по формуле
h 0 = h 1 n , (8)
где п — количество отводов.
2.4. Суммарные потери напора па расчетном участке сети следует определять по формуле
h = Kil + h 1 n. (9)
2.5. Гидравлический расчет безнапорных канализационных трубопроводов следует производить по формуле
(10)
где i — уклон трубопровода;
l б — коэффициент сопротивления трения по длине безнапорного трубопровода, равный:
(11)
где v ср — средняя скорость течения жидкости, м/с;
В б — параметр, равный:
(12)
R — гидравлический радиус, соответствующий расчетному наполнению трубопровода, м;
v 20 — коэффициент кинематической вязкости воды при температуре +20° С, принимаемый по табл. 5 ;
vt — коэффициент кинематической вязкости воды при температуре t ° С.
Примечания: 1. При половинном и полном наполнениях трубопровода, а также при приближенных расчетах допускается определять параметр В б по формуле
(12)
2. При В б £ 1 (ламинарный режим течения) формулы (10) — (12) недействительны: при В б > 2 (квадратичная область гидравлических сопротивлений турбулентного течения жидкости) следует принимать
В б = 2.
3. При расчетном наполнении трубопровода, равном или более 0,3 его диаметра, допускается пользоваться таблицами, приведенными в «Методике гидравлического расчета самотечных канализационных трубопроводов из пластмасс. Расчетные таблицы» (М., ЦИНИС Госстроя СССР, 1976), а также номограммой рис. 8, составленной для бытовых сточных вод с кинематической вязкостью vt = 1,4 × 10 -6 м2 /с.
4.
Правила пользования номограммой следующие. Линейку накладывают на
номограмму таким образом, чтобы расчетное значение уклона
трубопровода (шкала уклонов —
нижняя шкала
линейки) совпало с линией вязкости на номограмме. Далее
перемещают линейку вверх или вниз по номограмме (расчетное значение
уклона трубопровода все время остается на линии вязкости) до
совпадения расчетных значений расхода жидкости (шкала расходов —
верхняя шкала линейки) и наполнения (наклонные линии
для
Q
на номограмме). При совпадении указанных величин верхняя грань
линейки должна совпадать или близко подходить к одной из
горизонтальных линий на номограмме, обозначающей вид материала,
тип труб и их диаметр. Значения средней скорости потока считают по
скорости (шкала скоростей совмещена со шкалой расходов жидкости
—
верхняя шкала линейки) в месте ее
пересечения с расчетным значением наполнения трубопровода (наклонные
линии
для v
ср
).
2.6. При определении проектного уклона безнапорного трубопровода расчетное значение i следует умножить на коэффициент потерь напора в стыковых соединениях канализационных труб, равный: для сварных соединений пластмассовых труб диам. 50—63 мм — 1,1; диам. 75—90 мм — 1,08; диам. 110—160 мм — 1,07; диам. 225—630 мм — 1,06; для раструбных соединений пластмассовых труб диам. 50—110 мм — 1,017; диам. 110—225 мм —1 ,015; диам. 225—630 мм — 1,01.

Рис. 7. Потери напора в односегментном колене
3. Проектирование наружных трубопроводов
3.1. Способ прокладки трубопроводов из пластмассовых труб, как правило, следует предусматривать подземный.
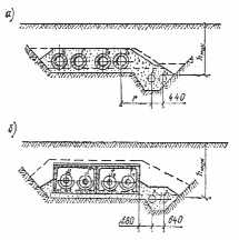
Допускается параллельная прокладка пластмассовых водопроводов без теплоизоляции при совмещенной прокладке с трубопроводами горячего водоснабжения и теплоснабжения, укладываемых в земле или канале (рис. 9). При этом расстояние r между осями пластмассового водопровода и ближайшего теплопровода и минимальную глубину заложения водопровода h мин следует принимать по табл. 6.
Допускается также подземная прокладка пластмассовых водопроводов без теплоизоляции в каналах или туннелях отдельно или совместно с другими инженерными

Рис. 8. Номограммы для гидравлического расчета пластмассовых канализационных труб
Таблица 6
|
Наружный диаметр труб водопровода, мм |
r , мм |
h мин |
|
75 |
890 |
1400 |
|
160 |
970 |
1550 |
|
250 |
1060 |
1880 |
|
630
|
1350 |
2400 |
Примечания: 1. При укладке трубопроводов горячего водоснабжения или теплоснабжения в канале (рис. 9) расстояние в свету между наружной поверхностью труб водопровода и стенкой канала надлежит принимать 600 мм.
2. При соответствующем теплотехническом расчете допускается совмещенная прокладка в земле или канале и по другим проектным вариантам. При этом температура на наружной поверхности пластмассового трубопровода в период эксплуатации не должна превышать максимальной температуры транспортируемой среды.

Рис. 9. Схемы совмещенной прокладки пластмассовых трубопроводов:
а — в земле; б — в канале; Ц и Г — циркуляционный и подающий трубопроводы горячего водоснабжения; Т о и Т п — обратный и подающий трубопроводы теплоснабжения Х 1 и Х 2 — первая и вторая труби холодного водопровода.
коммуникациями (рис. 10). При этом температура воздуха в каналах или туннелях в период эксплуатации не должна бить ниже 5° С и выше 35° С.
При максимальной температуре воздуха в канале или туннеле температура питьевой воды в пластмассовом трубопроводе не должна повышаться более чем на 2° С.
3.2. Для напорных пластмассовых трубопроводов с неразъемными соединениями (сварными, клеевыми), укладываемых в грунт, линейная компенсация, как правило, не предусматривается.
Примечания: 1. Для снижения температурных напряжений в трубопроводе при прокладке в летнее время следует предусматривать укладку трубопроводов в траншею «змейкой». 2. Для напорных пластмассовых трубопроводов, соединяемых в раструб, уплотняемых резиновым кольцом, линейная компенсация не учитывается.

Рис. 10. Схема размещения трубопроводов водоснабжения из пластмассовых труб в туннеле
1 — газопровод; 2 — трубопровод горячего водоснабжения циркуляционный; 3 — трубопровод горячего водоснабжения подающий; 4 — трубопровод холодного водоснабжения из труб ПВХ; 5 — силовой кабель; 6 — телефонные кабели; 7 — трубопровод отопления обратный; 8 — трубопровод отопления подающий
3.3. Для трубопроводов с неразъемными соединениями, прокладываемых в каналах или туннелях, а также наземно или надземно на опорах, линейная компенсация производится с помощью расстановки креплений и специальных компенсирующих деталей, предусмотренных в пп. 4.9—4.11.
Примечание. При прокладке пластмассовых трубопроводов в каналах через 18—20 м следует устанавливать неподвижные крепления.
3.4. Расстояние между опорами при открытой прокладке горизонтальных пластмассовых труб с неразъемными соединениями, а также при прокладке в каналах или туннелях следует принимать по табл. 7. При прокладке труб с раструбными соединениями на резиновых кольцах расстояния между креплениями принимаются по этой же таблице, если соединения расположены на опорах, а при расположении раструбных соединений между опорами, расстояния, приведенные в таблице, следует уменьшить на 30%.
Примечание. Для труб из ПВХ типов Л, СЛ и С расстояния между опорами следует принимать такими же, как для труб из ПВП и ПП соответственно типов СЛ, С и Т.
3.5. Расстояния между креплениями при прокладке вертикальных пластмассовых труб с неразъемными соединениями следует определять по табл. 8.
Таблица 7
|
|
Расстояние между опорами горизонтально прокладываемого трубопровода, мм, из материала
|
|||||||||||
|
|
ПВП, ПП |
|||||||||||
|
D н , мм |
Л |
СЛ |
С |
Т |
||||||||
|
|
Температура транспортируемой жидкости, ° С |
|||||||||||
|
|
20 |
30 |
40 |
20 |
30 |
40 |
20 |
30 |
40 |
20 |
30 |
40 |
|
10 |
|
|
|
|
|
|
|
|
|
400 |
350 |
300 |
|
12 |
|
|
|
|
|
|
|
|
|
420 |
400 |
350 |
|
16 |
|
|
|
|
|
|
|
|
|
500 |
450 |
400 |
|
20 |
|
|
|
|
|
|
|
|
|
550 |
500 |
450 |
|
25 |
|
|
|
|
|
|
600 |
550 |
500 |
650 |
550 |
500 |
|
32 |
|
|
|
|
|
|
650 |
600 |
550 |
750 |
650 |
600 |
|
40 |
|
|
|
700 |
700 |
600 |
800 |
700 |
600 |
850 |
800 |
700 |
|
50 |
|
|
|
800 |
750 |
650 |
1000 |
900 |
800 |
1000 |
900 |
800 |
|
63 |
850 |
800 |
700 |
900 |
800 |
700 |
1150 |
1050 |
900 |
1150 |
1050 |
800 |
|
75 |
900 |
800 |
750 |
1100 |
950 |
800 |
1250 |
1150 |
1000 |
1300 |
1200 |
1000 |
|
90 |
1000 |
900 |
800 |
1200 |
1100 |
900 |
140 0 |
1250 |
1100 |
1500 |
1350 |
1200 |
|
110 |
1100 |
1000 |
900 |
1400 |
1200 |
1100 |
1500 |
1400 |
1200 |
1700 |
1500 |
1300 |
|
125 |
1300 |
1150 |
1000 |
1500 |
1300 |
1200 |
1600 |
1500 |
1300 |
1800 |
1700 |
1450 |
|
140 |
1400 |
1300 |
1100 |
1600 |
1400 |
1200 |
1750 |
1600 |
1400 |
1950 |
1700 |
1550 |
|
160 |
1550 |
1400 |
1250 |
1700 |
1500 |
1350 |
1900 |
1750 |
1500 |
2150 |
1950 |
1700 |
|
180 |
1600 |
1500 |
1300 |
1850 |
1650 |
1400 |
2000 |
1900 |
1600 |
2300 |
2100 |
1850 |
|
200 |
1700 |
1600 |
1400 |
2000 |
1800 |
1500 |
2200 |
2000 |
1750 |
2500 |
2250 |
2000 |
|
225 |
1850 |
1700 |
1400 |
2100 |
1900 |
1700 |
2350 |
2150 |
1900 |
2700 |
2450 |
2150 |
|
250 |
2000 |
1800 |
1600 |
2300 |
2100 |
1800 |
2500 |
2200 |
2000 |
2900 |
2600 |
2300 |
|
290 |
2200 |
2000 |
1700 |
2500 |
2250 |
2000 |
2700 |
2500 |
2200 |
3100 |
2850 |
2500 |
|
315 |
2300 |
2100 |
1800 |
2700 |
2400 |
2000 |
2950 |
2700 |
2350 |
|
|
|
|
355 |
2500 |
2300 |
2000 |
2900 |
2600 |
2300 |
3200 |
2900 |
2550 |
|
|
|
|
400 |
2700 |
2500 |
2150 |
3100 |
2800 |
2500 |
3500 |
3150 |
2700 |
|
|
|
|
450 |
2950 |
2700 |
2400 |
3400 |
3100 |
2700 |
3800 |
3450 |
3000 |
|
|
|
|
500 |
3100 |
2850 |
2500 |
3650 |
3300 |
2900 |
|
|
|
|
|
|
|
560 |
3400 |
3100 |
2700 |
3900 |
3600 |
3100 |
|
|
|
|
|
|
|
630
|
3700 |
3400 |
2900 |
4200 |
3900 |
3400 |
|
|
|
|
|
|
Продолжение табл. 7
|
|
Расстояние между опорами горизонтально прокладываемого трубопровода, мм, из материала
|
||||||||||||||
|
|
ПНП |
ПВХ |
|||||||||||||
|
D н , мм |
Л |
СЛ |
С |
Т |
Т |
||||||||||
|
|
Температура транспортируемой жидкости, ° С
|
||||||||||||||
|
|
20 |
30 |
40 |
20 |
30 |
40 |
20 |
30 |
40 |
20 |
30 |
40 |
20 |
30 |
40 |
|
10 |
|
|
|
|
|
|
|
|
|
250 |
200 |
200 |
|
|
|
|
12 |
|
|
|
|
|
|
|
|
|
300 |
250 |
250 |
|
|
|
|
16 |
|
|
|
|
|
|
300 |
300 |
300 |
350 |
300 |
300 |
500 |
450 |
400 |
|
20 |
|
|
|
|
|
|
400 |
350 |
300 |
400 |
350 |
350 |
550 |
500 |
450 |
|
25 |
|
|
|
400 |
350 |
300 |
400 |
400 |
350 |
450 |
450 |
400 |
650 |
550 |
500 |
|
32 |
400 |
400 |
400 |
450 |
400 |
350 |
500 |
450 |
400 |
550 |
500 |
450 |
850 |
750 |
700 |
|
40 |
500 |
450 |
400 |
550 |
500 |
450 |
600 |
550 |
500 |
650 |
600 |
550 |
1000 |
950 |
1000 |
|
50 |
550 |
500 |
500 |
650 |
600 |
500 |
700 |
600 |
550 |
750 |
700 |
600 |
1200 |
1100 |
1000 |
|
63 |
600 |
600 |
550 |
750 |
700 |
600 |
800 |
700 |
650 |
850 |
800 |
700 |
1350 |
1250 |
1100 |
|
75 |
700 |
650 |
600 |
800 |
750 |
700 |
900 |
800 |
750 |
1000 |
900 |
800 |
1600 |
1500 |
1300 |
|
90 |
800 |
700 |
700 |
900 |
850 |
800 |
1000 |
950 |
850 |
1100 |
1000 |
900 |
1800 |
1650 |
1500 |
|
110 |
900 |
900 |
800 |
1000 |
1000 |
900 |
1150 |
1100 |
950 |
1250 |
1150 |
1000 |
2000 |
1800 |
1600 |
|
125 |
1000 |
950 |
850 |
1100 |
1100 |
950 |
1200 |
1200 |
1000 |
1350 |
1250 |
1100 |
2100 |
2000 |
1750 |
|
140 |
1100 |
1000 |
900 |
1200 |
1150 |
1000 |
|
|
|
|
|
|
2250 |
2000 |
1850 |
|
160 |
1200 |
1100 |
1000 |
1300 |
1250 |
1100 |
|
|
|
|
|
|
2450 |
2250 |
2000 |
|
180 |
|
|
|
|
|
|
|
|
|
|
|
|
|
|
|
|
200 |
|
|
|
|
|
|
|
|
|
|
|
|
|
|
|
|
225 |
|
|
|
|
|
|
|
|
|
|
|
|
3000 |
2750 |
2450 |
|
250 |
|
|
|
|
|
|
|
|
|
|
|
|
|
|
|
|
290 |
|
|
|
|
|
|
|
|
|
|
|
|
|
|
|
|
315 |
|
|
|
|
|
|
|
|
|
|
|
|
|
|
|
|
355 |
|
|
|
|
|
|
|
|
|
|
|
|
|
|
|
|
400 |
|
|
|
|
|
|
|
|
|
|
|
|
|
|
|
|
450 |
|
|
|
|
|
|
|
|
|
|
|
|
|
|
|
|
500 |
|
|
|
|
|
|
|
|
|
|
|
|
|
|
|
|
560 |
|
|
|
|
|
|
|
|
|
|
|
|
|
|
|
|
630
|
|
|
|
|
|
|
|
|
|
|
|
|
|
|
|
Примечание. При расчете принималось g тр = g с = 0,96 г/см3 и j = 0,005.
Таблица 8
|
|
Расстояние между опорами вертикально прокладываемого трубопровода, мм, из материала
|
|||||
|
D н , мм |
ПВП, ПВХ, ПП |
ПНП |
||||
|
|
Температура транспортируемой жидкости, ° С
|
|||||
|
|
20 |
30 |
40 |
20 |
30 |
40 |
|
32 |
1200 |
1000 |
800 |
1000 |
900 |
850 |
|
40 |
1500 |
1200 |
1000 |
1300 |
1100 |
1000 |
|
50 |
1800 |
1500 |
1200 |
1800 |
1400 |
1200 |
|
63 |
2400 |
2000 |
1800 |
2100 |
1700 |
1400 |
|
75 |
2900 |
2500 |
2200 |
2500 |
2000 |
1800 |
|
90 |
3200 |
2900 |
2600 |
3100 |
2600 |
2300 |
|
110 |
3900 |
3500 |
3300 |
3600 |
2900 |
2500 |
|
125 |
4500 |
3800 |
3600 |
3900 |
3200 |
3000 |
|
140 |
4900 |
4200 |
4000 |
4100 |
3500 |
3200 |
|
160 |
5500 |
5000 |
4800 |
4600 |
4000 |
3800 |
|
225 |
6800 |
5900 |
5300 |
|
|
|
|
315 |
9200 |
8200 |
7200 |
|
|
|
|
400
|
13000 |
10600 |
9200 |
|
|
|
3.6. Для канализационных трубопроводов с неразъемными соединениями при расстоянии между смотровыми колодцами до 25 м компенсация достигается за счет перемещения концов труб в колодцах; при расстоянии 25—40 м необходимо предусматривать на трубопроводе раструбное соединение, уплотняемое резиновым кольцом и выполняющее функции компенсатора. При больших расстояниях между колодцами необходимо предусматривать несколько раструбных соединений.
