СН 510-78
ГОСУДАРСТВЕННЫЙ КОМИТЕТ СССР ПО ДЕЛАМ СТРОИТЕЛЬСТВА (ГОССТРОИ СССР)
ИНСТРУКЦИЯ
ПО ПРОЕКТИРОВАНИЮ СЕТЕЙ
ВОДОСНАБЖЕНИЯ И КАНАЛИЗАЦИИ ДЛЯ РАЙОНОВ РАСПРОСТРАНЕНИЯ ВЕЧНОМЕРЗЛЫХ ГРУНТОВ
СН 510-78
Утверждена
постановлением Государственного комитета СССР по делам строительства от 11 декабря 1978 г. № 226
Инструкция по проектированию сетей водоснабжения и канализации для районов распространения вечномерзлых грунтов разработана Красноярским Промстройниипроектом Минтяжстроя СССР.
При разработке Инструкции использованы работы НИИ оснований и подземных сооружений им. Н. М. Герсеванова Госстроя СССР, Ленинградского инженерно-строительного института, Зонального научно-исследовательского и проектного института типового и экспериментального проектирования жилых и общественных зданий Госгражданстроя, ВНИИ Водгео Госстроя СССР, ЦНИИЭП инженерного оборудования Госгражданстроя.
Редакторы: инж. Б.В. Тамбовцев (Госстрой СССР), кандидаты техн. наук Ш. Ф. Акбулатов, А. В. Лютов, инж. И. П. Данилова (Красноярский Промстройниипроект).
|
|
Строительные нормы |
СН 510-78 |
|
Государственный комитет СССР по делам строительства (Госстрой СССР) |
Инструкция по проектированию сетей водоснабжения и канализации для районов распространения вечномерзлых грунтов |
— |
1. ОБЩИЕ ПОЛОЖЕНИЯ
1.1. Требования настоящей Инструкции должны выполняться при проектировании наружных сетей водоснабжения и канализации, сооружаемых в районах распространения вечномерзлых грунтов, включая сейсмические районы (рис. 1) при строительстве по принципу I
|
Внесена проектным и научно-исследовательским институтом Красноярский Промстройниипроект |
Утверждена постановлением Государственного комитета СССР по делам строительства от 11 декабря 1978 г. № 226 |
Срок введения в действие 1 января 1980 г. |

Рис. 1. Схематическая карта распространения вечномерзлых грунтов и сейсмики
1.2. В зависимости от изменения физико-механических свойств мерзлых грунтов при оттаивании, температурных режимов трубопроводов и грунтов по трассе, а также температурного режима оснований зданий и сооружений, расположенных вблизи трубопроводов, надлежит принимать один из двух принципов использования вечномерзлых грунтов в качестве оснований:
принцип I — вечномерзлые грунты основания используются в мерзлом состоянии, сохраняемом в процессе строительства и в течение всего заданного периода эксплуатации;
принцип II — вечномерзлые грунты основания используются в оттаивающем и оттаявшем состоянии.
1.3. При проектировании сетей водопровода и канализации для районов распространения вечномерзлых грунтов необходимо исходить из условия обеспечения:
наименьшей трудоемкости строительства и эксплуатации сетей;
применения оборудования и материалов, наиболее высокой надежности действия и долговечности;
снижения веса оборудования и материалов;
незамерзаемости жидкостей, транспортируемых по трубопроводам, при отклонениях теплового режима от нормы и в случаях аварий;
организации четкого контроля за тепловыми режимами сетей.
1.4. При проектировании сетей водопровода и канализации надлежит учитывать:
тепловое воздействие трубопроводов на основания близлежащих зданий и сооружений;
опасность непосредственного теплового воздействия воды на мерзлые грунты при повреждениях трубопроводов;
изменение мерзлотно-грунтовых условий при освоении территории.
1.5. Мерзлотно-грунтовые условия участков строительства трубопроводов характеризуются:
распространением и залеганием вечномерзлых грунтов;
составом, сложением и строением грунтов;
мощностью сезоннопротаивающих и сезоннопромерзающих слоев грунта;
температурным режимом грунтов;
физико-механическими свойствами грунтов;
мерзлотными процессами (пучение, наледи, термокарст, трещинообразование);
наличием грунтовых вод.
1.6. Проектирование сетей по принципу I следует принимать, когда:
грунты характеризуются значительными осадками при оттаивании;
оттаивание грунтов вокруг трубопровода влияет на устойчивость расположенных вблизи зданий и сооружений, строящихся с сохранением основания в мерзлом состоянии.
1.7. Проектирование сетей по принципу II следует принимать, когда:
грунты характеризуются незначительными осадками на всю расчетную глубину оттаивания;
здания и сооружения по трассе трубопроводов расположены на значительном расстоянии от трубопроводов или строящихся с допущением оттаивания вечномерзлых грунтов в их основаниях.
2. НОРМЫ ВОДОПОТРЕБЛЕНИЯ И ВОДООТВЕДЕНИЯ
2.1. Нормы и коэффициенты неравномерности водо-потребления следует принимать в соответствии с требованиями глав СНиП по проектированию наружных сетей и сооружений водоснабжения и по проектированию внутреннего водопровода и канализации зданий.
2.2. При ограниченном дебите источника водоснабжения расчетные расходы воды допускается снижать по согласованию с органами санитарно-эпидемиологической службы.
2.3. Расчетные расходы воды могут быть увеличены до 20% за счет сброса воды из водопровода в канализацию для предохранения сетей от замерзания. Целесообразность сбросов воды должна обосновываться технико-экономическим расчетом.
2.4. Нормы водоотведения бытовых сточных вод следует принимать в соответствии с требованиями глав СНиП по проектированию наружных сетей и сооружений канализации и по проектированию внутреннего водопровода и канализации зданий.
2.5. При определении общего коэффициента неравномерности притока бытовых сточных вод сбросы воды из системы водопровода не учитываются, однако сброс воды следует добавлять к расчетному расходу при проектировании насосных станций и очистных сооружений.
3. ПРИНЦИПЫ ТРАССИРОВКИ СЕТЕЙ
3.1. Проекты инженерных сетей и планировки населенных пунктов надлежит выполнять одновременно, взаимно увязывая их; при этом наиболее рационально применение совмещенной прокладки трубопроводов.
3.2. Способ прокладки трубопроводов следует выбирать в зависимости от мерзлотно-грунтовых, гидрогеологических и топографических условий строительства, а также от величины и плотности застройки населенного пункта и назначения трубопроводов.
3.3. Выбор способа прокладки сетей должен производиться с учетом:
способа предохранения трубопроводов от замерзания при расчетном тепловом режиме, при отклонении теплового режима от нормы и в случаях аварий;
мер по обеспечению устойчивости трубопроводов и близко расположенных зданий;
мер по увеличению надежности работы систем водоснабжения и канализации;
удобства эксплуатации.
3.4. Размещение сетей на плане следует предусматривать исходя из обеспечения:
максимального совмещения инженерных коммуникаций;
минимальной протяженности сетей;
блокировки зданий, позволяющей прокладывать сети на подвесках в проветриваемых подпольях;
сокращения числа подключений к сети водопровода за счет присоединения нескольких зданий к одному вводу водопровода, а также сокращения числа выпусков в канализацию.
3.5. Совмещение сетей различного назначения по одной трассе следует осуществлять путем прокладки их:
на общих лежневых и городковых опорах (рис. 2) или на свайных опорах (рис. 3);
в тоннелях или каналах.

Рис. 2. Надземная прокладка трубопроводов на общих лежневых опорах

Рис. 3. Надземная прокладка трубопроводов на общих свайных опорах
3.6. Прокладку водопроводов и коллекторов вне населенных пунктов следует предусматривать вблизи дорог.
3.7. Трубопроводы следует прокладывать вдоль улиц в разделительных полосах между проезжими частями.
3.8. Расстояния в свету от подземных трубопроводов до фундаментов зданий и сооружений надлежит принимать в зависимости от результатов теплотехнических расчетов, но не менее 6 м при бесканальной прокладке трубопроводов.
3.9. Наземные инженерные сети при любых способах компенсации температурных деформаций трубопроводов (разрезные и упругие компенсаторы, прокладка «змейкой» и пр.) следует прокладывать возможно ближе к поверхности земли в слое снежного покрова.
3.10. Схемы водоснабжения должны обеспечивать непрерывность движения транспортируемой воды на всех участках сети (рис. 4).
При этом:
тупиковая схема должна предусматривать подключение крупных потребителей воды и концевых участках (особенно эффективна, когда концевые участки водопровода совпадают с начальными участками канализации), а также устройство сухих перемычек;
кольцевая схема должна состоять из минимального числа колец, вытянутых по направлению основного потока воды к крупному потребителю; кольца сети надлежит замыкать на циркуляционную насосную станцию, в необходимых случаях совмещенную с пунктом подогрева воды;
двухтрубные схемы следует проектировать но аналогии со схемами тепловых сетен.
Всеми схемами водоснабжения должна предусматриваться установка автоматических выпусков воды.

Рис. 4. Схемы водоснабжения
а — водопроводная кольцевая; б — тупиковая с сухой резервирующей перемычкой; в, г — с автоматической защитой от замерзания: 1 — водовод; 2 — резервуар; 3 — насосная станция; 4 — распределительная сеть; 5 — колодец; 6 — водоразборная колонка; 7 — насосная станция на водозаборе; 8 — автоматический выпуск; автоматический выпуск с телеустройством; 10 — передача сигнала; 11 — диспетчерский пункт; 12 — магистральный водовод; 13 — специальная задвижка для сухих перемычек
3.11. Рекомендуется централизованная система канализации, позволяющая осуществлять сбор и отвод стоков от возможно большего числа объектов.
4. СПОСОБЫ ПРОКЛАДКИ СЕТЕЙ
4.1. В зависимости от расположения трубопроводов относительно поверхности земли, их механического и теплового взаимодействия с грунтом надлежит принимать один или несколько способов прокладки (рис. 5):
подземную (в том числе в каналах), наземную, надземную на низких или высоких опорах.

Рис. 5. Способы прокладки трубопроводов
а — подземная; б — наземная; в — надземная
4.2. Инженерные сети за границей населенного пункта при надземной прокладке следует укладывать на промежуточных опорах различной конструкции (скользящие, катковые, подвесные).
4.3. Укладку опор всех видов (кроме свайных) следует предусматривать непосредственно на поверхность земли или на призмы из галечникового или гравийного грунтов, гравелистого или крупного песчаного грунта. Допускается применение местных супесчаных и суглинистых грунтов, которые перед укладкой в призмы надлежит оттаивать.
4.4. Высоту насыпных грунтовых призм надлежит определять на основании профилей трубопровода и поверхности земли. При составлении профилей следует стремиться к максимальному приближению трубопровода к поверхности земли, исключая срезку естественной поверхности.
4.5. Лежневые опоры (см. рис. 2) должны выполняться из антисептированных деревянных брусьев или бревен.
4.6. Низкие свайные опоры следует применять на участках с грунтами, подверженными сильным сезонным пучениям, большим просадкам, способным нарушить устойчивость трубопроводов, а также на переходах через реки, ручьи, овраги.
Сваи надлежит принимать из железобетона или дерева и закладывать ниже слоя сезонного оттаивания грунта на глубину, определенную расчетом, но не менее чем на 1 м.
4.7. При прокладке трубопровода «змейкой» рекомендуется применять подвесные опоры, выполненные по схеме четырехгранной пирамиды (рис. 6).

Рис. 6. Металлодеревянная подвесная опора
4.8. На участках местности с уклоном до 10° следует применять надземную прокладку трубопроводов на скользяще-подвесных опорах.
4.9. Надземную прокладку трубопроводов на высоких опорах следует принимать на мачтах, эстакадах и по конструкциям промышленных зданий и сооружений на высоте, обеспечивающей проезд транспорта (рис. 7).

Рис. 7. Схемы надземных прокладок трубопроводов по мачтам, эстакадам, оградам и строительным конструкциям зданий
4.10. Надземная прокладка трубопроводов на высоких опорах в населенных пунктах не рекомендуется.
4.11. Подземная бесканальная прокладка водопроводных и канализационных трубопроводов допускается в непросадочных грунтах или грунтах I типа просадочности при оттаивании (рис. 8). При этом должна обеспечиваться герметичность стыков вне зависимости от изменения температурного режима мерзлых грунтов.


Рис. 8 . Бесканальная прокладка низкотемпературных трубопроводов
1 — граница талика в зимнее время; 2 — граница протаивания в летнее время; 3 — глинобетон; 4 — замененный грунт
4.12. В пределах застройки населенного пункта допускается подземная бесканальная прокладка водопроводных труб диаметром до 300 мм в грунтах I типа просадочности при оттаивании. Вид прокладки труб диаметром более 300 мм определяется по результатам теплотехнического расчета.
4.13. Талик вокруг трубы в летнее время не должен влиять на устойчивость трубопровода и близлежащих зданий и сооружений, а в зимнее время должен предохранять транспортируемую жидкость от замерзания.
4.14. При защите водопроводных труб от замерзания автоматическими выпусками воды или греющим электрическим кабелем допускается их прокладка в слое сезонного промерзания грунта.
4.15. Тоннели или каналы для инженерных сетей, прокладываемых в вечномерзлых грунтах, могут быть одноярусными, двухъярусными и двухсекционными (рис. 9).

Рис. 9. Схемы проходных каналов
а — одноярусный; б — двухъярусный; в — двухсекционный; 1 — тепловые сети; 2 — водопровод; 3 — канализация; 4 — электрические кабели; 5 — технологические трубопроводы
Тип тоннели или канала должен определяться в зависимости от результатов технико-экономического сравнения вариантов; при этом необходимо учитывать:
одноярусный наиболее экономичен;
двухъярусный с отдельным ярусом для канализационных труб облегчает прокладку канализационных труб с необходимым уклоном;
двухсекционный с вертикальной разделяющей стенкой экономичен при размещении в нем большого количества трубопроводов различного назначения;
подземный целесообразно применять в городах и поселках с компактной многоэтажной застройкой для совмещенной прокладки инженерных коммуникаций.
4.16. Прокладка сетей канализации в тоннеле или канале совместно с сетями водопровода допускается только по согласованию с органами санитарно-эпидемиологической службы.
4.17. В целях экономии и снижения теплового воздействия на грунты оснований зданий подземные тоннели или каналы следует прокладывать с минимальным заложением.
4.18. Просадочные при оттаивании грунты в основании тоннеля или канала следует заменять на расчетную величину оттаивания непросадочными грунтами (рис. 10).

Рис. 10. Конструкция канала на просадочных при оттаивании грунтах
1 — замененный грунт; 2 — глинобетон; 3 — песчаная подготовка; 4 — дренаж; 5 — дренажные отверстия; 6, 7 — железобетонные секции; 8 — обратная засыпка
Вместо замены грунта допускается протаивание и тщательное уплотнение грунтов основания.
4.19. Для трубопроводов, прокладываемых в тоннелях или каналах, следует предусматривать раздельную кольцевую теплоизоляцию.
4.20. Тоннели или каналы надлежит проектировать с уклоном не менее 0,002; при укладке в них канализационных трубопроводов уклон тоннелей или каналов определяется уклоном трубопроводов.
4.21. Уклон тоннелей или каналов должен обеспечивать выпуск аварийной воды в пониженные участки местности за чертой города или в систему канализации. При плоском рельефе местности для удаления аварийной воды допускается предусматривать насосные станции.
4.22. Для смыва и транспортирования по дну тоннеля или канала наносов, поступающих с поверхностными сточными водами, на водопроводной сети следует предусматривать установку через 150 — 200 м незамерзающих поливочных кранов.
4.23. Следует предусматривать вентиляцию подземных тоннелей и каналов. Рекомендуется принимать естественную систему вентиляции с использованием гравитационного и ветрового напоров; при этом число приточных и вытяжных шахт (рис. 11) должно быть минимальным.

Рис. 11. Схема вентиляции канала
1, 2 — верхний и нижний ярусы канала; 3 — входная вентиляционная шахта; 4 — вытяжная вентиляционная шахта; 5 — отверстие для вентиляции
4.24. Необходимо предусматривать меры предохранения вентиляционных шахт от заносов и завалов снегом.
4.25. Принудительную вентиляцию тоннелей и каналов, расположенных в населенных пунктах, применять не рекомендуется, ее допускается применять для тоннелей и каналов, расположенных на территории промышленных предприятий и предназначенных для одновременной прокладки технологических трубопроводов с большими тепловыделениями.
4.26. Для приточных и вытяжных шахт должна предусматриваться установка регулирующих заслонок.
4.27. На водопроводах, прокладываемых в тоннелях или каналах, следует устанавливать самоуплотняющиеся компенсаторы.
4.28. Для исключения возможности протекания воды вдоль стенок тоннеля или канала следует предусматривать устройство поперечных глинобетонных перемычек, врезаемых в боковые стенки и дно траншей на 1 м; при этом применяемый глинобетон должен иметь следующий состав, %:
Жирная глина ................ 30
Песок .............................. 20
Щебень и галька ........... 50
Вода в количестве, обеспечивающем консистенцию глинобетона, при которой осадка конуса равна нулю.
4.29. Под тоннелями и каналами следует предусматривать устройство основания из песчаной подготовки толщиной до 15 см, слоя глинобетона толщиной до 20 см или замененного и уплотненного слоя грунта, толщина которого определяется теплотехническим расчетом.
4.30. Устройство каналов допускается предусматривать на коротких участках трассы (пересечение улиц, дорог) с непросадочными при оттаивании грунтами или при замене просадочных грунтов непросадочными.
4.31. Для исключения возможного нарушения вечномерзлого состояния грунтов в основании зданий вводы водопровода и выпуски канализации следует прокладывать в подземных вентилируемых тоннелях или каналах (рис. 12, 13); при этом следует совмещать прокладку в тоннелях или каналах различных инженерных сетей. Допускается принимать надземную прокладку вводов водопровода.


Рис. 12. Проходной канал на вводе
а — схема вентиляции канала; б — сечение канала; 1 — железобетонные секции; 2 , 3 — теплопровод; 4 — водопровод; 5 — канализация; 6 — электрические кабели; 7 — набетонка

Рис. 13. Вводы в здание
4.32. Естественную вентиляцию тоннелей или каналов на вводах следует принимать раздельно от вентиляции магистральных тоннелей или каналов. При этом движение воздуха надлежит принимать от здания к магистральному тоннелю или каналу.
4.33. На вводах уклон тоннелей или каналов, а также прокладываемых в них трубопроводов, должен приниматься от здания.
4.34. Число вводов и выпусков должно быть минимальным.
4.35. Диаметры вводов следует принимать не менее 50 мм.
4.36. Для защиты сетей от замерзания в конце ввода допускается предусматривать сброс воды в сеть внутренней канализации с разрывом струи и устройством гидравлического затвора на сети канализации.
Необходимость и величина сброса воды определяются теплотехническим расчетом.
4.37. Прокладываемые в проветриваемых подпольях сети водопровода и канализации надлежит подвешивать к перекрытию на металлических подвесках.
4.38. Для трубопроводов водопровода и канализации, подвешиваемых к перекрытию подполья, следует предусматривать кольцевую теплоизоляцию.
4.39. К одному вводу следует предусматривать присоединение возможно большего числа здании.
4.40. На трубопроводах, прокладываемых и проветриваемых подпольях здании, установка запорной и регулирующей арматуры, а также воздушных клапанов не допускается. Число сварных стыков и других соединений на трубопроводах должно быть минимальным.
4.41. Внеплощадочные канализационные коллекторы (самотечные и напорные), если позволяет рельеф местности и условия планировки, рекомендуется укладывать на лежневых, городковых или низких свайных опорах.
5. ПРОКЛАДКА ТРУБОПРОВОДОВ В СЕЙСМИЧЕСКИХ РАЙОНАХ
5.1. В сейсмических районах рекомендуется надземная прокладка трубопроводов.
5.2. При прокладке трубопроводов «змейкой» должны применяться подвесные, скользяще-подвесные и шаровые опоры (см. рис. 6, 14, 15).

Рис. 14. Конструкция шаровой опоры
1 — шар; 2 — опорные полусферические чаши; 3 — лист; 4 — косынка; 5 — хомут; 6 — трубопровод; 7 — швеллер; 8 — бетонный массив; 9 — швеллеры, ограничивающие перемещение трубопровода

Рис. 15. Прокладка трубопровода на шаровых и скользящих опорах
Q — угол зигзага; 2L — расстояние между углами зигзага по оси трассы; L1 — расстояние между промежуточными опорами
5.3. Подвесную прокладку трубопроводов «змейкой» следует предусматривать на четырехстоечных опорах (см. рис. 6), при этом устройства неподвижных опор не требуется.
5.4. При прямолинейной надземной прокладке трубопроводов следует предусматривать применение компенсаторов с кольцевым самоуплотняющимся затвором или компенсаторов упругого типа (П-, Л-образные).
5.5. В населенных пунктах и на площадках промышленных предприятий рекомендуется совмещенная прокладка коммуникаций в каналах с подвеской труб (рис. 16), конструкция которой должна предусматривать регулировку высотного положения трубопроводов.

Рис. 16. Прокладка трубопроводов на подвесках в канале
1 — железобетонный канал; 2 , 3 — подвески с устройством для регулирования высотного положения; 4, 5, 6 — трубопроводы
5.6. Для районов вечномерзлых грунтов и при наличии сейсмичности прокладку надземных трубопроводов следует предусматривать возможно ближе к поверхности земли (15 — 30 см в свету).
5.7. Водоводы из двух и более ниток должны приниматься без переключений. В случае аварий на одной из ниток водовода увеличение расхода воды должно достигаться повышением напора на насосной станции.
5.8. Для повышения надежности водоснабжения в сейсмических районах по согласованию с органами санитарно-эпидемиологической службы необходимо предусматривать возможность соединения раздельных сетей хозяйственно-питьевого и производственного водопроводов, а также возможность подачи неочищенной обеззараженной воды в сеть хозяйственно-питьевого водопровода.
Примечание . Конструкция перемычки в этих случаях должна обеспечивать воздушный разрыв между сетями и исключать возможность обратного тока воды в сеть хозяйственно-питьевого водопровода.
6. ТЕПЛОВЫЕ РЕЖИМЫ ТРУБОПРОВОДОВ
Минимальная допустимая температура воды в наиболее удаленных точках водопровода
6.1. При определении минимальной допустимой температуры воды в наиболее удаленных точках водопровода необходимо учитывать:
теплотехнические данные трубопровода (тепловые потери трубопровода, отнесенные к объему транспортируемой воды);
способ прокладки (подземная, наземная, надземная);
время остановки трубопровода, необходимое для устранения аварии;
величину неравномерности расхода воды;
величину погрешности измерения температуры воды;
стоимость тепла, идущего на подогрев воды;
условия эксплуатации (доступность участков водопровода для надзора и ликвидации повреждений, требования объекта к бесперебойности подачи воды и пр.).
6.2. Минимальная температура воды должна определяться теплотехническим расчетом, при этом допускается принимать колебание температуры в интервале от долей градуса до нескольких градусов (плюс 3 — 5°С).
6.3. Температура воды в водопроводах с большими теплопотерями на единицу объема подаваемой воды и значительной неравномерностью расходов воды должна иметь большие значения минимальных температур.
6.4. Для водопроводов подземной прокладки следует принимать меньшие значения минимальных температур.
6.5. Минимальная температура воды в конце водопровода должна проверяться теплотехническим расчетом на время, необходимое для ликвидации повреждения или аварии на трубопроводе.
Оледенение внутренних стенок труб
6.6. При эксплуатации водопровода, проложенного над землей, образование льда на стенках трубопроводов не допускается.
6.7. В случаях аварий допускается образование льда на стенках трубопроводов водопровода при наличии на трубопроводах специальной арматуры, обеспечивающей их работу при льдообразовании.
Оптимальные тепловые режимы надземных водопроводов
6.8. Скорость движения воды в трубопроводе v т , м/с (рис. 17), при которой затраты средств на подачу воды и компенсацию тепловых потерь надземного трубопровода при электрическом подогреве воды имеют минимальную величину, определяется по формуле
(1)

Рис. 17. Оптимальная скорость движения воды в трубопроводах при надземной прокладке q т
где
— площадь сечения трубопровода, м2
;
tcp — среднее из значений t н и t к ;
t н — температура воды в начальной точке трубопровода, °С;
t к — температура воды в конечной точке трубопровода, °С;
t в — температура атмосферного воздуха (для канальной прокладки — температура воздуха в тоннеле или канале), °С;
R — термическое сопротивление изоляции, м× град/Вт;
A — удельное гидравлическое сопротивление трубопровода (при расходе воды, м3 /с);
k — коэффициент, зависящий от принятых единиц, равный 0,00272;
r — плотность воды, кг/м3 ;
h — КПД насоса.
6.9. Наиболее экономичная скорость движения воды в трубопроводе при компенсации затрат на тепловые потери с использованием других видов энергии определяется по формулам:
при
;
(2)
при
;
(3)
где Сэ — стоимость единицы тепла при электрическом подогреве, руб.;
С т — стоимость единицы тепла при других видах подогрева (тепло котельных, ТЭЦ и др.), руб.
6.10. Изменение скорости движения воды v т в трубопроводе при изменении термического сопротивления изоляции следует определять по зависимости
(4)
6.11. Скорости движения воды v т1 и v т2 в двух водоводах, имеющих соответственно диаметры d 1 и d 2 , удельное сопротивление А 1 и А 2 , при прочих равных условиях определяются по формуле
(5)
6.12. Скорость движения воды v т1 и v т2 в двух водоводах различных диаметров и термических сопротивлений изоляции следует определять по формуле
(6)
6.13.
Скорость v
т
с увеличением
диаметра трубопровода может изменяться в зависимости от величины
термического сопротивления изоляции. В частном случае, когда
,
скорости воды v
т1
=
v
т2
.
6.14. При изменении диаметра трубопровода для сохранения прежней скорости движения воды необходимо термическое сопротивление изоляции изменить в отношении:
.
(7)
6.15. Скорости движения воды v т1 и v т2 в двух водоводах, имеющих различную тепловую изоляцию, при различных перепадах температуры следует определять но формуле
(8)
6.16. Минимальные удельные затраты электрической энергии на подачу воды и компенсацию тепловых потерь в течение года следует определять по формуле
(9)
где n — число месяцев в году, для которых 0 < 0ср.год ;
0i — для месяцев, у которых 0 > 0ср.год ;
0ср.год — значение 0 среднее за год;
(10)
при
7. ПРЕДОХРАНЕНИЕ ВОДОПРОВОДА И КАНАЛИЗАЦИИ ОТ ЗАМЕРЗАНИЯ
7.1. Проектами водоснабжения и канализации должны предусматриваться мероприятия по защите труб от замерзания.
7.2. Для предупреждения замерзания водопроводных труб необходимо:
обеспечивать непрерывное движение воды в трубопроводах;
принимать время остановки водопровода для ликвидации повреждении или аварии не более определенного теплотехническим расчетом;
снижать до минимума тепловые потери трубопроводов;
предусматривать подогрев воды или трубопроводов;
обеспечивать контроль за гидравлическими и тепловыми режимами водопровода;
применять оборудование, устойчивое против замерзания;
предусматривать оборудование водоводов системой автоматической защиты от замерзания.
7.3. Для предотвращения остановки движения воды в водоводах необходимо предусматривать:
бесперебойное электроснабжение насосной станции;
установку на площадке насосной станции резервной электростанции на жидком топливе или установку дополнительного агрегата с двигателем внутреннего сгорания, если имеется только одна ЛЭП;
установку в насосной станции не менее трех насосных агрегатов независимо от категории водопровода;
организацию непрерывного контроля за расходом воды в водоводах.
7.4. Снижение тепловых потерь трубопроводов при надземной прокладке следует обеспечивать за счет:
покрытия трубопроводов кольцевой теплоизоляцией;
прокладки трубопроводов у поверхности земли в слое снежного покрова;
принятия оптимальной величины скорости движения воды в трубопроводе;
исключения или сведения до минимума участков без тепловой изоляции с повышенными теплопотерями (фланцы, арматура, сальниковые компенсаторы, крепление трубопровода).
7.5. Снижение тепловых потерь в трубопроводах подземной канальной прокладки следует обеспечивать за счет покрытия труб кольцевой теплоизоляцией и регулирования работы естественной вентиляции.
7.6. В зависимости от местных условий следует предусматривать подогрев водопроводной воды:
путем добавления теплой воды из систем охлаждения технологического оборудования промышленных предприятий или ТЭЦ;
в котельных или бойлерных установках;
электрическими нагревателями;
теплотой гидродинамического трения, выделяемой в насосах и трубопроводах при повышенных скоростях движения воды.
7.7. Температуру подогрева воды следует определять на основании технико-экономических расчетов с учетом стоимости тепла и теплоизоляции.
7.8. При проектировании подогрева воды в котельных, бойлерных и других установках необходимо обеспечивать минимальный расход тепла, снижая среднюю температуру нагрева воды за счет ступенчатого подогрева.
7.9 . Установки для подогрева воды должны быть оборудованы системами автоматики, поддерживающими заданный температурный режим воды в трубопроводах (с необходимым аварийным резервом).
7.10. В специальных котельных для подогрева водопроводной воды надлежит устанавливать электрические электродные котлы низкого напряжения (рис. 18), применение которых обеспечивает простоту автоматики управления, снижение веса и уменьшение габаритов помещений котельных.

Рис. 18. Электродный котел
1 — грязевик; 2 — концентратор; 3 — корпус; 4 — электрод; 5 — нулевой электрод
7.11. Сопровождающий греющий кабель (рис. 19) предотвращает возможность замерзания жидкости в трубопроводах, а также позволяет прогревать трубы перед пуском воды по трубопроводам в зимнее время. Для автоматической работы греющего кабеля следует предусматривать установку терморегулятора (рис. 20).

Рис. 19. Схема оборудования водопровода греющим кабелем
1 — водопровод; 2 — питающая электросеть; 3 — греющий электрокабель; 4 — терморегулятор

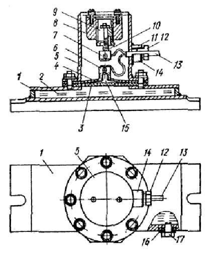
Рис. 20. Конструкция терморегулятора
1 — камера, заполняемая рабочей жидкостью; 2 — рабочая жидкость (вода); 3 — резиновая диафрагма (рабочая); 4 — резиновая диафрагма для крепления контакта; 5 — камера для размещения электроконтактов; 6 — подвижный контакт; 7 — неподвижный контакт; 8 — диэлектрический стакан; 9 — регулировочная втулка; 10 — возвратная пружина; 11 — резиновое уплотнительное кольцо; 12 — втулка зажимная; 13 — двужильный электропровод; 14 — патрубок; 15 — деталь крепления подвижного контакта к диафрагме; 16 — уплотнительная прокладка; 17 — завинчивающаяся пробка
7.12. Греющий кабель рекомендуется использовать при подземной бесканальной прокладке водопровода и канализации, а также на замыкающих перемычках водопровода в каналах, на участках, не совпадающих с трассировкой тепловых сетей, при диаметре труб до 300 мм.
