ВСН 332-74, часть 5
____________
1 Здесь и в табл. 11 цифры и буквы обозначают: цифра ¾ сечение жилы, мм2;
С ¾ секторная многопроволочная жила; СО ¾ секторная однопроволочная жила.
д) для электродвигателей серии ВАО 315 ¾ 450-го габаритов и МА36 6-го и 7-го габаритов длина токоведущих (фазных) жил L выбирается в зависимости от сечения жил кабеля по табл. 11 и рис. 72, а нулевая (четвертая) жила для кабелей всех сечений принимается равной 480 мм;
Таблица 11
Длина секторных жил для присоединения к электродвигателям серии ВАО 315 ¾ 450-го габаритов и МА36 6 ¾ 7-го габаритов
|
Тип и |
Жила крайняя, L1 , мм |
Жила средняя, L 2 , мм |
Жила крайняя, L 3 , мм |
||||||
|
сечение жил |
Наконечник |
||||||||
|
кабеля |
медный |
медно-алюминиевый |
алюминиевый |
медный |
медно-алюминиевый |
алюминиевый |
медный |
медно-алюминиевый |
алюминиевый |
|
25 С, СО |
280 |
270 |
275 |
270 |
260 |
265 |
260 |
250 |
255 |
|
35 С, СО |
275 |
270 |
275 |
265 |
260 |
265 |
255 |
250 |
255 |
|
50 С, СО |
265 |
255 |
270 |
255 |
245 |
260 |
245 |
235 |
250 |
|
70 С |
260 |
250 |
255 |
250 |
240 |
245 |
240 |
230 |
235 |
|
70 СО |
— |
255 |
260 |
— |
245 |
250 |
— |
235 |
240 |
|
95 С, СО |
255 |
245 |
250 |
245 |
235 |
240 |
235 |
225 |
230 |
|
120 С, СО |
255 |
240 |
245 |
245 |
230 |
235 |
235 |
220 |
225 |
|
150 С |
¾ |
240 |
245 |
¾ |
230 |
235 |
— |
220 |
225 |

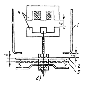
Рис. 72. Длина жил при подготовке кабелей к заделке для электродвигателей серии ВАО 316 ¾ 460-го габаритов и серии МА36 6 ¾ 7-го габаритов.
а ¾ левый (нижний) ввод; б ¾ правый (верхний) ввод.
е) ввести жилы кабеля и защемляющий проводник во вводное устройство, вставить в гнездо ввода до упора резиновое уплотнительное кольцо с упорной и нажимной шайбами и затягиванием болтов нажимной муфты уплотнить резиновым кольцом место ввода кабеля;
ж) присоединить нулевую жилу и проводник заземления брони и оболочки кабеля к заземляющему зажиму, а жилы кабеля к контактным зажимам и закрыть крышку вводного устройства.
Подвод и присоединение кабелей и проводов, проложенных в трубах
9-33. При подводе проводов и кабелей в трубах, выходящих из пола, трубы должны иметь привязку, указанную в проекте. После установки электродвигателей на место трубы должны быть доведены до вводного устройства и ввернуты до отказа на короткой резьбе в нажимную муфту. Защиту бронированных кабелей на участке между трубой, выходящей из пола, и вводным устройством электродвигателя допускается выполнять монтажным профилем или стальным коробом.
9-34. При замере трубы нажимная муфта должна быть притянута болтами до отказа к кабельной муфте (или корпусу вводного устройства электродвигателей до 3-го габарита). Затягивание болтов необходимо производить равномерно во избежание перекоса нажимной муфты и повреждения резьбы болтов.
9-35. Если диаметр вводной трубы меньше диаметра отверстия в нажимной муфте вводного устройства, в нажимную муфту необходимо ввернуть соответствующую переходную футорку.
9-36. При выходе труб из пола трубы должны иметь разъемные соединения (рис. 73 — 75) и, если нужно, в соответствии с разд. 7 настоящей Инструкции разделительное уплотнение. Если кабель затянут в трубу до установки электродвигателя, разъемное соединение не собирается.

Рис. 73. Подвод труб к электродвигателям серии ВАО.
а ¾ подвод к электродвигателям 0 ¾ 3-го габаритов; б ¾ подвод к электродвигателям 9-го габарита; 1 ¾ разъемное соединение трубы.


Рис. 74. Подвод трубы к электродвигателям 4 ¾ 8-го габаритов.
а ¾ подвод сбоку электродвигателя; б ¾ подвод со стороны вентилятора электродвигателя;
1 ¾ разъемное соединение трубы.


Рис. 75. Подвод труб к электродвигателям серии ВАО 315 ¾ 450-го габаритов.
а ¾ подвод сбоку; б ¾ подвод со стороны вентилятора; 1 ¾ разъемное соединение трубы.
9-37. При подводе труб к электродвигателям серии ВАО 315 — 450-го габаритов особое внимание следует обратить на привязку труб к осям фундамента электродвигателя. Привязка труб к оси фундамента электродвигателей серии ВАО 315 — 450-го габаритов при горизонтальном и вертикальном расположении вводного устройства приведена на рис. 76 и 77, а привязка трубы при подводе к высоковольтным двигателям серии ВАО 450 ¾ 630-го габаритов приведена на рис. 78.

Рис. 76. Привязка труб от оси фундамента при горизонтальном расположении вводного устройства электродвигателей серии ВАО 315 ¾ 450-го габаритов.
|
Габарит |
Размер, мм |
||
|
электродвигателя |
a |
b |
c |
|
315 |
680 |
755 |
130 |
|
355 |
730 |
810 |
137 |
|
450 |
795 |
875 |
137 |

Рис. 77. Привязка труб к фундаменту при вертикальном расположении вводного устройства электродвигателей серии ВАО 315 ¾ 450-го габаритов.
|
Габарит электродвигателя |
Размеры, мм |
|||
|
|
a |
b |
c |
h |
|
315 |
52 |
130 |
880 |
175 |
|
355 |
150 |
137 |
935 |
238 |
|
450 |
150 |
137 |
1000 |
360 |

Рис. 78. Размеры привязок вводных устройств и присоединение трубопровода к вводным устройствам высоковольтных электродвигателей ВАО 450 ¾ 630-го габаритов.
|
Габарит |
Размеры, мм |
||
|
электродвигателя |
A |
b |
h |
|
450 |
310 |
8 65 |
140 |
|
500 |
310 |
915 |
21 0 |
|
560 |
310 |
995 |
290 |
|
630 |
310 |
1070 |
375 |
9-38. При вводе кабелей с бумажной изоляцией в трубе, выходящей из пола, после снятия брони и припайки заземляющего проводника (перед выполнением заделки) на кабель должен быть надет участок трубы (между вводным устройством и трубой, выходящей из пола).
9-39. Если подвод питания к электродвигателям осуществляется проводами, необходимо выполнить следующие операции:
а) разобрать разъемное соединение трубопровода ввода в электродвигатель и затянуть провода в трубопровод до разъемного соединения, марка и сечение которых должны соответствовать указаниям в проекте;
б) снять с вводного устройства нажимную муфту с ввернутым в нее участком водогазопроводной трубы и вынуть нажимную и упорную шайбы и резиновое уплотнительное кольцо;
в) просверлить в кольце по меткам для проводов четыре отверстия диаметром, равным диаметру проводов;
г) затянуть провода в участок водогазопроводной трубы с навернутой на него нажимной муфтой и, придерживая концы проводов, довести участок трубы до основного трубопровода;
д) надеть на провода нажимную шайбу с четырьмя отверстиями, резиновое кольцо и упорную шайбу. Каждый провод должен проходить через отдельные отверстия в шайбах и резиновом кольце;
е) ввести провода во вводное устройство через вводное отверстие и вставить в гнездо кабельной муфты упорную шайбу, резиновое кольцо и нажимную шайбу. Втягиванием проводов во вводное устройство подвести к кабельной муфте участок водогазопроводной трубы с навернутой на него нажимной муфтой.
При установке в гнездо кабельной муфты, нажимной и упорной шайб и резинового уплотнительного кольца необходимо следить, чтобы отверстия в шайбах совпадали с отверстиями в резиновом кольце. Перед продеванием проводов в отверстия шайб и резинового кольца шайбы рекомендуется предварительно приклеить к резиновому кольцу клеем № 88.
9-40. К электродвигателям, установленным на основаниях, подверженных вибрации, подвод следует выполнять:
а) во взрывоопасных зонах всех классов — гибкими переносными кабелями с резиновой изоляцией (от пусковых аппаратов, установленных как у электродвигателя, так и в электропомещениях) без дополнительной защиты от механических повреждений. Марки кабелей по классам взрывоопасных зон приведены в приложении 2;
б) во взрывоопасных зонах классов В- I , В- I а и В- II ¾ гибкими проводами в водогазопроводных трубах с переходом на герметичные металлорукава типа Р I -Ц-А и Р II -Ц-А (табл. 12);
Таблица 12
Рукава гибкие металлические герметичные с подвижным швом1 по ГОСТ 3575-47
|
Диаметр, мм |
R *, мм, не менее |
Масса 1 м рукава, кг |
||
|
условного прохода |
внутренний, не менее |
наружный, не более |
|
|
|
20 |
19,0 |
28 |
350 |
1,2 |
|
25 |
23,5 |
33 |
425 |
1,5 |
|
38 |
36,0 |
46 |
650 |
2,4 |
|
50 |
48,0 |
62 |
800 |
4,0 |
|
75 |
72,0 |
87 |
1200 |
5,5 |
1 По условиям заказа герметичные металлорукава могут поставляться мерными отрезками определенной длины. Нормальные длины 1; 1,5; 4; 6; 8; 10; 12 и 15 м. Рукава выпускаются с соединительной арматурой на концах (наконечником и штуцером с накидной гайкой) или без арматуры., если таковая не оговорена в заказе.
* R — радиус внутренней окружности при изгибе рукава в кольцо или по дуге.
в) во взрывоопасных зонах остальных классов — гибкими проводами в водогазопроводных трубах с переходом на резиновые напорные рукава (табл. 13) при условии их соответствия окружающей среде (пары бензина, бензола и т. п.).
Таблица 13
Рукава резиновые напорные с текстильным каркасом
по ГОСТ 18698-73
|
Диаметр, мм
|
Диаметр, мм
|
||||
|
условного прохода трубы |
наружный |
внутренний резинотканевых рукавов |
условного прохода трубы |
наружный |
внутренний резинотканевых рукавов |
|
20 |
26,8 34,4 |
25,0 32,0 |
50 |
60,0 70,6 |
65,0 75,0 |
|
25 |
33,5 43,3 |
32,0 ¾ |
70 |
75,5 87,2 |
75,0 ¾ |
|
40 |
48,0 57,8 |
50,0 ¾ |
80 |
88,5 99,9 |
|
Примечания: 1. В числителе указан диаметр для трубы, в знаменателе — для муфты.
2. Типы резиновых рукавов должны выбираться по условиям среды, например рукава типа В предназначаются для среды с парами или брызгами воды и растворов неорганических кислот и щелочей с концентрацией до 20 %; рукава типа Б ¾ для среды с парами или брызгами бензина, керосина, нефти и масла; рукава типа Ш ¾ для среды с парами или брызгами слабощелочных или слабокислотных растворов. Пример условного обозначения бензостойких рукавов с внутренним диаметром 25 мм: Рукав Б ¾ 25 Æ ГОСТ 18698-73.
Соединение герметичных металлорукавов с электродвигателями и аппаратами осуществляется ввертыванием в отверстие вводного устройства штуцера, а на трубу ¾ накидной гайки металлорукава.
Соединение резиновых напорных рукавов производится с помощью патрубка из водогазопроводной трубы соответствующего диаметра (рис. 79).

Рис. 79. Соединение резинового напорного рукава с водогазопроводной трубой или с муфтой на трубе.
1 ¾ труба водогазопроводная; 2 ¾ резиновый напорный рукав; 3 ¾ прокладка стальная;
4 ¾ муфта по ГОСТ 8966-59; 5 ¾ хомут стальной толщиной 2 мм; 6 ¾ болт М8х35.
9-41. Применение негерметичных металлорукавов (например, Р3-Ц-Х) во взрывоопасных зонах всех классов не допускается.
Особенности монтажа электродвигателей, продуваемых под избыточным давлением
9-42. При установке взрывозащищенных электродвигателей, продуваемых под избыточным давлением, отдельные секции воздуховодов должны соединяться сварным швом или же иным способом, гарантирующим плотность и прочность их соединения.
9-43. Присоединения кабеля к контактным зажимам электродвигателей должно выполняться во вводных устройствах, обеспечивающих уплотнение ввода кабеля по оболочке.
9-44. У электродвигателей большой мощности (например, типа СТМ II -9000-2), имеющих для подвода кабелей фундаментную яму, подсоединение жил кабелей, оконцованных наконечниками, должно выполняться непосредственно к шинам выводов статорных обмоток. При этом болтовые соединения должны иметь приспособления, исключающие самоотвинчивание.
9-45. Место ввода кабелей в фундаментные ямы должно быть уплотнено одним из способов, соответствующих классу взрывоопасной зоны, где установлен электродвигатель.
9-46. Схема защиты должна выполняться так, чтобы при падении избыточного давления электродвигателя ниже 0,1 кПа (10 мм вод. ст.) электродвигатель отключался от сети или включался сигнал (в зависимости от уровня взрывозащиты).
9-47. В схемах управления электродвигателями должны быть предусмотрены блокировки:
а) исключающая пуск электродвигателя без предварительной продувки его чистым воздухом в объеме, равном пятикратному объему корпуса электродвигателя и воздуховодов, для чего должны быть предусмотрены продувочные клапаны;
б) отключающая электродвигатель или включающая сигнализацию (в зависимости от класса взрывоопасных зон) в случае падения избыточного давления ниже 0,1 кПа (10 мм. вод. ст.).
9-48. Избыточное давление должно непрерывно контролироваться сигнализаторами падения давления (например, СПДМ в нормальном исполнении с пределами измерения 0,2 — 1 кПа (20 — 100 мм вод. ст.). Сигнализаторы должны устанавливаться вне взрывоопасного помещения.
10. МОНТАЖ ВЗРЫВОЗАЩИЩЕННЫХ АППАРАТОВ
Общие указания
10-1. Взрывозащищенные аппараты должны устанавливаться во взрывоопасных зонах на стойках К310М или монтажных профилях К108 или К239.
Аппараты к монтажным профилям К108 рекомендуется крепить болтами с закладными гайками.
При установке аппаратов во взрывоопасных зонах класса В-1г они должны быть защищены от воздействия атмосферных осадков.
10-2. Стойки устанавливают на полу и закрепляют анкерными болтами, а монтажные профили закрепляют на стенах капроновыми дюбелями или дюбелями с распорной гайкой; к металлическим основаниям стойки и монтажные профили приваривают.
10-3. На место монтажа аппараты должны поставляться из мастерской электромонтажных заготовок закрепленными на конструкциях (стойках, монтажных профилях).
10-4. Взрывозащищенные аппараты допускают ввод как кабелей, так и проводов в водогазопроводных трубах.
10-5. При выборе кабеля марки ВБВ (АВБВ) для ввода во взрывозащищенные аппараты следует учитывать максимально допустимый диаметр кабеля, который можно ввести в резиновое уплотнительное кольцо вводного устройства. Наружные диаметры кабелей марок ВБВ и АВБВ по сечениям и жильности, а также диаметры вводных отверстий взрывозащищенных аппаратов приведены в табл. 14.
Таблица 14
Максимально допустимые диаметры кабелей марок ВБВ и АВБВ для ввода во взрывозащищенные аппараты
|
Электроаппаратура |
Диаметр отверстия в сальнике или нажимной муфте, мм |
Максимально допустимый наружный диаметр подводимого кабеля, мм |
Сечение кабелей, мм2 |
|
ПМ-712-25 ПМ-722-25 |
25 |
22,0 |
4х6 |
|
ПМ-712-100 ПМ-722-100 |
40 |
38,8 |
3х35+1х16 |
|
ПМ-711А-250 ПМ-721А-250 |
70 |
56,4 |
3х120+1х70 |
|
КУ-91-В3Г КУ-92-В3Г КУ-93-В3Г |
25 |
22,0 |
4х6 |
|
КУВ-1 КУВ-2 КУВ-3 КУВ-11 КУВ-12 КУВ-13 |
28 |
27,6 |
4х10 |
|
КУ-700/2 КУ-700/3 КВ-700 |
15 |
— |
— |
10-6. При подводе к аппаратам открыто проложенных кабелей марок ВБВ (АВБВ) защита их от механических воздействий не требуется независимо от высоты прокладки.
10-7. Кабели других марок, допускаемых к применению во взрывоопасных зонах, как бронированные, так и небронированные, должны быть защищены от возможных механических воздействий на высоте не ниже 2 м от пола или площадки обслуживания аппаратов. Защита может быть осуществлена монтажными профилями, металлическими коробами, швеллерами, трубами и т. п. Допускается разрыв между вводом в аппарат и защитными ограждениями кабеля не более 100 мм.
10-8. При вводе в аппараты кабелей марок ВБВ (АВБВ) кабели должны быть уплотнены по наружной оболочке. Исключение составляют вводные устройства постов управления КУ-700 и конечных выключателей ВК-700, у которых диаметр вводного отверстия меньше диаметра наружной оболочки кабеля.
Во вводные устройства: КУ-700 и ВК-700 следует ввернуть двойной ниппель или стандартный сгон и сальник У57, а резиновое уплотнительное кольцо сальника надеть на внутреннюю оболочку кабеля; заземляющий проводник брони кабеля подключается к болту заземления снаружи поста управления или конечного выключателя. На заземляющий проводник предварительно следует надеть трубку из поливинилхлоридного пластиката. Броня кабелей других марок с поливинилхлоридной или резиновой оболочкой заземляется аналогичным способом.
Монтаж магнитных пускателей ПМ-702-25, ПМ-702-100 и ПМ-701А-250 в исполнении НМБ и НМГ
10-9. Магнитные пускатели серий ПМ-702 и ПМ-701А (приложение 9) устанавливают во взрывоопасных зонах всех классов, кроме зон класса В- I , В- II , на стойках или стенах, не подверженных вибрации или сотрясениям, в строго вертикальном положении.
10-10. На передней стенке бачка пускателя нанесена маркировка взрывозащиты НМБ или НМГ. В пускателях с маркировкой НМБ установлена тепловая защита, а в пускателях НМГ защита отсутствует.
10-11. Вводные устройства пускателей на номинальные токи 100 и 250 А имеют кабельные муфты, предназначенные для размещения в них заделок кабелей с бумажной изоляцией. В эти пускатели кабели с бумажной изоляцией следует вводить только снизу, а кабели с резиновой или поливинилхлоридной изоляцией, а также провода — как сверху, так и снизу.
10-12. Пускатели имеют сверху и снизу по два вводных отверстия, укомплектованных резиновыми кольцами: одно — для уплотнения кабеля, другое — для уплотнения четырех проводов. Верхние отверстия с уложенными в гнезда резиновыми кольцами закрыты штампованными стальными заглушками, а нижние вводы комплектуются нажимными муфтами с трубной резьбой (аналогично вводам в электродвигатели). Размеры трубных вводов пускателей приведены в приложении 9 (табл. П9-1).
10-13. При вводе кабеля в пускатель сверху нажимную муфту нижнего ввода следует поменять местом с заглушкой верхнего ввода. Технология заделок концов кабелей приведена в разд. 8 настоящей Инструкции.
10-14. Пускатели серии ПМ-702 и ПМ-701А допускают ввод проводов цепей управления в трубах или кабелей через два боковых отверстия, снабженные ввертными сальниками с проходными отверстиями 20 мм.
10-15.Перед монтажом пускателя производят его внешний осмотр и ревизию со вскрытием, для чего необходимо:
а) проверить соответствие типа пускателя проекту;
б) распаковать пускатель, очистить его от пыли и консервирующей смазки;
в) вскрыть и промыть бензином все части и бак для масла, протереть чистыми тряпками, не оставляющими волокон, и просушить;
г) проверить свободное перемещение подвижной системы, а также ключей местного управления, установленных на корпусе магнитных пускателей, удалить грязь с поверхностей соприкосновения якоря, включающего электромагнит, и проверить исправность короткозамкнутого витка на нем;
д) проверить состояние поверхности главных и блокировочных контактов. В случае неровностей необходимо зачистить контакты личным напильником (зачистка наждачной или стеклянной бумагой не допускается. При зачистке контактов необходимо предохранять бак от попадания в него металлических опилок;
е) проверить контакты во включенном положении. Главные контакты должны иметь линейное касание без просвета по всей ширине; добиваться плоскостного касания контактов не следует. Нажатие главных контактов определяется по показанию динамометра, когда при оттягивании им подвижного контакта в образовавшийся зазор может свободно проходить тонкая бумажная полоса (рис. 80, а).


Рис. 80. Проверка главных контактов и зазоров магнитной системы пускателей серии ПМ-702.
а — проверка нажатия главных контактов с помощью динамометра и бумажной полоски;
б — проверка контролируемых зазоров; 1 — неподвижный контакт; 2 — подвижный контакт в отключенном положении; 3 — провал подвижного контакта после включения; 4 — магнитная система.
Контрольные значения величин нажатий, провалов при включенном положении и зазоров при отключенном положении главных контактов, а также зазоров магнитной системы пускателей серии ПМ-702 должны соответствовать данным табл. 15 (рис. 80,б);
Таблица 15
Величина нажатий, провалов и зазоров контактов пускателей серии ПМ-702 и ПМ-701А
|
Номинальный ток, А |
Контролируемые величины |
|||
|
|
Нажатие главных контактов, Н |
Зазор А магнитной системы при отключенном положении, мм |
Зазор Б главных контактов при отключенном положении, мм |
Провал В подвижного контакта после включения, мм |
|
25 |
5 ¾ 7 |
10,5 ¾ 11,5 |
6 ¾ 7 |
3,5 ¾ 4,5 |
|
100 |
15 — 19 |
16 ¾ 17 |
10 ¾ 12 |
3 ¾ 5 |
|
250 |
22,5 ¾ 27,5 |
17 — 18 |
14 ¾ 15 |
3,5 ¾ 4,5 |
ж) проверить плотность затяжки всех винтовых (в том числе и контактных) соединений и подтянуть их, проверив также целость пружинных и стопорных шайб, препятствующих самоотвинчиванию;
з) проверить и отрегулировать работу механизма свободного расцепления (воздействие максимально-тепловых расцепителей).
Отключение должно происходить безотказно, без каких-либо заклиниваний, затираний и задержек;
и) проверить наличие и исправность уплотняющей прокладки на крышке коробки контактных зажимов и в масляном баке.
10-16. При подводе кабелей марок ВБВ (АВБВ) к пускателям, установленным на стойках К310М (рис. 81) или конструкциях на стене, питающий кабель прокладывают на перфорированном лотке, а ввод в пускатель рекомендуется осуществлять сверху, при этом расстояние между последней скобой крепления и нажимной муфтой ввода в пускатель должно быть не более 350 мм.

Рис. 81. Подвод кабелей марки ВБВ (АВБВ) пускателю серии ПМ-702, установленному на стойках.
Отрезок кабеля от пускателя к двигателю крепится скобой к перфорированной рейке с закладными гайками, установленной между стойками, при этом расстояние от нажимной муфты пускателя до скобы закрепления должно быть не более 350 мм.
10-17. После ввода кабелей в пускатель фазные жилы кабелей следует подсоединить к контактным зажимам. Нулевые жилы, а также проводники заземления брони кабелей подсоединить к заземляющим зажимам, расположенным внутри пускателя.
10-18. Закрыть крышку пускателя и затянуть крепящие болты.
10-19. Бак пускателя залить чистым сухим трансформаторным маслом до отметки на передней стенке, поднять его и закрепить к корпусу пускателя.
Монтаж постов управления серии КУ-700, конечных выключателей серии ВК-700 в маслонаполненном исполнении
10-20. Посты управления серии КУ-700 и конечные выключатели серии ВК-700 с маркировкой взрывозащиты МОД устанавливают во взрывоопасных зонах всех классов с взрывоопасными средами всех категорий и групп в вертикальном положении.
10-21. Пред монтажом постов управления и конечных выключателей необходимо произвести их внешний осмотр и ревизию со вскрытием и устранить обнаруженные неисправности.
Все части, погружаемые в масло, необходимо промыть чистым бензином и просушить.
10-22 Вводные устройства постов управления конечных выключателей допускают как ввод кабелей, так и проводов.
10-23. Посты управления серии КУ-700 и конечные выключатели серии ВК-700 имеют вводы как сверху, так и снизу с трубной резьбой 3/4 ² . Верхний ввод закрыт резьбовой пластмассовой заглушкой, а нижний ввод укомплектован резиновым уплотнительным кольцом и пластмассовой сальниковой гайкой.
10-24. При вводе открыто проложенного кабеля пробку верхнего ввода следует поменять местами с уплотнительным кольцом и сальниковой гайкой нижнего ввода.
10-25. Провода вводят в посты управления и конечные выключатели в трубах. Соединение постов управления и конечных выключателей с трубой должно выполняться посредством стандартного сгона, ввернутого на короткой резьбе во вводное отверстие. Сгон с трубопроводом соединяют муфтой с контргайкой (рис. 82).

Рис. 82. Ввод трубопровода в пост управления КУ-700.
1 ¾ стандартный сгон; 2 ¾ муфта с контргайкой.
10-26. Затягивание проводов допускается выполнять без снятия аппарата. При вводе трубы снизу для затягивания проводов необходимо отвернуть резьбовую пробку верхнего ввода и снять бачок для масла.
10-27. Резиновая изоляция проводов или жил кабеля на участке погружении в масло и выше уровня масла на 40 — 50 мм должна быть удалена. На оголенные участки жил однопроволочных проводов с заходом на изоляцию следует надеть изоляционные трубки с маслостойкой изоляцией, например из поливинилхлоридного пластиката или лакоткани.
10-28. Бачки постов управления и конечных выключателей заливают трансформаторным маслом до уровня, указанного на аппаратах.
10-29. Габаритные размеры и электрические характеристики постов управления и конечных выключателей даны в приложении 10.
Монтаж постов управления серии КУ-90 и КУВ
10-30. Посты управления могут устанавливаться во взрывоопасных зонах всех классов. Посты управления серии КУ-90 с маркировкой взрывозащиты В3Г предназначены для работы во взрывоопасных средах до третьей категории и группы Г включительно, а посты управления серии КУВ с маркировкой взрывозащиты В1А (РВ) — для первой категории и группы А (применять не рекомендуется).
10-31. Вводные отверстия постов управления серии КУ-90 и КУВ расположены снизу и укомплектованы резиновыми кольцами для уплотнения оболочки кабеля, стальной шайбой и нажимной гайкой. У постов управления серии КУВ нажимная гайка имеет раструб и скобу для закрепления кабеля. Посты управления серии КУ-90 могут комплектоваться вместо нажимной гайки стальным ниппелем с наружной трубной резьбой 1" для соединения с трубой при вводе в посты проводов. Это должно быть указано при заказе заводу-изготовителю.
10-32. Для ввода кабеля в посты управления снимают крышку и отвертывают нажимную гайку. Из гнезда ввода вынимают стальную шайбу и резиновое уплотнительное кольцо. Надевают на кабель нажимную гайку и стальную шайбу, а на оболочку кабеля — резиновое кольцо.
10-33. Заделанный конец кабеля вводят во вводное отверстие и уплотняют по оболочке ввертыванием сальниковой гайки до отказа.
10-34. При вводе кабелей марок ВБВ (АВБВ) и кабелей с поливинилхлоридной оболочкой в посты управления серии КУ-90 на вводном конце кабеля заземляющий проводник к броне не припаивается. У кабелей марок ВБВ (АВБВ) ленты брони отрезают и снимают заподлицо с наружной шланговой поливинилхлоридной оболочкой. Заземление брони кабелей производится в этом случае только со стороны пусковой аппаратуры в электротехническом помещении.
10-35. При вводе кабелей в посты управления серии КУВ нулевую (заземляющую) жилу и проводник заземления кабелей марки ВБВ (АВБВ) присоединяют к внутреннему винту заземления, а заземляющий проводник брони кабелей других марок с поливинилхлоридной или резиновой оболочкой — к винту заземления, расположенному на корпусе поста снаружи. При этом до подсоединения заземляющего проводника на него следует надеть трубку из поливинилхлоридного пластиката.
10-36. Для ввода проводов в трубе в посты управления серии КУВ на трубу навертывают коробку разделительного уплотнения, которую соединяют с постом посредством стандартного сгона с нажимной гайкой поста на длинной резьбе (рис. 83). В случае управления электродвигателем с двух мест подводится две трубы.

Рис. 83. Ввод проводов в водогазопроводных трубах в пост управления серии КУВ.
1 ¾ вводное устройство; 2 ¾ переходная муфта; 3 ¾ контргайка; 4 ¾ стандартный сгон;
5 ¾ коробка разделительного уплотнения; А ¾ изготовление переходной футорки из нажимной гайки.
10-37. Установленную на корпус поста крышку закрепляют болтами. У постов управления следует проверить щупом зазор между крышкой и корпусом поста по всему периметру. Зазор должен быть не более указанного в заводской инструкции по монтажу и эксплуатации поста управления.
10-38. Габаритные размеры и электрические характеристики постов управления серии КУ-90 и КУВ приведены в приложении 9.
II. МОНТАЖ ВЗРЫВОЗАЩИЩЕННЫХ СВЕТИЛЬНИКОВ
Общие указания
11-1. Параметры и назначение выпускаемых в настоящее время взрывозащищенных светильников приведены в приложении 10.
11-2. Светильники рекомендуется устанавливать одновременно с прокладкой питающей сети.
11-3. Монтажу не подлежат светильники, у которых имеются трещины на стеклянных защитных колпаках, в литых корпусах или сальниковых гайках вводных устройств, неисправны патроны, имеются раковины или углубления на сопрягаемых поверхностях (в результате коррозии).
