ВСН 332-74, часть 6
11-4. На каждую полную (25 шт.) и неполную партию светильников прилагаются два ключа (комплект).
Монтаж светильников при открытой прокладке кабелей
11-5. Светильники вместе с подвесами, кронштейнами, трубами или другими крепежными конструкциями закрепляют неподвижно на поддерживающих опорах, устанавливаемых на строительных элементах здания (фермы, балки и т.п.). Применение кронштейнов У114, К276, К277 для установки взрывозащищенных светильников не допускается.
11-6. К светильникам Н4БН-150, В3Г-200АМ, В3Г/В4А-200М, В3Г-100, В4А-60, ПОДЛ 1х40, НОГЛ 1х80 и другим, у которых вводное устройство отделено от патрона светильника, присоединение к зажимам вводной коробки производится непосредственно кабелем, которым выполняется групповая сеть.
11-7. У светильников Н4БН-150 (рис. 84), В3Г-200АМ (рис. 85), В3Г/В4А-200М (рис. 86) вводное устройство расположено в верхней части корпуса. Монтажное пространство имеет крышку с резьбой и отделено от нижней части светильника.

Рис. 84. Светильник Н4БН-150 с вертикальным вводом кабеля.

Рис. 85. Светильник В3Г-200АМ.
1 ¾ нажимная муфта; 2 ¾ резиновое уплотнительное кольцо; 3 ¾ крышка вводного устройства; 4 ¾ заземляющий зажим; 5 ¾ контактная колодка; 6 ¾ провод марки ПРКС.

Рис. 86. Светильник В3Г/В4А-200М.
1 ¾ 6 ¾ см. на рис. 85.
Ввод в светильники осуществляется как небронированным трехжильным кабелем (рис. 87), прокладываемым открыто, так и тремя проводами в водогазопроводных трубах тех же мирок, которые применяют в групповых сетях. Применение термостойких проводов марки ПРКС по ТУ 16.505.317-72 для этих светильников не требуется. При открытой прокладке кабеля светильники закрепляют на подвесе или кронштейне двумя болтами М6, расположенными сбоку корпуса светильника на расстоянии 34 мм друг от друга.

Рис. 87. Ввод кабеля в светильник Н4БН-150.
1 ¾ болт крепления светильника; 2 ¾ жилы кабеля; 3 ¾ резиновое кольцо; 4 ¾ монтажный профиль.
Для уплотнения кабеля, прокладываемого открыто, или проводов в трубах светильник комплектуют двумя резиновыми уплотнительными кольцами диаметром 40 мм:
а) с одним отверстием для кабеля с минимальным наружным диаметром 10 мм и кольцевыми надрезами 3 для кабелей диаметром 12 — 16 мм (рис. 87);
б) с тремя отверстиями 2 для проводов с наружным диаметром 3,5 — 5,5 мм (рис. 84).
Внутри вводного устройства расположена контактная изоляционная колодка с двумя винтами для подключения питающих алюминиевых или медных проводников (жил кабеля или проводов). К колодке от контактов патрона светильника подключены термостойкие провода 6 марки ПРКС.
11-8. Монтаж светильников при открытой прокладке кабеля рекомендуется выполнять в МЭЗ в следующей последовательности:
а) отрезать кусок кабеля, соответствующий длине участка от светильника до осветительной коробки, плюс 400 мм на разделку концов кабеля;
б) отвернуть ключом два болта, крепящих нажимную муфту 1 (рис. 84 — 86), снять ее и вынуть из гнезда ввода резиновое кольцо 2;
в) снять оболочку с одного конца кабеля на длину 130 мм. Одну жилу отмерить длиной 100 мм, считая от оболочки и остаток отрезать. Снять изоляцию с концов двух длинных жил на длину 15 мм и с укороченной жилы на 20 мм. Изогнуть концы жил в кольцо у длинных жил под винт М5, а у короткой — под винт М6;
г) вывернуть ключом крышку 3 из монтажного отверстия вводного устройства светильников, у светильника Н4БН-150 отвернуть два винта 12 (рис. 84) крепления контактной колодки и вынуть ее;
д) надеть на оболочку конца кабеля нажимную муфту (вперед фланцем) и резиновое кольцо, продвинув его по кабелю на расстояние 140 мм от конца. Для надежного уплотнения кабеля диаметр отверстия в резиновом кольце не должен превышать диаметр вводимого кабеля более чем на 1 мм;
е) ввести во вводное отверстие светильника разделанный конец кабеля и вывести концы жил через монтажное отверстие;
ж) вставить резиновое кольцо и нажимную муфту в гнездо ввода в светильник и равномерным затягиванием двух болтов до отказа уплотнить место ввода кабеля;
з) подсоединить короткую жилу (длиной 100 мм) к заземляющему зажиму 4 и уложить запас жилы внутри вводного устройства, подсоединить длинные жилы (длиной 130 мм): фазную к левому, а нулевую — к правому зажимам контактной колодки 5. У светильника Н4БН-150 ввести контактную колодку через монтажное отверстие, уложить запас жил и закрепить колодку двумя винтами;
и) снять оболочку с другого конца кабеля, прозвонить и промаркировать жилы;
к) завернуть ключом крышку монтажного отверстия до упора. При установке светильника в сыром помещении или снаружи место выхода кабеля из нажимной муфты заполнить уплотнительным составом УС-65;
л) для ввертывания и проверки лампы светильника Н4БН-150 повернуть отражатель II против часовой стрелки и снять его; отвернуть четыре невыпадающих болта 7, повернуть против часовой стрелки до упора кольцо 8, опустить его вместе со стеклянным колпаком 9 и защитной сеткой 10 вниз, насколько позволит цепочка 13; ввертывание лампы в светильники В3Г-200АМ и В3Г/В4А- 200М выполняется аналогично ввертыванию ламп в светильники В3Г-200А и ВЗГ/В4А-200.
Сборку светильников осуществляют в обратной последовательности.
Монтаж светильников и ввертывание ламп следует производить при отсутствии напряжения в сети;
м) на месте монтажа заряженный светильник закрепить на ранее установленный подвес или кронштейн двумя болтами 1 (рис. 87), проложить и закрепить кабель по монтажному профилю 4 до ответвительной коробки;
н) выполнить ввод кабеля в ответвительную коробку У409, соединить и изолировать жилы четырьмя слоями липкой поливинилхлоридной ленты толщиной 0,2 мм.
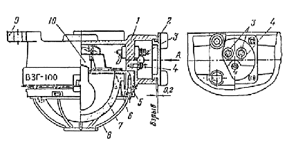
11-9. При подключении проложенного кабеля к светильникам В3Г-100 (рис. 88) и В4А-60 необходимо выполнить следующие операции:

Рис. 88. Взрывозащищенный светильник В3Г-100.
1 ¾ корпус; 2 ¾ крышка вводного устройства; 3 ¾ контактные зажимы; 4 ¾ контакт заземления; 5 ¾ кольцо; 6 ¾ прокладка; 7 ¾ стеклянный колпак; 8 ¾ сетка; 9 ¾ лапы крепления светильника; 10 ¾ патрон.
а) закрепить светильник на подготовленном основании. Эти светильники следует устанавливать на специальной скобе, приведенной в действующем типовом проекте, или непосредственно на основании с закреплением дюбелями;
б) открыть крышку вводного устройства, вывернуть патрубок, вынуть нажимную шайбу и резиновое уплотнительное кольцо;
в) отмерить длину конца кабеля для присоединения жил к контактным зажимам и создания запаса на два-три пересоединения и отрезать излишек;
г) снять с конца кабеля оболочку на таком расстоянии, чтобы она входила внутрь вводной коробки светильника на 10 — 15 мм; снять изоляцию с концов медных жил на длину 12 — 15 мм, а с алюминиевых жил — на длину 25 — 30 мм, достаточную для изгибания кольца. Надеть на оболочку кабеля патрубок, нажимную шайбу и резиновое уплотнительное кольцо;
д) резиновую изоляцию жил кабеля обмотать одним слоем липкой поливинилхлоридной ленты с перекрытием предыдущего витка и с заходом на оболочку кабеля;
е) ввести кабель в светильник, установить резиновое кольцо и нажимную шайбу в гнездо и, ввертывая патрубок, уплотнить кабель;
ж) промаркировать жилы кабеля и подключить их к контактным зажимам. В случае ввода в светильник одного кабеля второй ввод должен быть надежно уплотнен заводской заглушкой и резиновым кольцом;
з) установить крышку вводного устройства на место и закрепить пить ее; проверить щупом зазор между крышкой и коробкой. Зазор не должен превышать величины, указанной в заводской инструкции;
и) вывернуть стопорный винт и специальным ключом (рис. 89) вывернуть крепящие болты, затем специальным ключом (рис. 90) вывернуть кольцо с колпаком, ввернуть исправную лампу и собрать светильник.

Рис. 89. Ключ для стяжных болтов и светильников ВЗГ-100 и В4А-60

Рис. 90. Ключ для снятия кольца с колпаком и сеткой у светильников ВЗГ-100 и В4А-60.
Подключение кабелей в вводных устройствах светильников типов ВЗГ-100 и В4А-60, проходящих шлейфом в следующий светильник, как показано на рис. 91.

Рис. 91. Подключение кабелей в вводных устройствах светильников ВЗГ-100 и В4А-60. (Приведен вариант подсоединения кабеля, проходящего шлейфом в следующий светильник.)
11-10. Ввод кабеля в светильник НОДЛ 1х40, НОГЛ 1х80 и НОГЛ 2х80 (рис. 92) выполняется в следующей последовательности:

Рис. 92. Светильник повышенной надежности против взрыва НОГЛ-80.
1 ¾ крышка вводной коробки светильника; 2 ¾ резиновая уплотнительная прокладка;
3 ¾ нажимная муфта; 4 ¾ шайба стальная.
а) открыть крышку вводного устройства светильников 1, снять нажимный фланец 3, вынуть стальную шайбу 4 и резиновое уплотнительное кольцо 2 из гнезда;
б) отмерить длину кабеля, необходимую для присоединения к контактным зажимам внутри вводного устройства и создания запаса на два-три пересоединения, и отрезать излишек;
в) снять с конца кабеля оболочку на таком расстоянии, чтобы оболочка входила внутрь вводного устройства на 10 — 12 мм, снять изоляцию с концов жил на длину 25 — 30 мм, достаточную для изгибания кольца;
г) надеть на оболочку кабеля нажимную муфту, стальную нажимную шайбу и резиновое уплотнительное кольцо;
д) ввести кабель в светильник, установить резиновое уплотнительное кольцо и стальную шайбу во вводное отверстие. Закрепить двумя болтами нажимную муфту и затягиванием болтов уплотнить резиновым кольцом место ввода кабеля.
11-11. При вводе проводов в светильники В3Г-200А (рис. 93), В3Г/В4А-200 (рис. 94), Н4Б-300 (рис. 95), не имеющие специальных вводных устройств с открывающейся крышкой, зарядку светильников, как правило, следует производить в МЭЗ проводами с медными жилами сечением 1,5 мм2 марки ПРКС с термостойкой изоляцией на основе кремнийорганического каучука. Провода и кабели с резиновой и поливинилхлоридной изоляцией жил из-за недостаточной теплостойкости применять для зарядки этих светильников не допускается.

Рис. 93. Светильник взрывонепроницаемого исполнения В3Г-200А.
1 ¾ корпус 4; 2 ¾ винт для заземления; 3 ¾ стопорный винт; 4 ¾ уплотнительное резиновое кольцо сальника; 5 ¾ стальная шайба; 6 ¾ гайка сальника; 7 ¾ крышка; 8 ¾ винт для крепления патрона; 9 ¾ патрон; 10 ¾ стопорный винт; 11 ¾ кольцо; 12 ¾ защитный стеклянный колпак; 13 ¾ защитная сетка; 14 ¾ отражатель; 15 ¾ тепловой экран;
16 ¾ фарфоровое кольцо; 17 ¾ скоба для крепления отражателя.

Рис. 94. Светильник взрывонепроницаемый В3Г/В4А-200.
1 ¾ корпус; 2 ¾ винт для заземления; 3 ¾ стопорный винт; 4 ¾ уплотнительное резиновое кольцо сальника; 5 ¾ стальная шайба; 6 ¾ гайка сальника; 7 ¾ крышка; 8 ¾ винт для крепления контактной панели; 9 ¾ контактная панель; 10 ¾ зажимное кольцо; 11 ¾ панель патрона; 12 ¾ стопорный винт; 13 ¾ стягивающий болт; 14 ¾ прокладка трехслойная;
15 ¾ кольцо; 16 ¾ защитный стеклянный колпак; 17 ¾ защитная сетка; 18 ¾ отражатель.

Рис. 95. Светильник повышенной надежности против взрыва типа Н4Б-300.
1 ¾ гайка в крышке; 2 ¾ крышка светильника; 3 ¾ гайка сальника; 4 ¾ резиновое уплотнительное кольцо; 5 ¾ стопорный винт; 6 ¾ патрон.
11-12. Зарядка светильников должна выполняться тремя проводами длиной до ближайшей ответвительной коробки (два для питания лампы и один для заземления светильника) с использованием трубных кронштейнов или подвесов. Исполнение трубного кронштейна или подвеса и способы их крепления на основании следует выбирать в зависимости от условий установки светильников по действующему типовому проекту.
11-13. Длина концов проводов, заготавливаемых для зарядки светильников, должна быть такой, чтобы из свободного конца трубного кронштейна или подвеса они выступали не менее чем на 200 мм, а внутри светильника были оставлены концы длиной 150 мм (для светильников В3Г/В4А-200) или 80 мм (для светильников В3Г-200А и Н4Б-300).
11-14. При зарядке взрывозащищенных светильников типов В3Г/В4А-200, В3Г-200А и Н4Б-300 необходимо выполнить следующие операции:
а) ослабить специальным ключом (рис. 96) стопорный винт с трехгранной головкой и вывернуть корпус. У светильника Н4Б-300 отвернуть торцевым ключом (рис. 97) шесть гаек стяжных винтов, снять кольцо с защитным стеклянным колпаком, уплотняющей прокладкой и защитной сеткой;

Рис. 96. Ключ для монтажа светильников В3Г-200А и В3Г/В4А-200.
1 ¾ для стопорного винта с трехгранной головкой; 2 ¾ для сальниковых гаек.

Рис. 97. Ключ для светильника Н4Б-300.
1 ¾ для сальниковых гаек; 2 ¾ для гаек стяжных винтов.
б) отвинтить винты, крепящие патрон с блокировочным устройством к крышке светильника, и снять его. У светильника В3Г-200А предварительно отвернуть фарфоровое кольцо на патроне и снять тепловой экран. У светильника В3Г/В4А-200 снять контактную панель. Протереть контактные зажимы в случае их загрязнения тряпкой смоченной бензином;
в) отвернуть специальным ключом (рис. 96) гайку сальника, вынуть шайбу и резиновое уплотнительное кольцо;
г) навернуть крышку светильника с подмоткой пенькового волокна, пропитанного суриком, разведенным на олифе, или ленты ФУМ на короткую резьбу трубного подвеса или кронштейна до конца резьбы, закрепить крышку на трубе стопорным винтом и затянуть три провода;
д) ввести концы проводов в отверстия резинового уплотнительного кольца с помощью специального приспособления треста ЦЭМ (рис. 98) и держателя кольца, закрепляемого на верстаке (рис. 99), причем каждый провод должен плотно заходить в отверстие без применения какой-либо подмотки. На проводах в месте установки резинового уплотнительного кольца (на расстоянии 150 мм от концов проводов у светильника В3Г/В4А-200 и 80 мм у светильников В3Г-200А и Н4Б-300) снять подвижную оплетку на участке, равном толщине прокладки, а края оплетки закрепить бандажом из ниток;

Рис. 98. Приспособление для ввода проводов в отверстия резинового кольца взрывозащищенных светильников и ответвительных коробок У409.

Рис. 99. Держатель резинового кольца.
е) ввести резиновое уплотнительное кольцо с проводами и стальную шайбу в гнездо вводного отверстия крышки светильника. Завертывая до отказа специальным ключом сальниковую гайку, уплотнить провода резиновым кольцом;
ж) снять изоляцию с концов проводов, подключаемых к светильнику, на длину 20 мм, оголенные жилы загнуть в кольцо под винт М4 и облудить припоем ПОС-40. Присоединить провода к контактным зажимам патрона или контактной панели и к заземляющему винту. Концы всех проводов промаркировать;
з) установить патрон или контактную панель на место и закрепить; в светильнике В3Г-200А установить тепловой экран и фарфоровое кольцо на патрон и ввернуть исправную лампу. У светильника В3Г/В4А-200 лампа ввертывается в панель патрона. Панель следует вывернуть специальным ключом из корпуса вместе с зажимным кольцом; после установки лампы панель патрона ввернуть в корпус светильника;
и) навернуть до отказа корпус светильника на крышку и застопорить винтом с трехгранной. головкой. У светильника Н4Б-300 соединить нижнюю часть светильника с верхней, закрепив кольцо, стеклянный колпак, уплотняющую прокладку и защитную сетку на корпусе шестью гайками стяжных винтов.
11-15. Подготовленные в МЭЗ светильники следует устанавливать на строительных основаниях (стенах, колоннах, потолках) с жестким креплением подвесов или кронштейнов.
11-16. Расстояние от ответвительной коробки У409 до трубного кронштейна или подвеса должно быть не более 60 мм, а все три провода на этом участке должны быть заключены в одну общую трубку из поливинилхлоридного пластиката с внутренним диаметром 8 — 10 мм. Одни конец трубки 5 надрезают (рис. 100), закрепляют между шайбой и резиновым уплотнительным кольцом сальника ответвительной коробки У409, а другой входит на 30 — 40 мм в трубный кронштейн или подвес. Во взрывоопасных зонах класса В- II а на конце трубного кронштейна или подвеса устанавливают трубный сальник (У57/ I ¾ У57/ III ).

Рис. 100. Ввод проводов ПРКС в коробку У409.
1 ¾ сальниковый рожок; 2 ¾ металлическая шайба; 3 ¾ резиновое уплотнительное кольцо;
4 ¾ гайка; 5 ¾ трубка из поливинилхлоридного пластиката; 6 ¾ провода ПРКС.
11-17. Уплотнение ввода проводов в светильнике рекомендуется в МЭЗ выборочно испытать (через свободный конец кронштейна или подвеса) сжатым воздухом с избыточным давлением 50 кПа (0,5 кгс/см2 ).
Испытание проводится в течение 3 мин, при этом давление не должно уменьшаться более чем на 50 %.
11-18. Ввод проводов марки ПРКС в коробку У409 показан на рис. 100 — 102.

Рис. 101. Узел ввода провода ПРКС в коробку У409 от светильника с трубным кронштейном.
1 ¾ трубный кронштейн; 2 ¾ сальник трубный (для зон класса В- II а); 3 ¾ трубка из поливинилхлоридного пластиката; 4 ¾ ответвительная коробка У409; 5 ¾ кабель; 6 ¾ провод ПРКС.

Рис. 102. Узел ввода провода ПРКС в коробку У409 от светильника с трубным подвесом.
1 ¾ кабель; 2 ¾ коробка У409; 3 ¾ трубка из поливинилхлоридного пластиката; 4 ¾ провод ПРКС; 5 ¾ трубный подвес; 6 ¾ скоба безметизного крепления коробки или лоток К61;
7 ¾ сальник трубный (для зон класса В- II а); 8 ¾ отверстие под дюбель ручной забивки (2 шт.).
Монтаж светильников при прокладке проводов в трубах
11-19. Как правило, светильники должны поступать на монтаж со спусками и предварительно заряженными в МЭЗ.
Длина проводов определяется расстоянием от светильника до ближайшей ответвительной коробки плюс 100 мм, необходимых для соединения в коробке.
11-20. Светильник, устанавливаемый последним в линии, должен быть укомплектован стандартным сгоном. Длина заряженных проводов должна соответствовать длине участка трубы от последнего светильника до ответвительной коробки предпоследнего светильника.
Длина трубы для спуска (рис. 103) определяются по формуле:
l = h — h1 — С,
где С = А + а ¾ 2 l 1 ; 1 — длина трубы; h — отметка оси трубопровода (дается на чертеже); h1 — отметка подвеса светильника (дается на чертеже); А — высота светильника; а — расстояние от оси коробки до конца патрубка (67 мм), мм; l 1 — длина короткой резьбы (для труб 3/4" — 16 мм).
Значения С приведены ниже:
Тип светильника В3Г-200А В3Г-200АМ В3Г/В4А-200
Значения С , мм 425 550 480
Тип светильника 3Г/В4А-200М Н4Б-300 Н4Б II -150
Значения С , мм 615 385 435

Рис. 103. Прямой спуск к светильнику.
11-21. Длина трубы для последнего в линии светильника, имеющего горизонтальную и вертикальную составляющие, определяется по формуле (рис. 104): L = h ¾ h 1 + l 2 ¾ (0,43 R + С), где L — длина трубы (с учетом длины сгона); l 2 ¾ горизонтальная составляющая от центра коробки до оси спуска к светильнику; 0,43 R ¾ усадка трубы при изгибе угла радиусом; h —вертикальная отметка оси трубопровода; h 1 — вертикальная отметка подвеса светильника.

Рис. 104. Спуск к конечному светильнику с горизонтальной и вертикальной составляющими.
1 ¾ разъемное соединение.
11-22. После зарядки светильников необходимо выполнить монтаж в следующем порядке:
а) ввести концы проводов, выходящих из отрезка трубы (спуска), ввернутой в светильник, в коробку смонтированной групповой осветительной сети; ввернуть спуск со светильником в патрубок коробки до упора;
б) провода заряженного последним в линии светильника должны быть затянуты в трубу до ответвительной коробки предпоследнего светильника. После затягивания проводов в трубу стандартный сгон следует соединить с трубой в разъемном соединении, без вращения светильника;
в) соединить опрессовкой, сваркой или пайкой выведенные провода от светильника в коробке в соответствии с маркировкой проводов сети. Места соединения изолировать четырьмя слоями липкой поливинилхлоридной ленты толщиной не более 0,2 мм. Допускается применять лакоткань с последующим наложением на нее прорезиненной ленты и покрытием изоляционным лаком или эмалью.
12. МОНТАЖ ВЗРЫВОБЕЗОПАСНЫХ КРАНОВ
Общие указания
12-1. Промышленность выпускает взрывобезопасные краны:
а) подвесные однобалочные, одно- и двухпролетные с подвешенной взрывозащищенной талью. Управление краном кнопочное с пола;
б) мостовые двухбалочные однопролетные. Управление краном кнопочное как с пола, так и из кабины (рис. 105).

Рис. 105. Мостовой взрывобезопасный кран (управление из кабины).
1 ¾ кабина управления; 2 ¾ мост; 3 ¾ кабина обслуживания токоподвода; 4 ¾ токоподвод тележки; 5 ¾ станция управления; 6 ¾ электродвигатели передвижения моста.
В зависимости от назначения мостовой кран может иметь открытую или закрытую кабину.
12-2. На вертикальной стенке пролетной балки крана и на боковой панели рамы грузовой тележки (на тали — для подвесных кранов) прикреплены фирменные таблички завода-изготовителя с маркировкой взрывозащиты крана, а также табличка, заполненная согласно правилам Госгортехнадзора.
12-3. С краном поставляются:
а) паспорт крана, неотъемлемой частью которого являются паспорта электродвигателей и аппаратов;
б) инструкция по монтажу и эксплуатации крана, включая электрическую часть;
в) чертеж общего вида крана;
г) комплект кареток цехового токоподвода (в количестве, оговоренном в заказе).
12-4. Техническая документация электрической части крана включает в себя:
а) электрические схемы — принципиальную и монтажную;
б) ведомость комплектования электрооборудования;
в) чертежи электромонтажных узлов;
г) чертежи размещения электрооборудования на кране и разводки кабелей и проводов.
12-5. Питание электродвигателей тележки крана (тали ¾ для подвесных кранов) осуществляется гибким кабелем, подвешенным петлями к подвижным кареткам, перемещающимся по натянутой вдоль пролетной балки струне. Перемещение кареток осуществляется бугелем, закрепленным на тележке (тали).
12-6. Цепи управления механизмами кранов, как правило, выполнены искробезопасными, что позволяет применять кнопочные посты и конечные выключатели общего назначения.
Искробезопасность цепей управления достигается применением специального электронного устройства (искробезопасного блока), выполненного на транзисторах и диодах.
12-7. Кнопочные посты, конечные выключатели и коробки с наборными зажимами цепей управления имеют прикрепленные к ним таблички с надписью “Искробезопасные цепи”.
12-8. Монтаж электрической части кранов осуществляется в два этапа:
а)на заводе-изготовителе;
б) на месте установки крана.
Работы, выполняемые на заводе-изготовителе
Мостовые краны
12-9. На рабочей площадке пролетной балки приваривают элементы крепления электрооборудования и кабелей, включая кабель цехового токоподвода; устанавливают станции управления, электродвигатели механизмов передвижения моста, конечные выключатели (при установке в пролете двух и более кранов), соединительные коробки силовых цепей и цепей управления.
12-10. На опорных концевых балках устанавливают стойки для натягивания струны токоподвода к тележке, соединительные переходные коробки для перехода кабеля, прокладываемого по мосту, на гибкий кабель токоподвода к тележке.
12-11. На тележке крана устанавливают электродвигатели подъема и перемещения тележки, конечный выключатель подъема, соединительные переходные коробки.
12-12. На рабочей площадке пролетной балки, концевых балках и тележке прокладывают и закрепляют кабели силовых цепей и цепей управления.
12-13. Для силовых цепей, прокладываемых по мосту крана, как правило, следует применять четырехжильные кабели марки ВБВ, при этом защиты кабелей от механических воздействий не требуется.
12-14. Для цепей управления применяются кабели марок ВБВ, КРПТ или провода марки ПВ, проложенные в металлорукавах типа Р3-Ц-Х. К кнопочным постам управления подводят кабель марки РПШ и подобные ему.
12-15. Проложенные кабели вводят во вводные устройства станций управления, электродвигателей и соединительные коробки. Концы введенных кабелей и проводов цепей управления маркируют и подсоединяют согласно схеме завода.
12-16. На стойках, установленных на опорных концевых балках, натягивают струну, подвешивают и закрепляют на каретках гибкие кабели токоподвода тележки и конечного выключателя подъема. Кабели подсоединяют к конечному выключателю и в соединительных коробках на мосту и тележке.
Подвесные краны
12-17. На пролетной балке устанавливают станцию управления и конечный выключатель; выполняют прокладку, крепление и подсоединение кабелей к электрооборудованию.
12-18. На кронштейнах пролетной балки натягивают струну, подвешивают на каретках гибкие кабели токоподвода тали.
12-19. На полностью смонтированных мостовых и подвесных кранах проверяют правильность собранной схемы путем опробования всех механизмов крана вхолостую.
12-20. Мост крана с механизмом передвижения, тележка и кабина управления поставляются в неупакованном виде.
12-21. Электрооборудование установленное и проверенное на заводе-изготовителе на отдельных узлах крана (тележке, рабочей площадке пролетной балки), упаковывают в ящики на узлах крана.
12-22. Концы кабелей силовых цепей и цепей управления в местах разъемов транспортабельных узлов крана отсоединяют с одной стороны в соединительных коробках, расположенных вблизи мест разъема. Отсоединенные концы кабелей скручивают в бухты, закрепляют и защищают от возможных механических воздействий при транспортировке.
12-23. Струну токоподвода тележки в сборе с каретками и гибким кабелем, кнопочные станции управления упаковывают в отдельные ящики.
12-24. Мостовые краны разбирают на транспортабельные участии. На подвесных кранах снимают и отдельно упаковывают ходовые тележки с установленными на них электродвигателями передвижения моста и тали с подключенной кнопочной станцией.
Работы, выполняемые на месте монтажа
12-25. После сборки транспортабельных узлов крана (механомонтаж) прокладывают и закрепляют на мосту концы кабелей на участках соединений отдельных узлов крана и подсоединяют в соединительных коробках.
12-26. После закрепления кабины на кране прокладывают кабели цепей управления между кабиной и мостом крана и присоединяют их к коробке с наборными зажимами, установленной на крыше кабины, по маркировке завода-изготовителя.
На кранах, управляемых с пола, производят подсоединение подвесных кнопочных станций со стороны моста крана.
12-27. При монтаже токоподвода тележки (тали) необходимо выполнить следующие работы:
а) концы струны токоподвода с каретками и кабелем закрепить на левой и правой стойках (кронштейнов у подвесных кранов), прикрепленных к концевым балкам крана;
б) натянуть струну с таким расчетом, чтобы ее провес был в пределах 1 — 1,5 % пролета крана;
в) укрепить бугель на тележке (тали). Бугель должен поддерживать своим роликом струну;
г) после монтажа токопровода присоединить концы кабелей по маркировке завода-изготовителя.
12-28. Токоподвод к мосту крана выполняют гибким шланговым кабелем. Марки кабелей для различных классов взрывоопасных зон должны выбираться по данным приложения 2.
12-29. Кабель подвешивают и укрепляют на каретках 5 (рис. 106), движущихся по двутавровой балке вместе с мостом крана. Двутавровую балку 4 закрепляют к подкрановой балке на кронштейнах 1. Для крепления кабелей в подвижных каретках применяют разъемные клицы (клицы выбирают в зависимости от количества кабелей). Деревянные клицы следует пропитать горячим льняным маслом. Клицы в накладке зажимают болтами.

Рис. 106. Крепление двутавровой балки к подкрановому пути.
1 ¾ кронштейн; 2 ¾ скоба; 3 ¾ болт; 4 ¾ двутавр для кареток; 5 ¾ каретка; 6 ¾ упор;
7 ¾ трос.
12-30. Для предотвращения обрыва кабеля совместно с ним в каретках следует закрепить специальный трос 7 диаметром не менее 4,8 мм. Длина троса должна быть несколько меньше длины кабеля, чтобы трос а не кабель воспринимал растягивающее усилие.
12-31. При большом числе кабелей (три — пять) в гибком токоподводе клицы скрепляют между собой так, чтобы образовался плоский пакет кабелей.
В середине пролета на пакет (между двумя каретками) рекомендуется надеть клицу, соединив ее тросом с каретками в единую цепочку.
12-32. Длина кабелей между каждой парой кареток не должна превышать 6 м.
12-33. При максимальном сближении кареток нижний конец свисающего кабеля должен находиться на расстоянии не менее 2,5 м от пола и 2 м от пола в малодоступных местах. Между кабелем и кабиной обслуживания должно быть расстояние не менее 100 мм.
12-34. Питающий кабель прикрепляют к бугелю 7 (рис. 107), прокладывают по мосту крана и подсоединяют к вводной соединительной коробке или во вводном блоке станции управления.

Рис. 107. Гибкий трубопровод к крану.
1 ¾ труба; 2 ¾ гибкий кабель; 3 ¾ крепление кабеля на стене; 4 ¾ двутавр для кареток;
5 ¾ каретка; 6 ¾ кронштейн; 7 ¾ бугель на кране.
12-35. После монтажа следует проверить правильность собранной схемы крана путем опробования механизмов без нагрузки.
Пуск механизмов крана производят нажатием на соответствующую кнопку станции управления; остановка автоматическая при освобождении кнопки.
13. ЗАЗЕМЛЕНИЕ
Заземление, или зануление. электроустановок во взрывоопасных зонах всех классов необходимо выполнять в соответствии с требованиями для электроустановок с нормальной средой с учетом нижеприведенных требований.
13-1. Электроустановки надлежит заземлять, или занулять, при всех напряжениях переменного и постоянного тока.
13-2. В качестве заземляющих проводников должны быть использованы проводники, специально предназначенные для этой цели. Использование в качестве заземляющих и нулевых защитных проводников металлических конструкций зданий, стальных труб электрических сетей, металлических оболочек и брони кабелей, тросов и т. п. запрещается.
13-3.В электроустановках напряжением до 1000 В с глухозаземленной нейтралью заземление должно осуществляться:
а) в двух- и трехфазных цепях, а также во всех однофазных цепях с применением специальной третьей или четвертой жилы кабеля или провода;
б) в однофазных осветительных цепях, кроме зоны класса В- I , с использованием нулевого провода;
в) нулевые защитные проводники должны быть проложены совместно с фазными в общей оболочке или трубе;
г) заземление взрывозащищенного электрооборудования (электродвигателей, пускателей, постов управления и т. п.) следует выполнять только присоединением специальной нулевой защитной жилы кабеля или провода к заземляющему контакту во вводном устройстве электрооборудования; при этом выполнение заземления присоединением к магистрали заземления не требуется;
д) заземление корпусов светильников в однофазных осветительных сетях в зонах всех классов, кроме класса В- I , осуществляется путем присоединения третьего провода к нулевому рабочему проводу своей группы в ближайшей ответвительной коробке и к винту заземления внутри светильника;
е) заземление корпусов светильников в зоне класса В- I осуществляется присоединением третьего провода в ближайшей ответвительной коробке к специальному нулевому или защитному проводу или жиле кабеля, проложенным от нулевой шины группового щитка.
