ГОСТ 12248-96, часть 6
|
Форма типа I для приготовления образцов вида "грунт (грунтовый раствор, лед) - материал"
|
Форма типа II для приготовления образцов вида "грунт -грунтовый раствор ( лед, грунт)" |
|
|
|
1 - рабочее кольцо срезного прибора; 2 - материал; 3 - грунт (лед, грунтовый раствор); 3-а - грунт; 4 - опорное кольцо; 5 - крышка формы; 6 - защитное кольцо формы
Рисунок У.1 - Схемы форм для приготовления образцов
ПРИЛОЖЕНИЕ Ф
(рекомендуемое)
ОБРАЗЕЦ ГРАФИЧЕСКОГО ОФОРМЛЕНИЯ РЕЗУЛЬТАТОВ ИСПЫТАНИЯ ГРУНТА МЕТОДОМ ОДНОПЛОСКОСТНОГО СРЕЗА ПО ПОВЕРХНОСТИ СМЕРЗАНИЯ

Рисунок Ф.1
ПРИЛОЖЕНИЕ Х
(рекомендуемое)
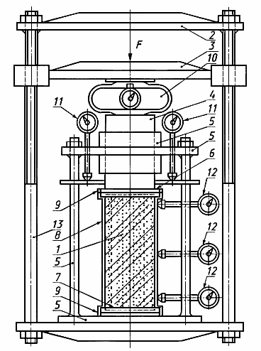
ПРИНЦИПИАЛЬНАЯ СХЕМА УСТАНОВКИ ДЛЯ ИСПЫТАНИЯ
МЕРЗЛОГО ГРУНТА МЕТОДОМ ОДНООСНОГО СЖАТИЯ

1 - образец грунта; 2 - неподвижная платформа; 3 - подвижная платформа; 4 - шток;
5 - направляющее устройство; 6 - верхний штамп; 7 - нижний штамп;
8 - паровлагонепроницаемая оболочка; 9 - резиновое прижимное кольцо; 10 - динамометр;
11 - измеритель продольных деформаций; 12 - измеритель поперечных деформаций;
13 - продольная тяга
Рисунок Х.1
ПРИЛОЖЕНИЕ Ц
(рекомендуемое)
ОБРАЗЕЦ ГРАФИЧЕСКОГО ОФОРМЛЕНИЯ РЕЗУЛЬТАТОВ ИСПЫТАНИЯ
МЕРЗЛОГО ГРУНТА МЕТОДОМ ОДНООСНОГО СЖАТИЯ

Рисунок Ц.1

Рисунок Ц.2
ПРИЛОЖЕНИЕ Ш
(рекомендуемое)
ОПРЕДЕЛЕНИЕ ХАРАКТЕРИСТИК ДЕФОРМИРУЕМОСТИ
МЕРЗЛОГО ГРУНТА ПО РЕЗУЛЬТАТАМ ИСПЫТАНИЯ
МЕТОДОМ ОДНООСНОГО СЖАТИЯ
1 Модуль
линейной деформации
и коэффициент нелинейной деформации
определяют по зависимости, устанавливающей связь между относительными
продольными деформациями
напряжениями
и временем действия нагрузки
![]()
где
- функция напряжений
для времени
их действия, равного 1 ч, которую принимают в виде:
- для модели
линейно деформируемого основания,
- для модели
нелинейно деформируемого основания,
где
и
- параметры функции
- коэффициент
нелинейности по напряжениям.
2 Предельно
длительные значения
и
вычисляют по формулам:
![]()
![]()
где
-
время, равное сроку службы здания или сооружения и принимаемое
= 50 лет =
4,38·10
ч;
- коэффициент
нелинейности во времени.
3 Для
установления зависимости (Ш.1) исходные данные испытаний (6.3.5)
обрабатывают в соответствии с теорией наследственной ползучести.
Используя кривую ползучести (6.3.5.7), последовательно вычисляют ряд
значений
имеющих смысл деформаций, которые развились бы под действием
постоянного напряжения (
= 1, 2, ...), соответствующего напряжению
-й
ступени нагружения, за время
Вычисления производят по формуле
![]()
где
-
полная относительная продольная деформация предшествующей ступени
нагружения в момент времени
вычисленная по этой формуле ранее при
= 0;
- приращение
относительной деформации, определяемое по кривой ползучести (6.3.5.7)
и представляющее собой разность между деформацией, накопленной к
моменту, когда
-я
ступень нагрузки действовала в течение времени
и деформацией, накопленной к началу действия
-й
ступени нагрузки.
Моменты времени
назначают одинаковыми для каждой ступени нагружения с учетом указаний
6.1.4.3.
Результаты
представляют в виде семейства кривых ползучести при постоянных
напряжениях
(рисунок Ш.1).

Рисунок Ш.1
4 Для
определения параметра
и набора значений
полученные значения
представляют в виде семейства параллельных прямых в координатах
(рисунок Ш.2). Далее
и
вычисляют по формулам:
![]()
![]()
где
и
-
параметры, определяемые графически или способом наименьших квадратов
(пункт 8).
5 Для модели
линейно деформируемого основания набор значений
аппроксимируют прямой в координатах
(рисунок Ш.3) и вычисляют значение
по формуле
![]()
где
-
параметр, определяемый графически или способом наименьших квадратов
(пункт 9).
6 Для модели
нелинейно деформируемого основания набор значений
аппроксимируют прямой в координатах
(рисунок
Ш.4) и вычисляют значение
и
по формулам:
![]()
![]()
где
и
- параметры, определяемые графически или способом наименьших
квадратов (пункт 10).
|
|
|
|
Рисунок Ш.2. |
Рисунок Ш.3. |
7 Коэффициент
поперечного расширения
определяют из зависимости, устанавливающей связь между относительными
продольными
и поперечными деформациями
![]()
Для определения
экспериментальные данные (относительные продольные и поперечные
деформации) в конце каждой ступени нагружения, определяемые по пункту
3, представляют в координатах
(рисунок Ш.3). Далее значения
вычисляют по формуле
![]()
где
-
параметр, определяемый графически или способом наименьших квадратов
(пункт 9).

Рисунок Ш.4.
8 Параметры
и
уравнения семейства параллельных прямых
определяют графически (рисунок Ш.2), при этом:
-
в масштабе чертежа равен отрезку, отсекаемому на оси ординат
-й
из семейства параллельных прямых наилучшего приближения к
экспериментальным точкам;
-
в масштабе чертежа равен тангенсу угла наклона семейства параллельных
прямых к оси абсцисс
Способом
наименьших квадратов параметры
и
определяют по формулам:
![]()

где
и
- средние
значения координат экспериментальных точек соответственно
и
- число точек в
-й
выборке;
- число
-х
выборок.
9 Параметр
уравнения прямой, проходящей через начало координат
определяют графически (рисунок Ш.3), при этом
в масштабе чертежа равен тангенсу угла наклона к оси абсцисс
прямой наилучшего приближения к экспериментальным точкам, проходящей
через начало координат.
Способом
наименьших квадратов параметр
определяют по формуле

|
где
|
- координаты экспериментальных точек; |
|
|
- число точек. |
10 Параметры
и
уравнения прямой
определяют графически (рисунок Ш.4), при этом:
в масштабе
чертежа равен отрезку, отсекаемому на оси ординат
прямой наилучшего приближения к экспериментальным точкам;
в масштабе
чертежа равен тангенсу угла наклона прямой к оси абсцисс
Способом
наименьших квадратов параметры
и
определяют по формулам:


где
и
-
то же, что и в пункте 9.
11. Исходные данные и результаты расчета записывают в таблицу Ш.1.
Таблица Ш.1
Левая часть
|
Номер
ступени нагружения
|
Напряжение
|
Время
отсчета деформаций
|
Относительные
продольные деформации
|
Приращение
относительных продольных деформаций
|
Относительные
продольные деформации
|
Относительные
поперечные деформации
|
Приращение
относительных поперечных деформаций
|
Относительные
поперечные деформации
|
Функции
напряжений
|
|
|
|
|
|
|
|
|
|
|
|
Правая часть
|
Коэффициент
нелинейности во времени
|
Параметр
|
Параметр
|
Модуль
линейной деформации
|
Коэффициент
нелинейной деформации
|
Показатель
нелинейности по напряжениям
|
Коэффициент
поперечного расширения
|
Условно-мгновенное
сопротивление
|
Предел
длительной прочности
|
Примечание |
|
|
|
|
|
|
|
|
|
|
|
ПРИЛОЖЕНИЕ Щ
(рекомендуемое)
ОБРАЗЕЦ ГРАФИЧЕСКОГО ОФОРМЛЕНИЯ РЕЗУЛЬТАТОВ
ИСПЫТАНИЯ МЕРЗЛОГО ГРУНТА МЕТОДОМ
КОМПРЕССИОННОГО СЖАТИЯ
|
|
|
|
Рисунок Щ.1 |
Рисунок Щ.2 |
Ключевые слова: грунты, прочность, деформируемость, методы лабораторного определения, строительство




